LEMON Manuals: Even more car manuals for everyone
Home >> Lexus >> 2007 >> SC 430 >> Repair and Diagnosis >> Brakes >> Traction Control >> Brake Control >> Vehicle Stability Control System >> System Diagram

System Diagram

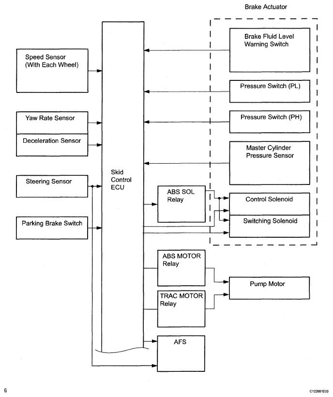
Fig 1: Vehicle Stability Control System - System Diagram (1 Of 2)
G05290575Courtesy of © TOYOTA, LICENSE AGREEMENT TMS1002
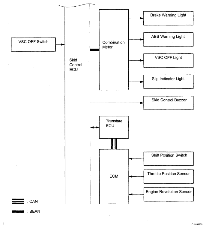
Fig 2: Vehicle Stability Control System - System Diagram (2 Of 2)
G05290576Courtesy of © TOYOTA, LICENSE AGREEMENT TMS1002