LEMON Manuals: Even more car manuals for everyone
Home >> Lexus >> 2007 >> LX 470 >> Repair and Diagnosis (Single Page) >> Accessories & Equipment >> Infotainment >> Navigation >> Navigation System >> Display Signal Circuit between Navigation ECU and Multi-display >> Wiring Diagram

Display Signal Circuit between Navigation ECU and Multi-display: Wiring Diagram

Fig 1: Identifying Display Signal Circuit Between Navigation ECU And Multi-Display Wiring Diagram
G04065395Courtesy of © TOYOTA, LICENSE AGREEMENT TMS1002
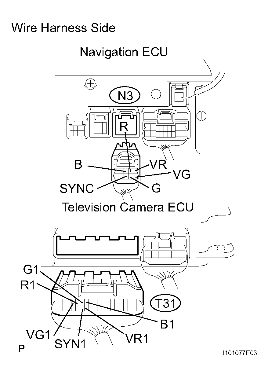
  1. CHECK WIRE HARNESS (NAVIGATION ECU - TELEVISION CAMERA ECU) 
    1. Disconnect the N3 and T31 ECU connectors.
    2. Measure the resistance of the wire harness side connectors.

    Standard resistance 

    TESTER CONNECTION AND SPECIFIED CONDITION CHART

    Tester Connection Specified Condition
    N3-2 (R) - T31-15 (R1) Below 1 Ω
    N3-7 (G) - T31-14 (G1) Below 1 Ω
    N3-3 (B) - T31-13 (B1) Below 1 Ω
    N3-8 (SYNC) - T31-34 (SYN1) Below 1 Ω
    N3-1 (VR) - T31-33 (VR1) Below 1 Ω
    N3-6 (VG) - T31-16 (VG1) Below 1 Ω
    N3-2 (R) - Body ground 10 kΩ or higher
    N3-7 (G) - Body ground 10 kΩ or higher
    N3-3 (B) - Body ground 10 kΩ or higher
    N3-8 (SYNC) - Body ground 10 kΩ or higher
    N3-1 (VR) - Body ground 10 kΩ or higher
    Fig 2: Identifying N3 And T31 ECU Connectors
    G04065396Courtesy of © TOYOTA, LICENSE AGREEMENT TMS1002

    NG: REPAIR OR REPLACE HARNESS AND CONNECTOR 

    OK: Go To Next Step 

  2. CHECK WIRE HARNESS (TELEVISION CAMERA ECU - MULTI-DISPLAY) 
    1. Disconnect the T31 ECU connector.
    2. Disconnect the M6 display connector.
    3. Measure the resistance of the wire harness side connector.

    Standard resistance 

    TESTER CONNECTION AND SPECIFIED CONDITION CHART

    Tester Connection Specified Condition
    T31-10 (R) - M6-24 (R) Below 1 Ω
    T31-11 (G) - M6-25 (G) Below 1 Ω
    T31-12 (B) - M6-26 (B) Below 1 Ω
    T31-31 (SYNC) - M6-27 (SYNC) Below 1 Ω
    T31-32 (VR) - M6-23 (VR) Below 1 Ω
    T31-9 (VG) - M6-28 (VG) Below 1 Ω
    T31-10 (R) - Body ground 10 kΩ or higher
    T31-11 (G) - Body ground 10 kΩ or higher
    T31-12 (B) - Body ground 10 kΩ or higher
    T31-31 (SYNC) - Body ground 10 kΩ or higher
    T31-32 (VR) - Body ground 10 kΩ or higher
    Fig 3: Identifying M6 Display Connector
    G04065397Courtesy of © TOYOTA, LICENSE AGREEMENT TMS1002

    NG: REPAIR OR REPLACE HARNESS AND CONNECTOR 

    OK: PROCEED TO NEXT CIRCUIT INSPECTION SHOWN IN PROBLEM SYMPTOMS TABLE