LEMON Manuals: Even more car manuals for everyone
Home >> Lexus >> 2007 >> LS 460L >> Repair and Diagnosis >> General Information >> Identification >> Introduction >> Repair Instruction >> Initialization

Repair Instruction: Initialization

Procedures necessary when battery terminal is disconnected / reconnected 

PROCEDURES FOR BATTERY TERMINAL DISCONNECTED/RECONNECTED

Necessary Procedures Procedure Details Effects / Inoperative Functions When Necessary Procedures are not Performed Notes
Navigation system (for DVD) initialization After turning the engine switch ON (IG), insert the map disc. Navigation system (for DVD) If the map disc is inside when disconnecting the cable from the battery terminal, this procedure is not necessary
Correction of steering angle neutral point Fully turn the steering wheel to the right and left. Parking guidance function -
Rear curtain position reset operation
  1. Turn the engine switch ON (IG).
  2. Push the front or rear switch's rear door sunshade switch twice.
Rear curtain -
Reset luggage compartment door close position Close the luggage compartment door fully to turn off the courtesy switch. Power trunk lid function If the luggage compartment door is closed when disconnecting the cable from the battery terminal, it is not necessary to reset it
NOTE: After the engine switch is turned off, the HDD navigation system requires approximately 6 minutes to record various types of memory and settings. As a result, after turning the engine switch off, wait 6 minutes or more before disconnecting the cable from the negative (-) battery terminal.

Procedures necessary when ECU or other parts are replaced 

PROCEDURES FOR ECU OR OTHER PARTS REPLACEMENT

Replacement Part Necessary Procedures Effects / Inoperative Functions When Necessary Procedures are not Performed Notes
Automatic transmission assembly
  • Set transmission compensation code
  • Learning by driving (Road test)
  • Reset memory
  • Large shift shock
  • Engine overruns
-
  • Valve body assembly
  • Shift solenoid valve SL1, 2, 3, 4, 5
Learning by driving (Road test)
  • Large shift shock
  • Engine overruns
-
TCM
  • Set transmission compensation code
  • Learning by driving (Road test)
  • Large shift shock
  • Engine overruns
-
  • Engine assembly
  • ECM
  • Reset memory
  • Learning by driving (Road test)
  • Large shift shock
  • Engine overruns
-
  • Suspension control ECU
  • Height control sensor
Vehicle height offset calibration Vehicle height sensor data may be affected due to installation position, or vehicle height recognition may be erroneous May also occur when vehicle height is uneven due to deterioration over time
Tire pressure warning ECU
  1. Register transmitter IDs
  2. Initialize tire pressure warning system
  • When DTC detection conditions of "transmitter ID not received" DTC is met, TPMS indicator blinks for 1 minute, and then illuminates
  • Tire pressure monitoring function
-
Tire pressure warning valve and transmitter
  1. Register transmitter IDs
  2. Initialize tire pressure warning system
  • When DTC detection conditions of "transmitter ID not received" DTC is met, TPMS indicator blinks for 1 minute, and then illuminates
  • Tire pressure monitoring function of replaced wheel
Even if only one wheel is replaced, IDs for all 5 wheels must be registered
Skid control ECU
  • Initialize linear solenoid valve and perform calibration
  • Perform yaw rate and acceleration sensor zero point calibration
  • Brake warning light / yellow (minor malfunction) illumination
  • Brake warning light / red (malfunction)
  • ABS warning light illumination VSC warning display of multi-information display
  • Master warning light illumination
-
Brake actuator
  1. Bleed air
  2. Clear stored value of linear solenoid valve and calibration data
  3. Initialize linear solenoid valve and perform calibration
Brake does not operate properly -
  • Brake pedal stroke sensor
  • Brake pedal
  1. Inspect and adjust brake pedal height
  2. Adjust brake pedal stroke sensor
  3. Clear stored value of linear solenoid valve and calibration data
  4. Initialize linear solenoid valve and perform calibration
  • Brake warning light / yellow (minor malfunction) illumination
  • Brake warning light / red (malfunction)
  • ABS warning light illumination
  • Master warning light illumination
-
Yaw rate and acceleration sensor
  1. Clear zero point calibration data
  2. Perform yaw rate and acceleration sensor zero point calibration
  • Brake warning light / yellow (minor malfunction) illumination
  • Brake warning light / red (malfunction)
  • ABS warning light illumination VSC warning display of multi-information display
  • Master warning light illumination
  • VSC control is prohibited or operation is incorrect
  • VGRS system
-
Electric parking brake ECU
  • Reset memory
  • Acquire tension sensor zero point
Electric parking brake does not operate normally -
Electric parking brake actuator
  • Reset memory
  • Acquire tension sensor zero point
  • Parking brake bedding
  • Electric parking brake does not operate normally
  • Parking brake performance may not be normal
-
  • Rear disc
  • Parking brake shoe
Parking brake bedding Parking brake performance may not be normal -
  • Steering control ECU
  • Steering column
  • Steering intermediate shaft
Actuator angle neutral point calibration and initialization Steering wheel off-center -
  • Object recognition ECU
  • Object recognition camera sensor
Adjust object recognition camera DTC C1A22 or C1A23 is output -
Power steering gear assembly
  • Actuator angle neutral point calibration and initialization
  • Rotation angle sensor value initialization
  • Torque sensor zero point calibration
  • VGRS system calibration procedure
  • Steering wheel off-center
  • Difference in amount of steering assist between left and right
-
Power steering ECU
  • Rotation angle sensor value initialization
  • Torque sensor zero point calibration
  • Steering wheel off-center
  • Difference in amount of steering assist between left and right
-
Occupant classification ECU
  • Perform zero point calibration
  • Registration ECU data
  • Occupant classification system
  • Passenger airbag ON/OFF indicator
  • Airbag system (Front passenger side)
  • Seat belt warning system (Front passenger side)
-
  • ID code box
  • Steering lock ECU
  • ECM
  • Key
  • Certification ECU
Registration
  • Wireless door lock operation
  • Entry operation
  • Engine starting
  • Steering unlock
-
Front millimeter wave radar sensor Adjust front millimeter wave radar sensor DTC C1A11 or C1A14 is output -
Steering angle sensor connector Correction of steering angle neutral point Parking guidance function -
Television camera Television camera optical axis (Camera position setting) Vehicle width extension lines and expected course are deviated -
Parking assist ECU
  • Correction of steering angle neutral point
  • Store left and right maximum steering angle
  • Television camera optical axis (Camera position setting)
  • Vehicle width extension lines and expected course are deviated
  • Parking assist function
-
Mayday ECU
  • Mayday ECU initialization
  • Mayday ECU registration / enrollment
LEXUS link system -
Mayday battery
  • Mayday battery registration
  • Mayday battery confirmation
DTC 6-1 remains output -
Power window regulator motor (All doors) Initialize power window control system
  • AUTO UP / DOWN
  • Jam protection
  • Key-off
When the battery is replaced, it is not necessary to initialize the power window regulator motor
Inner rear view mirror
  • Compass zone setting
  • Compass calibration
Direction is not displayed correctly -
  • Front power seat switch (Seat ECU)
  • Front seat adjuster
  • Position control ECU
  • Rear seat adjuster
Position sensor initialization
  • During manual operation, buzzer sounds
  • Memory function does not operate
  • Interference stop control does not operate normally
  • Linked control does not operate normally
-
  • RR MPX-B1 fuse
  • Luggage closer motor assembly
Reset luggage compartment door close position Power trunk lid function -
  • Rear door ECU LH
  • Rear door ECU RH
Rear curtain position reset operation Rear curtain -
  • Sliding roof drive gear (Sliding roof ECU)
  • Sliding roof housing
  • Sliding roof glass
Initialize sliding roof system
  • Auto operation
  • Jam protection function
  • Sliding roof operation after engine switch is turned off
  • Wireless door lock control function
  • Key-linked operation function (Driver's door only)
  • Entry lock switch-linked operation
-
  1. PERFORM ROAD TEST TO ALLOW TCM TO LEARN 
    CAUTION:
    • Perform the following procedures while strictly observing all traffic laws and speed limits.
    • Do not accelerate or decelerate rapidly.
    1. "Road test" procedure is as follows:
      1. Warm up the engine.
      2. According to the replacement parts, perform the road test shown below.
        ROAD TEST PROCEDURE

        Replacement Parts Road Test
        • Automatic transmission assembly
        • TCM
        • Valve body assembly
        • Shift solenoid valve SL3
        • Engine assembly
        • ECM
        Perform pattern 1 and 2
        Pattern 1:*1 
        With shift lever on D, after gradually accelerating to approx. 50 km/h (31 mph) or more, gradually decelerate to approx. 30 km/h (19 mph)
        Pattern 2:*2 
        With shift lever on S4, after gradually accelerating to approx. 30 km/h (19 mph) or more, gradually decelerate to approx. 10 km/h (6 mph)
        • Shift solenoid valve SL1
        • Shift solenoid valve SL2
        • Shift solenoid valve SL4
        • Shift solenoid valve SL5
        Pattern 1:*1 
        With shift lever on D, after gradually accelerating to approx. 50 km/h (31 mph) or more, gradually decelerate to approx. 30 km/h (19 mph)
        HINT:
        • *1: After gradually accelerating a distance of approximately 130 m (426.4 ft.) for a period of approximately 15 seconds, gradually decelerate a distance of approximately 45 m (147.6 ft.) for a period of approximately 5 seconds.
        • *2: After gradually accelerating a distance of approximately 40 m (131.2 ft.) for a period of approximately 8 seconds, gradually decelerate a distance of approximately 20 m (65.6 ft.) for a period of approximately 4 seconds.
        • When decelerating, apply the brakes as necessary to adjust the vehicle speed.
        Fig 1: Road Test Pattern
        G04948275Courtesy of © TOYOTA, LICENSE AGREEMENT TMS1002

        HINT:

        • *1: The speed, time and distance values are approximate values.
        • *2: After accelerating, the deceleration does not need to be performed immediately.
      3. Repeat until the shift shock and engine speed overrun settles down.
        NOTE: Before repeating tests, stop the vehicle once, and then start moving the vehicle again.
  2. RESET MEMORY 
    NOTE:
    • Perform the RESET MEMORY (AT initialization) when replacing the engine assembly or ECM.
    • The RESET MEMORY can be performed only with the intelligent tester.
    • RESET MEMORY cannot be completed by only reconnecting the cable to the negative (-) battery terminal.

    HINT:

    The TCM memorizes the vehicle conditions when the ECT controls the automatic transmission assembly and engine assembly.

    1. "RESET MEMORY" procedure is as follows:
      1. Turn the engine switch OFF.
      2. Connect the intelligent tester to the CAN VIM. Then connect the CAN VIM to the DLC3.
      3. Turn the engine switch ON (IG).
      4. Turn the intelligent tester ON.
      5. Enter the following menus: DIAGNOSIS / OBD/ MOBD / ECT / RESET MEMORY.
        NOTE: After performing the RESET MEMORY, be sure to perform the ROAD TEST  described previously.
  3. SET TRANSMISSION COMPENSATION CODE INTO TCM  (step  1)
    NOTE:
    • When the automatic transmission is replaced, the transmission compensation code must be input into the TCM (Proceed to step  1).

      After the automatic transmission is reinstalled, the Quick Response (QR) code label will be positioned where the code cannot be read. Therefore, before reinstalling the automatic transmission, record the transmission compensation codes or input them in the intelligent tester.

    • Transmission compensation codes are unique, 60-digit alphanumeric values printed on the QR label. If an incorrect transmission compensation code is input into the TCM, shift shock may occur.
    1. Record the transmission compensation code specified on the QR label.
      Fig 2: Identifying Transmission Compensation Code
      G04948274Courtesy of © TOYOTA, LICENSE AGREEMENT TMS1002

      HINT:

      The transmission compensation code is imprinted on the QR label.

    2. Move the shift lever to the N or P position.
    3. Connect the intelligent tester to the CAN VIM. Then connect the CAN VIM to the DLC3.
    4. Turn the engine switch ON (IG).
      NOTE: Do not start the engine.
    5. Turn the tester on.
    6. Enter the following menus: DIAGNOSIS / OBD/ MOBD / ECT / AT CODE UTILITY.
    7. Select "AT CODE REGIST". (h) Select "SET A/T CODE".
    8. Select "INPUT A/T CODE".
    9. Register the compensation code.
      1. Manually input the transmission compensation code. The code is a 60-digit alphanumeric value imprinted on the QR label.
    10. Check that the compensation code displayed on the screen is correct by comparing it with the 60-digit alphanumeric value on the QR label.
      NOTE: If an incorrect transmission compensation code is input into the TCM, shift shock will occur.

      HINT:

      Input alphabetical letters by operating the keys from 0 to 5 while pressing the * key.

    11. Set the compensation code to the TCM.
  4. TRANSFER TRANSMISSION COMPENSATION CODE  (step  2)
    NOTE:
    • When the TCM is replaced, the existing transmission compensation codes must be input into the new TCM (Proceed to step  2).
    • Transmission compensation codes are 60-digit alphanumeric values imprinted on the QR label. If an incorrect transmission compensation code is input into the TCM, shift shock may occur.

    HINT:

    The following operation is available for use with TCMs that can transmit the registered transmission compensation code to the intelligent tester.

    1. Read the transmission compensation code
      1. Move the shift lever to the N or P position.
      2. Connect the intelligent tester to the CAN VIM. Then connect the CAN VIM to the DLC3.
      3. Turn the engine switch ON (IG).
        NOTE: Do not start the engine.
      4. Turn the tester on.
      5. Enter the menu items in this order: DIAGNOSIS / OBD/MOBD / ECT / AT CODE UTILITY.
      6. Select "AT CODE REGIST".
      7. Select "READ ATT CODE".
        NOTE: Do not use the code specified on the transmission QR label even if the transmission compensation code cannot be read using the intelligent tester. The code printed on an in-service transmission may not match its current characteristics. Replace the TCM with a new one and perform a road test to allow the TCM to learn.
      8. Turn the engine switch OFF.
      9. Replace the TCM.
    2. Set the transmission compensation code
      1. Turn the engine switch ON (IG).
        NOTE: Do not start the engine.
      2. Turn the tester on.
      3. Enter the menu items in this order: DIAGNOSIS / OBD/MOBD / ECT / AT CODE UTILITY.
      4. Select "SET A/T CODE".
      5. Select "SAVED A/T CODE".
      6. Set the compensation code to the TCM.
  5. VEHICLE HEIGHT OFFSET CALIBRATION 
    NOTE:
    • Make sure that the pressure of the tires is normal.
    • Make sure that the vehicle is empty.
    • Make sure that the parking brake is released and that the shift lever is on N.
    1. PERFORM VEHICLE HEIGHT INSPECTION 
      1. Adjust the pressure of the tires.
      2. Stabilize the suspension by releasing the parking brake and bouncing the corners of the vehicle up and down.
      3. Move the shift lever to N and move the vehicle forward and rearward.
      4. Turn the engine switch OFF.
      5. Connect the intelligent tester or Techstream to the DLC3.
      6. Start the engine.
      7. Turn the tester on.
      8. Enter the following menus:
        1. Intelligent tester - Select: DIAGNOSIS / OBD/MOBD / CHASSIS / AIR SUSPENSION / DATA LIST.
        2. Techstream - select: Chassis / Air suspension / Data List.
      9. Press the height control switch and adjust the vehicle height to "HEIGHT HIGH".
      10. Press the height control switch and return the vehicle height to normal.
      11. Using the DATA LIST, confirm that the vehicle height control operation is complete.
        1. Intelligent tester

          AIR SUSPENSION 

          INTELLIGENT TESTER AIR SUSPENSION

          Tester Display Measurement Item/Range Normal Condition Diagnosis Note
          HEIGHT CTRL Vehicle height control condition reading/ ON or OFF ON: Vehicle height control operating
          OFF: Vehicle height control not operating
          -
        2. Techstream

          Air suspension 

          TECHSTREAM AIR SUSPENSIONS

          Tester Display Measurement Item/Range Normal Condition Diagnosis Note
          Height Control Vehicle height control condition reading/ ON or OFF ON: Vehicle height control operating
          OFF: Vehicle height control not operating
          -
      12. Using the intelligent tester or Techstream
        1. Intelligent tester

          Enter the following menus: DIAGNOSIS / OBD/ MOBD / CHASSIS / AIR SUSPENSION / DATA LIST. Then read and write the values for "ADJUST" and "AFTER ADJUST" for each wheel.

          AIR SUSPENSION 

          INTELLIGENT TESTER AIR SUSPENSION

          Tester Display Measurement Item/Range Normal Condition Diagnosis Note
          FR ADJUST Display of vehicle height offset recorded value of front right wheel / min.: -3276.8 mm (-129 in.) max.: 3276.7 mm (129 in) - -
          FL ADJUST Display of vehicle height offset recorded value of front left wheel / min.:-3276.8 mm (-129 in.) max.: 3276.7 mm (129 in.) - -
          RR ADJUST Display of vehicle height offset recorded value of rear right wheel / min.: -3276.8 mm (-129 in.) max.: 3276.7 mm (129 in.) - -
          RL ADJUST Display of vehicle height offset recorded value of rear left wheel / min.:-3276.8 mm (-129 in.) max.: 3276.7 mm (129 in.) - -
          FR AFTER ADJUST Display of after-calibration vehicle height value of front right wheel / min.: -3276.8 mm (-129 in.) max.: 3276.7 mm (129 in.) When vehicle height normal: 0 +/-20 mm (0 +/-0.79 in.)
          When vehicle height is changing: Varies based on vehicle height
          After HEIGHT HIGH adjustment: 20 +/- 20 mm (0.79 +/- 0.79 in.)
          -
          FL AFTER ADJUST Display of after-calibration vehicle height value of front left wheel / min.: -3276.8 mm (-129 in.) max.: 3276.7 mm (129 in.) When vehicle height normal: 0 +/-20 mm (0 +/-0.79 in.)
          When vehicle height is changing: Varies based on vehicle height
          After HEIGHT HIGH adjustment: 20 +/- 20 mm (0.79 +/- 0.79 in.)
          -
          RR AFTER ADJUST Display of after-calibration vehicle height value of rear right wheel / min.: -3276.8 mm (-129 in.) max.: 3276.7 mm (129 in.) When vehicle height normal: 0 +/-20 mm (0 +/-0.79 in.)
          When vehicle height is changing: Varies based on vehicle height
          After HEIGHT HIGH adjustment: 20 +/- 20 mm (0.79 +/- 0.79 in.)
          -
          RL AFTER ADJUST Display of after-calibration vehicle height value of rear left wheel / min.: -3276.8 mm (-129 in.) max.: 3276.7 mm (129 in.) When vehicle height normal: 0 +/-20 mm (0 +/-0.79 in.)
          When vehicle height is changing: Varies based on vehicle height
          After HEIGHT HIGH adjustment: 20 +/- 20 mm (0.79 +/- 0.79 in.)
          -
        2. Techstream

          Enter the following menus: Chassis / Air suspension / Data List /. Then read and write the values for "After Height Adjust" and "Height Adjust" for each wheel.

          Air suspension 

          TECHSTREAM AIR SUSPENSION

          Tester Display Measurement Item/Range Normal Condition Diagnosis Note
          FR Height Adjust Display of vehicle height offset recorded value of front right wheel / min.: -3276.8 mm (-129 in.) max.: 3276.7 mm (129 in.) - -
          FL Height Adjust Display of vehicle height offset recorded value of front left wheel / min.: -3276.8 mm (-129 in.) max.: 3276.7 mm (129 in.) - -
          RR Height Adjust Display of vehicle height offset recorded value of rear right wheel / min.: -3276.8 mm (-129 in.) max.: 3276.7 mm (129 in.) - -
          RL Height Adjust Display of vehicle height offset recorded value of rear left wheel / min.: -3276.8 mm (-129 in.) max.: 3276.7 mm (129 in.) - -
          FR After Height Adjust Display of after-calibration vehicle height value of front right wheel / min.: -3276.8 mm (-129 in.) max.: 3276.7 mm (129 in.) When vehicle height normal: 0 +/-20 mm (0 +/-0.79 in.)
          When vehicle height is changing: Varies based on vehicle height
          After HEIGHT HIGH adjustment: 20 +/- 20 mm (0.79 +/- 0.79 in.)
          -
          FL After Height Adjust Display of after-calibration vehicle height value of front left wheel / min.:-3276.8 mm (-129 in.) max.: 3276.7 mm (129 in.) When vehicle height normal: 0 +/-20 mm (0 +/-0.79 in.)
          When vehicle height is changing: Varies based on vehicle height
          After HEIGHT HIGH adjustment: 20 +/- 20 mm (0.79 +/- 0.79 in.)
          -
          RR After Height Adjust Display of after-calibration vehicle height value of rear right wheel / min.: -3276.8 mm (-129 in.) max.: 3276.7 mm (129 in.) When vehicle height normal: 0 +/-20 mm (0 +/-0.79 in.)
          When vehicle height is changing: Varies based on vehicle height
          After HEIGHT HIGH adjustment: 20 +/- 20 mm (0.79 +/- 0.79 in.)
          -
          RL After Height Adjust Display of after-calibration vehicle height value of rear left wheel / min.: -3276.8 mm (-129 in.) max.: 3276.7 mm (129 in.) When vehicle height normal: 0 +/-20 mm (0 +/-0.79 in.)
          When vehicle height is changing: Varies based on vehicle height
          After HEIGHT HIGH adjustment: 20 +/- 20 mm (0.79 +/- 0.79 in.)
          -
      13. Turn the engine switch OFF.
      14. Perform the vehicle height inspection.

        Standard vehicle height 

        STANDARD VEHICLE HEIGHT

        Vehicle Specification Front (Measured height A minus B) Rear (Measured height D minus C)
        18 in. Wheel 98 mm (3.86 in.) 93 mm (3.66 in.)
        19 in. Wheel 98 mm (3.86 in.) 93 mm (3.66 in.)
        Fig 3: Inspecting Vehicle Height Measurements
        G04944111Courtesy of © TOYOTA, LICENSE AGREEMENT TMS1002

        Measuring points: 

        1. Ground clearance of front wheel center 
        2. Ground clearance of front suspension lower No. 2 arm assembly front bush installation bolt head rear 
        3. Ground clearance of protrusion of rear suspension arm attachment (lower No. 2 installation cam bolt) 
        4. Ground clearance of rear wheel center 
    2. PERFORM VEHICLE HEIGHT OFFSET CALIBRATION 
      NOTE: The possible vehicle height automatic adjustment value is 20 mm (0.78 in.). If the "Height Adjust" value + (Standard value - Measurement value - "After Height Adjust" value) is 20 mm (0.78 in.) or more, first perform the vehicle height adjustment (height control link adjustment).
      1. Turn the engine switch OFF.
      2. Connect the intelligent tester or Techstream to the DLC3.
      3. Turn the engine switch ON (IG).
      4. Turn the tester on.
      5. Enter the following menus:
        1. Intelligent tester-Select: DIAGNOSIS/OBD/MOBD / CHASSIS / AIR SUSPENSION / HEIGHT OFFSET.
        2. Techstream - Select: Chassis / Air suspension / Utility / Height Offset.
      6. For each wheel, follow the instructions on the tester screen and input the input value to complete the vehicle height offset calibration.

        HINT:

        Input value = "Height Adjust" value + (Standard value - Measurement value - "After Height Adjust" value)

      7. Start the engine.
      8. In the DATA LIST, enter "HEIGHT CTRL" or "Height Control".
      9. Press the height control switch and adjust the vehicle height to "HEIGHT HIGH".
      10. Press the height control switch and return the vehicle height to normal.
      11. Using the DATA LIST, confirm that the vehicle height control operation is complete.
        1. Intelligent tester

          AIR SUSPENSION 

          INTELLIGENT TESTER AIR SUSPENSION

          Tester Display Measurement Item/Range Normal Condition Diagnosis Note
          HEIGHT CTRL Vehicle height control condition reading/ ON or OFF ON: Vehicle height control operating
          OFF: Vehicle height control not operating
          -
        2. Techstream

          Air suspension 

          TECHSTREAM AIR SUSPENSION

          Tester Display Measurement Item/Range Normal Condition Diagnosis Note
          Height Control Vehicle height control condition reading/ ON or OFF ON: Vehicle height control operating
          OFF: Vehicle height control not operating
          -
      12. Turn the engine switch OFF.
      13. Perform the vehicle height inspection. Check that the result is within +/-14.3 mm (+/-0.56 in.) of the standard value.

    NEXT: END 

  6. DESCRIPTION OF CODE REGISTRATION 

    It is necessary to register the transmitter ID in the tire pressure warning ECU when replacing the tire pressure warning valve and transmitter and/or tire pressure warning ECU.

    Prepare all transmitter ID data before starting registration.

    1. Before registration
      1. In case of tire pressure warning ECU replacement.
        • Read the registered transmitter IDs that are stored in the old ECU using the intelligent tester or Techstream and note them down.
        • If reading stored transmitter IDs is impossible due to malfunctions of components such as the tire pressure warning antenna and receiver, remove the tires from the wheels and check the IDs located on the tire pressure warning valves and transmitters.
      2. In case of tire pressure warning valve and transmitter replacement.
        • Take a note of the 7 digit number (transmitter ID) written on the tire pressure warning valve and transmitter.
          Fig 4: Identifying Transmitter ID
          G04944270Courtesy of © TOYOTA, LICENSE AGREEMENT TMS1002
          NOTE: The transmitter ID is written on the tire pressure warning valve and transmitter. It will be unable to be read after installing the tire pressure warning valve and transmitter on the tire and wheel. Therefore, take a note of the transmitter ID before installing the tire pressure warning valve and transmitter.
  7. REGISTER TRANSMITTER ID (USING INTELLIGENT TESTER) 
    1. Set the air pressure of all wheels to the specified value.
    2. Turn the engine switch OFF.
    3. Connect the intelligent tester to the DLC3.
    4. Turn the engine switch ON (IG) and the tester ON.
    5. Enter the menu items in this order: DIAGNOSIS / OBD/MOBD / CHASSIS / TIRE PRESSURE. Then, select the "UTILITY" item, and press "ENTER" to move to next screen.
      Fig 5: OBD Display - UTILITY
      G04944277Courtesy of © TOYOTA, LICENSE AGREEMENT TMS1002
    6. Select "REGIST TIRE SET" item. Then, press "ENTER".
      Fig 6: OBD Display - REGIST TIRE SET
      G04947376Courtesy of © TOYOTA, LICENSE AGREEMENT TMS1002
    7. "UTILITY REGIST TIRE SET" screen is displayed. Then, press "YES".
    8. "UTILITY REGIST TIRE SET" screen is displayed. Then, press "ENTER".
      Fig 7: OBD Display - UTILITY REGIST TIRE SET
      G04944279Courtesy of © TOYOTA, LICENSE AGREEMENT TMS1002
    9. Input the IDs (ID1 to ID5) using the tester and transmit them to the tire pressure warning ECU. Then, press "ENTER".

      HINT:

      If this step is not completed within 300 seconds, this mode will be canceled.

    10. "THE REGISTRATION SUCCEEDED" screen is displayed. Then, press "ENTER".

      HINT:

      • The previously registered IDs will be deleted from the memory when the registration is completed.
      • When the system is in initialization mode after the tire pressure warning reset switch has been operated, the registration is disabled until the initialization process is canceled or completed.
    11. Confirmation of transmitter ID registration.
      1. Enter the menu items in this order: DIAGNOSIS / OBD/MOBD / CHASSIS / TIRE PRESSURE / DATA LIST.
      2. Read the "TIRE PRESS" values.
      3. Confirm that the data of tire pressure of all tires (including the spare tire) are displayed on the tester screen.
        NOTE:
        • It may take up to about 2 or 3 minutes to update the tire pressure data. If the values are not displayed after a few minutes, perform troubleshooting according to the inspection procedure for DTCs C2121/21 to C2125/25.
        • If the IDs have not been registered, DTC C2171/71 is set in the tire pressure warning ECU after 3 minutes or more.
        • If normal pressure values are displayed, the IDs have been registered correctly.
        • If the tire pressure values are not displayed after a few minutes, the IDs may be incorrect or the system may have a malfunction.
        • The tire pressure information reception condition can also be confirmed through the multi-information display's tire pressure display screen.
  8. REGISTER TRANSMITTER ID (USING TECHSTREAM) 
    1. Set the air pressure of all wheels to the specified value.
    2. Turn the engine switch OFF.
    3. Connect Techstream to the DLC3.
    4. Turn the engine switch ON (IG) and the tester on.
    5. Enter the menu items in this order: Chassis / Tire Pressure Monitor / Utility / ID Registration.
    6. Perform the following procedures displayed on the tester.
    7. Confirmation of transmitter ID registration.
      1. Enter the menu items in this order: Chassis / Tire Pressure Monitor / Data List.
      2. Read the "ID Tire Inflation Pressure" values.
      3. Confirm that the data of tire pressure of all tires (including the spare tire) are displayed on the tester screen.
        NOTE:
        • It may take up to about 2 or 3 minutes to update the tire pressure data. If the values are not displayed after a few minutes, perform troubleshooting according to the inspection procedure for DTCs C2121/21 to C2125/25.
        • If the IDs have not been registered, DTC C2171/71 is set in the tire pressure warning ECU after 3 minutes or more.
        • If normal pressure values are displayed, the IDs have been registered correctly.
        • If the tire pressure values are not displayed after a few minutes, the IDs may be incorrect or the system may have a malfunction.
        • The tire pressure information reception condition can also be confirmed through the multi-information display's tire pressure display screen.
  9. INITIALIZATION PROCEDURE 
    1. Turn the engine switch ON (IG).
    2. Press and hold the tire pressure warning reset switch for 3 seconds or more so that the tire pressure warning light blinks 3 times.
      Fig 8: Identifying Pressure Warning Light
      G04944280Courtesy of © TOYOTA, LICENSE AGREEMENT TMS1002
    3. Turn the engine switch OFF.
    4. Connect the intelligent tester or Techstream to the DLC3.
    5. Turn the engine switch ON (IG) and turn the tester ON.
    6. Enter the following menus:
      1. Intelligent tester - Select: DIAGNOSIS / OBD/ MOBD / CHASSIS / TIRE PRESSURE / DATA LIST.
      2. Techstream - Select: Chassis / Tire Pressure Monitor / Data List.
    7. Check that the initialization has been completed.
    8. Confirm that the tire pressure data of all tires are displayed on the tester screen.
      NOTE:
      • The initialization is normally completed within 2 to 3 minutes.
      • If the initialization has not been completed successfully, DTC C2177/77 is set after a vehicle speed of 8 km/h (5 mph) or more continues for 20 minutes or more.
      • The initialization can be terminated by connecting terminals 13 (TC) and 4 (CG) of the DLC3 connector.
        Fig 9: Identifying Terminals 13 (TC) And 4 (CG) Of DLC3 Connector
        G04947379Courtesy of © TOYOTA, LICENSE AGREEMENT TMS1002
      1. Intelligent tester

        TIRE PRESSURE 

        INTELLIGENT TESTER TIRE PRESSURE

        Tester Display Measurement Item/Range Normal Condition Diagnostic Note
        TIREPRESS1 ID1 tire inflation pressure / min.: -100 kPa (-1 kgf/cm2 , -14 psi) max.: 537.5 kPa (5.4 kgf/cm2 , 78 psi) Actual tire inflation pressure If-100 kPa (-1 kgf/cm2 , -14 psi) is displayed, the data has not been received.*
        TIREPRESS2 ID2 tire inflation pressure / min.: -100 kPa (-1 kgf/cm2 , -14 psi) max.: 537.5 kPa (5.4 kgf/cm2 , 78 psi) Actual tire inflation pressure If-100 kPa (-1 kgf/cm2 , -14 psi) is displayed, the data has not been received.*
        TIREPRESS3 ID3 tire inflation pressure / min.: -100 kPa (-1 kgf/cm2 , -14 psi) max.: 537.5 kPa (5.4 kgf/cm2 , 78 psi) Actual tire inflation pressure If-100 kPa (-1 kgf/cm2 , -14 psi) is displayed, the data has not been received.*
        TIREPRESS4 ID4 tire inflation pressure / min.: -100 kPa (-1 kgf/cm2 , -14 psi) max.: 537.5 kPa (5.4 kgf/cm2 , 78 psi) Actual tire inflation pressure If-100 kPa (-1 kgf/cm2 , -14 psi) is displayed, the data has not been received.*
        TIREPRESS5 ID5 tire inflation pressure / min.: -100 kPa (-1 kgf/cm2 , -14 psi) max.: 537.5 kPa (5.4 kgf/cm2 , 78 psi) Actual tire inflation pressure If-100 kPa (-1 kgf/cm2 , -14 psi) is displayed, the data has not been received.*

        Techstream

        Tire Pressure Monitor 

        TECHSTREAM TIRE PRESSURE MONITOR

        Tester Display Measurement Item/Range Normal Condition Diagnostic Note
        ID1 Tire Inflation Pressure ID1 tire inflation pressure / min.: -100 kPa (-1 kgf/cm2 , -14 psi) max.: 537.5 kPa (5.4 kgf/cm2 , 78 psi) Actual tire inflation pressure If -100 kPa (-1 kgf/cm2 , -14 psi) is displayed, the data has not been received.*
        ID2 Tire Inflation Pressure ID2 tire inflation pressure / min.: -100 kPa (-1 kgf/cm2 , -14 psi) max.: 537.5 kPa (5.4 kgf/cm2 , 78 psi) Actual tire inflation pressure If-100 kPa (-1 kgf/cm2 , -14 psi) is displayed, the data has not been received.*
        ID3 Tire Inflation Pressure ID3 tire inflation pressure / min.: -100 kPa (-1 kgf/cm2 , -14 psi) max.: 537.5 kPa (5.4 kgf/cm2 , 78 psi) Actual tire inflation pressure If-100 kPa (-1 kgf/cm2 , -14 psi) is displayed, the data has not been received.*
        ID4 Tire Inflation Pressure ID4 tire inflation pressure / min.: -100 kPa (-1 kgf/cm2 , -14 psi) max.: 537.5 kPa (5.4 kgf/cm2 , 78 psi) Actual tire inflation pressure If-100 kPa (-1 kgf/cm2 , -14 psi) is displayed, the data has not been received.*
        ID5 Tire Inflation Pressure ID5 tire inflation pressure / min.: -100 kPa (-1 kgf/cm2 , -14 psi) max.: 537.5 kPa (5.4 kgf/cm2 , 78 psi) Actual tire inflation pressure If -100 kPa (-1 kgf/cm2 , -14 psi) is displayed, the data has not been received.*
        HINT:
        • The initialization is complete when the DATA LIST "TIREPRESS" or "ID Tire Inflation Pressure" display shows the correct pressures.
        • *: It may take about 2 or 3 minutes until the values are displayed. If the values are not displayed after a few minutes, perform troubleshooting according to the inspection procedure for DTCs C2121/21 to C2125/25.
  10. INITIALIZATION PROCEDURE (MULTI-INFORMATION DISPLAY) 
    1. Turn the engine switch ON (IG).
    2. Press and hold the tire pressure warning reset switch for 3 seconds or more so that the tire pressure warning light blinks 3 times.
      Fig 10: Identifying Tire Pressure Warning Light With Output Pattern
      G04944280Courtesy of © TOYOTA, LICENSE AGREEMENT TMS1002

      HINT:

      • The initialization can be confirmed through the multi-information display.
        Fig 11: Multi-Information Display Screen Flow
        G04944283Courtesy of © TOYOTA, LICENSE AGREEMENT TMS1002
      • The order in which the data is received is random.
      • If the signals from all the wheels are received, the initialization is complete.
      • It may take about 2 or 3 minutes until the values are displayed. If the values are not displayed after a few minutes, perform troubleshooting according to the inspection procedure for DTCs C2121/21 to C2125/25.
        NOTE:
        • If the initialization has not been completed successfully, DTC C2177/77 is set after a vehicle speed of 8 km/h (5 mph) or more continues for 20 minutes or more.
        • The initialization can be terminated by connecting terminals 13 (TC) and 4 (CG) of the DLC3 connector.
          Fig 12: Identifying Terminals 13 (TC) And 4 (CG) Of DLC3 Connector
          G04947379Courtesy of © TOYOTA, LICENSE AGREEMENT TMS1002
  11. CLEAR STORED VALUE OF INITIALIZATION OF LINEAR SOLENOID VALVE AND CALIBRATION (WHEN USING INTELLIGENT TESTER OR TECHSTREAM) 
    1. Connect the intelligent tester or Techstream to the DLC3.
    2. Move the shift lever to the P position.
    3. Turn the engine switch ON (IG) with the brake pedal released.
    4. Clear the stored value of initialization of linear solenoid valve and calibration following the screen.

      HINT:

      Refer to the intelligent tester or Techstream operator's service information for further details.

  12. PERFORM INITIALIZATION OF LINEAR SOLENOID VALVE AND CALIBRATION (WHEN USING INTELLIGENT TESTER OR TECHSTREAM) 
    1. Connect the intelligent tester or Techstream (with CAN VIM) to the DLC3.
    2. Move the shift lever to the P position.
    3. Turn the engine switch ON (IG) with the brake pedal released.
      NOTE:
      • If the linear solenoid valve offset learning is performed without turning the engine switch on (IG), the learning process may not be completed properly because of insufficient battery voltage.
      • When the linear solenoid valve offset learning is interrupted, or the learning process is performed with the shift lever not in the P position, DTC C1345/66 will be stored.
    4. Set the intelligent tester or Techstream to Test Mode (select "ABS/VSC/TRAC", "Utility").

      HINT:

      Refer to the intelligent tester or Techstream operator's service information for further details.

    5. Leave the vehicle stationary without depressing the brake pedal for 1 or 2 minutes.
    6. Check that the interval between blinks of the brake warning light / yellow (minor malfunction) changes from 1 second to 0.25 second.
      Fig 13: Brake Control Warning Light Blinking Pattern
      G04949562Courtesy of © TOYOTA, LICENSE AGREEMENT TMS1002

      HINT:

      • The time needed to complete initialization of linear solenoid valve and calibration varies depending on battery voltage.
      • The brake warning light / yellow (minor malfunction) blinks at 1 second intervals during the initialization of linear solenoid valve and calibration. After it is complete, the brake warning light / yellow (minor malfunction) changes to the Test Mode display, and blinks at 0.25 second intervals.
    7. When the brake warning light / yellow (minor malfunction) changes to the Test Mode display, check that DTC C1345/66, which indicates trouble with stroke sensor zero point learning, is not output.
    8. Enter the normal mode from the Test Mode following the intelligent tester or Techstream prompts.

      HINT:

      Refer to the intelligent tester or Techstream operator's service information for further details.

  13. CLEAR STORED VALUE OF INITIALIZATION OF LINEAR SOLENOID VALVE AND CALIBRATION (WHEN USING SST CHECK WIRE) 
    1. Move the shift lever to the P position.
    2. Turn the engine switch ON (IG) with the brake pedal released.
    3. Using SST, connect and disconnect terminals 12 (TS) and 4 (CG) of the DLC3 4 times or more within 8 seconds.

      SST 09843-18040 

      Fig 14: Identifying Terminals 12 (TS) And 4 (CG) Of DLC3
      G04944107Courtesy of © TOYOTA, LICENSE AGREEMENT TMS1002
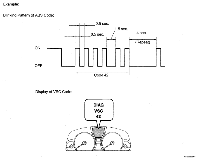
    4. Check that no codes other than ABS code 42, VSC code 45 and electronically controlled brake system code 48, 66, or 95 are stored in the diagnostic system.
      Fig 15: ABS Code Blinking Pattern
      G04949564Courtesy of © TOYOTA, LICENSE AGREEMENT TMS1002

      HINT:

      The ABS warning light and multi-information display do not indicate the normal system code.

  14. PERFORM INITIALIZATION OF LINEAR SOLENOID VALVE AND CALIBRATION (WHEN USING SST CHECK WIRE) 
    1. Turn the engine switch OFF.
    2. Using SST, connect terminals 12 (TS) and 4 (CG) of the DLC3.

      SST 09843-18040 

      Fig 16: Identifying Terminals 12 (TS) And 4 (CG) Of DLC3
      G04944107Courtesy of © TOYOTA, LICENSE AGREEMENT TMS1002
    3. Move the shift lever to the P position.
    4. Turn the engine switch ON (IG) with the brake pedal released.
      NOTE:
      • If the linear solenoid valve offset learning is performed without turning the engine switch on (IG), the learning process may not be completed properly because of insufficient battery voltage.
      • When the linear solenoid valve offset learning is interrupted, or the learning process is performed with the shift lever not in the P position, DTC C1345/66 will be stored.
    5. Leave the vehicle stationary without depressing the brake pedal for 1 or 2 minutes.
    6. Check that the interval between blinks of the brake warning light / yellow (minor malfunction) changes from 1 second to 0.25 seconds.

      HINT:

      • The time needed to complete initialization of linear solenoid valve and calibration varies depending on the battery voltage.
      • The brake warning light / yellow (minor malfunction) blinks at 1 second intervals during the initialization of linear solenoid valve and calibration. After it is complete, the brake warning light / yellow (minor malfunction) changes to the Test Mode display, and blinks at 0.25 second intervals.
      Fig 17: Brake Control Warning Light Blinking Pattern
      G04949562Courtesy of © TOYOTA, LICENSE AGREEMENT TMS1002
    7. When the brake warning light / yellow (minor malfunction) changes to the Test Mode display, check that DTC C1345/66, which indicates trouble with stroke sensor zero point learning, is not output.
    8. Turn the engine switch off and disconnect SST from the DLC3.
  15. CLEAR ZERO POINT CALIBRATION (WHEN USING INTELLIGENT TESTER OR TECHSTREAM) 
    1. Connect the intelligent tester or Techstream to the DLC3.
    2. Turn the engine switch ON (IG).
    3. Operate the intelligent tester or Techstream to erase the codes (select "Reset Memory").

      HINT:

      Refer to the intelligent tester or Techstream operator's manual for further details.

  16. PERFORM ZERO POINT CALIBRATION OF YAW RATE AND ACCELERATION SENSOR (WHEN USING INTELLIGENT TESTER OR TECHSTREAM) 
    NOTE:
    • While obtaining the zero point, do not vibrate the vehicle by tilting, moving or shaking it. Keep it in a stationary condition and do not start the engine.
    • Choose a level surface with an inclination of less than 1°.
    1. Procedures for Test Mode.
      1. Ensure that the steering wheel is centered, move the shift lever to the P position, and apply the parking brake.
        NOTE: DTC C1210/36 and C1336/98 will be recorded if the shift lever is not in the P position.
      2. Connect the intelligent tester or Techstream to the DLC3.
        Fig 18: Connecting Intelligent Tester Or Techstream To DLC3
        G04949567Courtesy of © TOYOTA, LICENSE AGREEMENT TMS1002
      3. Turn the engine switch ON (IG).
      4. Set the intelligent tester or Techstream to Test Mode (select "Test Mode").

        HINT:

        Refer to the intelligent tester or Techstream operator's manual for further details.

    2. Obtain the zero point of the yaw rate and acceleration sensor.
      1. Keep the vehicle stationary on a level surface for 2 seconds or longer.
      2. Check that the ABS warning light and brake warning light / yellow (minor malfunction) blink and "VSC TEST" is indicated on the multi-information display (Test Mode).
        Fig 19: Blinking Pattern (Test Mode) With VSC TEST Display
        G04949568Courtesy of © TOYOTA, LICENSE AGREEMENT TMS1002

        HINT:

        • If the ABS warning light and brake warning light / yellow (minor malfunction) do not blink and "VSC TEST" is not indicated on the multi-information display, perform zero point calibration again.
        • The zero point calibration is performed only once after the system enters the Test Mode.
        • Calibration cannot be performed again until the stored data is cleared.
    3. Turn the engine switch off and disconnect the intelligent tester or Techstream.
  17. CLEAR ZERO POINT CALIBRATION (WHEN USING SST CHECK WIRE) 
    1. Turn the engine switch ON (IG).
      Fig 20: Identifying Terminals 12 (TS) And 4 (CG) Of DLC3
      G04944107Courtesy of © TOYOTA, LICENSE AGREEMENT TMS1002
    2. Using SST, connect and disconnect terminals 12 (TS) and 4 (CG) of the DLC3 4 times or more within 8 seconds.

      SST 09843-18040 

    3. Check that no codes other than ABS code 42, VSC code 45 and electronically controlled brake system code 48, 66, or 95 are stored in the diagnostic system.
      Fig 21: Blinking Pattern Of ABS Code With Display Of VSC Code
      G04949564Courtesy of © TOYOTA, LICENSE AGREEMENT TMS1002

      HINT:

      The ABS warning light and multi-information display do not indicate the normal system code.

  18. PERFORM ZERO POINT CALIBRATION OF YAW RATE AND ACCELERATION SENSOR (WHEN USING SST CHECK WIRE) 
    NOTE:
    • While obtaining the zero point, do not vibrate the vehicle by tilting, moving or shaking. Keep it in a stationary condition and do not start the engine.
    • Choose a level surface with an inclination of less than 1°.
    1. Procedures for Test Mode.
      1. Turn the engine switch OFF.
      2. Using SST, connect terminals 12 (TS) and 4 (CG) of the DLC3.

        SST 09843-18040 

        Fig 22: Identifying Terminals 12 (TS) And 4 (CG) Of DLC3
        G04944107Courtesy of © TOYOTA, LICENSE AGREEMENT TMS1002
      3. Check that the steering wheel is in the centered position and move the shift lever to the P position.
        NOTE: DTC C1210/36 and C1336/98 will be recorded if the shift lever is not in the P position.
    2. Obtain the zero point of the yaw rate and acceleration sensor.
      1. Turn the engine switch ON (IG).
      2. Keep the vehicle in a stationary condition on a level surface for 2 seconds or more.
      3. Check that the ABS warning light and brake warning light / yellow (minor malfunction) blink and "VSC TEST" is indicated on the multi-information display (Test Mode).
        Fig 23: Blinking Pattern (Test Mode) With VSC TEST Display
        G04949568Courtesy of © TOYOTA, LICENSE AGREEMENT TMS1002

        HINT:

        • If the ABS warning light and brake warning light / yellow (minor malfunction) do not blink and "VSC TEST" is not indicated on the multi-information display, perform zero point calibration again.
        • The zero point calibration is performed only once after the system enters the Test Mode.
        • Calibration cannot be performed again until the stored data is cleared.
    3. Turn the engine switch off and disconnect SST from the DLC3.
  19. DISCONNECT BRAKE ACCUMULATOR PUMP CONNECTORS 
    NOTE: If the brake accumulator pump operates while air remains inside the No. 2 brake actuator hose, air will enter the brake accumulator pump, resulting in difficulty in bleeding. Keep the 2 brake accumulator pump connectors disconnected before bleeding.
    1. Disconnect the 2 brake accumulator pump connectors.
      Fig 24: Locating Brake Accumulator Pump Connector
      G04949820Courtesy of © TOYOTA, LICENSE AGREEMENT TMS1002
  20. FILL RESERVOIR WITH BRAKE FLUID 
    NOTE:
    • As brake fluid may overflow when bleeding air, do not place the fluid can on the reservoir filler opening.
    • If brake fluid leaks onto any painted surface, clean it off completely.
    1. Add brake fluid into the reservoir.

      Fluid: 

      SAE J1703 or FMVSS No. 116 DOT 3 

      Fig 25: Adding Brake Fluid Into Reservoir
      G04949821Courtesy of © TOYOTA, LICENSE AGREEMENT TMS1002
  21. DISABLE BRAKE CONTROL 

    HINT:

    Using the intelligent tester or Techstream to disable brake control causes the master pressure cut solenoid to turn OFF and the line from the master cylinder to the front disc brake caliper to open.

    1. Check that the parking brake is set.
    2. Connect the intelligent tester or Techstream to the DLC3 with the engine switch OFF.
    3. Turn the engine switch ON (IG).
      NOTE: Do not start the engine.
    4. Turn the intelligent tester or Techstream on and select "DIAGNOSTIC MENU"→"ABS/ VSC"→"ELECTRONICALLY CONTROLLED BRAKE SYSTEM UTILITY"→"ELECTRONICALLY CONTROLLED BRAKE SYSTEM INVALID" on the intelligent tester or Techstream.
  22. BLEED AIR FROM FRONT BRAKE SYSTEM 

    HINT:

    After replacing the brake master cylinder with simulator assembly, perform air bleeding on it (same as for common master cylinders) so that bleeding air from the front brake system is easier.

    NOTE:
    • Bleed air from the wheel furthest from the master cylinder.
    • Repeat the bleeding procedures until all the air in the fluid is completely bled out.
    1. Connect a vinyl tube to the bleeder plug on the front disc brake caliper LH and RH.
      Fig 26: Bleeding Air From Front Brake System (1 Of 2)
      G04949815Courtesy of © TOYOTA, LICENSE AGREEMENT TMS1002
    2. Depress the brake pedal several times, then loosen the bleeder plug with the pedal depressed.
    3. When fluid stops coming out, temporarily tighten the bleeder plug, then release the brake pedal.
      Fig 27: Bleeding Air From Front Brake System (2 Of 2)
      G04949816Courtesy of © TOYOTA, LICENSE AGREEMENT TMS1002
    4. Repeat the above procedures until all the air in the fluid is completely bled out.
    5. Tighten the bleeder plug.

      Torque: 11 N*m (110 kgf*cm, 8 ft.*lbf) 

  23. CANCEL DISABLE BRAKE CONTROL 
    1. Cancel "DISABLE BRAKE CONTROL" on the intelligent tester or Techstream.
  24. CONNECT BRAKE ACCUMULATOR PUMP CONNECTORS 
    1. Turn the engine switch OFF.
    2. Connect the 2 brake accumulator pump connectors.
    3. Turn the engine switch ON (IG).
      Fig 28: Locating Brake Accumulator Pump Connector
      G04949820Courtesy of © TOYOTA, LICENSE AGREEMENT TMS1002
  25. BLEED AIR FROM PUMP SUCTION SYSTEM (RR) 

    HINT:

    Loosening the rear disc brake caliper's RH bleeder plug and using the intelligent tester or Techstream to select "BLEED PUMP SUCTION SYSTEM (RR)" causes the pump motor and solenoid to operate and pressurize the rear brake line.

    1. Check that the parking brake is set.
    2. Connect the intelligent tester or Techstream to the DLC3 with the engine switch OFF.
    3. Turn the engine switch ON (IG).
      NOTE: Do not start the engine.
    4. Connect a vinyl tube to the bleeder plug on the rear disc brake caliper RH.
    5. Loosen the bleeder plug.
    6. Turn the intelligent tester or Techstream on and select "DIAGNOSTIC MENU"→"ABS/ VSC"→"ELECTRONICALLY CONTROLLED BRAKE SYSTEM UTILITT"→"BLEED PUMP SUCTION SYSTEM (RR)" on the intelligent tester or Techstream.
      NOTE: Do not depress the brake pedal.

      HINT:

      The solenoid operates for approximately 30 seconds.

    7. . Tighten the bleeder plug.

      Torque: 11 N*m (110 kgf*cm, 8 ft.*lbf) 

  26. DISABLE BRAKE CONTROL 
    1. Turn the intelligent tester or Techstream on and select "DIAGNOSTIC MENU"→"ABS/ VSC"→"ELECTRONICALLY CONTROLLED BRAKE SYSTEM UTILITY"→"ELECTRONICALLY CONTROLLED BRAKE SYSTEM INVALID" on the intelligent tester or Techstream.
  27. BLEED AIR FROM REAR BRAKE SYSTEM 
    1. Connect a vinyl tube to the bleeder plug on the rear disc brake caliper LH and RH.
      Fig 29: Bleeding Air From Rear Brake System (1 Of 2)
      G04949817Courtesy of © TOYOTA, LICENSE AGREEMENT TMS1002
    2. With the brake pedal depressed, loosen the bleeder plug.
      NOTE: Keep the fluid inside the reservoir above the MIN line by replenishing.

      HINT:

      • Depress and hold the brake pedal.
      • After the solenoid operates for approximately 30 seconds, release the brake pedal to stop the solenoid.
      • Repeat the above procedures until air is completely bled from the rear brake system.
      • The brake control warning light comes on and the buzzer sounds while bleeding, but they do not indicate a malfunction.
    3. Tighten the bleeder plug after bleeding.

      Torque: 11 N*m (110 kgf*cm, 8 ft.*lbf) 

      HINT:

      The fluid amount adjustment is easier to perform if fuel bleeding is completed with the brake fluid reservoir's fluid level at approximately 5 mm (0.20 in.) below the MAX level.

      Fig 30: Bleeding Air From Rear Brake System (2 Of 2)
      G04949818Courtesy of © TOYOTA, LICENSE AGREEMENT TMS1002
  28. CANCEL DISABLE BRAKE CONTROL 
    1. Cancel "DISABLE BRAKE CONTROL" on the intelligent tester or Techstream.
  29. PERFORM ACCUMULATOR ZERO DOWN 
    1. Connect the intelligent tester or Techstream to the DLC3 with the engine switch off.
    2. Perform the accumulator pressure zero down as follows:
      1. Check that the parking brake is set, and turn the engine switch ON (IG).
      2. Turn the intelligent tester or Techstream on and select "DIAGNOSTIC MENU" → "ABS/VSC" → "ELECTRONICALLY CONTROLLED BRAKE SYSTEM UTILITY" → "ZERO DOWN" on the intelligent tester or Techstream.

        HINT:

        Using the intelligent tester or Techstream to perform accumulator zero down causes the pressurized fluid in the actuator's accumulator to be returned to the brake fluid reservoir.

      3. When the buzzer sounds, turn the engine switch OFF.
    3. Perform the accumulator fluid circulation as follows:
      1. Perform the accumulator pressure zero down 5 times repeatedly.

        HINT:

        • Accumulator pressure is released and accumulated repeatedly, which circulates the fluid inside the accumulator every time accumulator zero down (accumulator depressurizing) is performed.
        • The pump motor rotates and accumulator is pressurized every time the engine switch is turned from OFF to ON (IG).
  30. CHECK AND ADJUST BRAKE FLUID LEVEL IN RESERVOIR 
    1. After performing accumulator zero down (accumulator depressurizing), adjust the fluid level in the master cylinder reservoir to the MAX level.
      Fig 31: Checking And Adjusting Brake Fluid Level In Reservoir
      G04949819Courtesy of © TOYOTA, LICENSE AGREEMENT TMS1002
      NOTE: If using a dropper to adjust the fluid amount, make sure the dropper has not been used with mineral oils, water or deteriorated brake fluid. Sealed areas may deteriorate and lead to fluid leaks, or the fluid may deteriorate and lead to decreased efficiency.

      HINT:

      • After performing accumulator zero down (accumulator depressurizing), if the engine switch is turned ON (IG), the fluid level in the accumulator increases, and the fluid level in the reservoir decreases.
      • If the fluid level is adjusted without performing accumulator zero down (accumulator depressurizing), fluid is sent from the accumulator to the reservoir. The fluid level may exceed the MAX level, but it is normal.
    2. After turning the engine switch ON (IG), check that the fluid level in the brake fluid reservoir is slightly lower than the MAX level.
  31. CLEAR DTC 
    1. Clear the DTCs.
  32. PERFORM LINEAR VALVE OFFSET LEARNING 
    1. When the brake actuator is replaced, perform linear valve offset learning.
  33. CHECK DTC 
    1. If any DTC is set, perform the troubleshooting for the DTC.
  34. READ VALUE OF ACCUMULATOR PRESSURE SENSOR OUTPUT VOLTAGE 

    HINT:

    If removing and installing the No. 3 brake actuator tube, check for a brake fluid leak from the No. 3 tube connection area by monitoring the accumulator pressure sensor output value from the brake actuator. Directly checking for a brake fluid leak from the No. 3 tube connection area is difficult.

    1. Turn the engine switch OFF.
    2. Connect the intelligent tester or Techstream to the DLC3.
    3. Turn the engine switch ON (IG).
    4. Operate the intelligent tester or Techstream according to the display and select "DATA LIST".

      Skid control ECU: 

      SKID CONTROL ECU

      Tester Display Measurement Item/Range Normal Condition Diagnostic Note
      Accumulator Sensor Accumulator pressure sensor / min.: 0 V, max.: 5 V Specified value: 2.6 to 3.8 V -
    5. Depress the brake pedal 4 or 5 times to operate the pump motor, and check the output value on the intelligent tester or Techstream with the motor stopped (not braking).
      Fig 32: Identifying Torque Wrench Fulcrum Length
      G04949732Courtesy of © TOYOTA, LICENSE AGREEMENT TMS1002

      OK: Accumulator pressure sensor's output voltage drops 0.2 V or less for 30 seconds. 

      If the voltage drops more than 0.2 V, there may be a brake fluid leak from the No. 3 brake actuator tube connection area. Remove the brake actuator and brake accumulator pump, and then repeat the procedures above from the retightening of the 2 union nuts of the No. 3 brake actuator tube.

      SST 09023-00101 

      Torque: 

      15 N*m (155 kgf*cm, 11 ft.*lbf) without SST 

      14 N*m (145 kgf*cm, 10 ft.*lbf) with SST 

      HINT:

      • Use a torque wrench with a fulcrum length of 300 mm (11.81 in).
      • This torque value is effective when SST is parallel to a torque wrench.
  35. CHECK AND ADJUST BRAKE PEDAL HEIGHT 
    NOTE: Fold back the carpet below the brake pedal for this inspection adjustment.
    1. Check the brake pedal height.

      Standard pedal height from tibia pad: 

      144.2 to 154.2 mm (5.68 to 6.07 in.) 

      Fig 33: Identifying Brake Pedal Height
      G04949839Courtesy of © TOYOTA, LICENSE AGREEMENT TMS1002
    2. Adjust the pedal height.
      1. Disconnect the connector from the stop light switch.
      2. Loosen the stop light switch lock nut and turn the switch so that the pedal has free play.
      3. Loosen the push rod clevis lock nut.
      4. Adjust the pedal height by turning the push rod.

        Standard pedal height from tibia pad: 

        144.2 to 154.2 mm (5.68 to 6.07 in.) 

      5. Tighten the push rod clevis lock nut.

        Torque: 26 N*m (265 kgf*cm, 19 ft.*lbf) 

      6. Turn the stop light switch so that its protrusion is between 1.5 and 2.6 mm (0.059 and 0.102 in.). Then tighten the lock nut.

        Torque: 17 N*m (170 kgf*cm, 12 ft.*lbf) 

        Fig 34: Identifying Stop Light Switch Protrusion
        G04949840Courtesy of © TOYOTA, LICENSE AGREEMENT TMS1002
      7. Connect the stop light switch connector.
      8. Without depressing the brake pedal, check that the stop light does not illuminate. If it illuminates, adjust the brake pedal height again.
      9. Push the brake pedal in 5 to 10 mm (0.20 to 0.39 in.), and check that the stop light comes on.

        If the stop light does not turn on, adjust the brake pedal height again.

  36. ADJUST BRAKE PEDAL STROKE SENSOR 
    1. Connect the intelligent tester or Techstream to the DLC3 with the engine switch OFF.
    2. Loosen the 2 bolts.
    3. Turn the engine switch ON (IG). While reading the stroke sensor 1 value shown on the intelligent tester or Techstream, turn the stroke sensor slowly to the right and left to adjust it to the standard voltage.

      Standard voltage: 

      0.8 to 1.2 V 

      Fig 35: Turning Engine Switch
      G04949841Courtesy of © TOYOTA, LICENSE AGREEMENT TMS1002
    4. Tighten the 2 bolts.

      Torque: 8.5 N*m (87 kgf*cm, 75 in.*lbf) 

      NOTE: Do not depress the brake pedal while performing the linear valve offset learning, as this may cause a DTC to be stored.
    5. Perform the linear valve offset learning.
  37. RESET MEMORY (with Intelligent Tester or Techstream) 
    1. Turn the engine switch OFF.
    2. Connect the intelligent tester or Techstream to the DLC3.
    3. Turn the engine switch ON (IG) and the tester ON.
    4. Enter the following menus:
      1. Intelligent tester - Select: DIAGNOSIS / OBD/ MOBD / CHASSIS / ELECTRIC PKB / UTILITY / RESET MEMORY.
      2. Techstream - Select: Chassis / Electric Parking Brake / Utility / Reset Memory.
    5. Follow the tester display and perform reset memory.
      Fig 36: Identifying Parking Brake Indicator Light
      G04949962Courtesy of © TOYOTA, LICENSE AGREEMENT TMS1002

      HINT:

      When the reset memory is completed, the parking brake indicator light (RED) will blink at 0.5 second intervals.

  38. RESET MEMORY (without Intelligent Tester or Techstream) 
    1. Turn the engine switch OFF.
    2. Using SST, connect terminals 13 (TC) and 4 (CG) of the DLC3.
      Fig 37: Identifying Terminals 13 (TC) And 4 (CG) Of DLC3
      G04944121Courtesy of © TOYOTA, LICENSE AGREEMENT TMS1002

      SST 09843-18040 

      NOTE: Do not connect the wrong terminals, as this will cause parts to be damaged.
    3. Turn the engine switch ON (IG).

      HINT:

      The parking brake indicator light (RED) will blink at 0.25 second intervals.

    4. Perform both of the following procedures within 8 seconds:
      1. Perform the following with the electric parking brake switch twice: lock condition → off → release condition → off.
      2. Perform the following with the brake pedal: depress → release → depress → release.
        Fig 38: Identifying Blinking Pattern
        G04949964Courtesy of © TOYOTA, LICENSE AGREEMENT TMS1002
    5. With the engine switch ON (IG), disconnect the connection of terminals 13 (TC) and 4 (CG) of the DLC3.
    6. Check that the parking brake indicator light (RED) blinks at 0.5 second intervals.
      NOTE: If terminal 13 (TC) and 4 (CG) of the DLC3 are not disconnected, the blinking pattern (0.5 second intervals) cannot be checked.

      HINT:

      If the parking brake indicator light (RED) blinking pattern (0.5 second intervals) is confirmed, the clear procedure is completed. If not confirmed, repeat the procedures above.

  39. ACQUIRE TENSION SENSOR ZERO POINT 
    1. After performing reset memory, perform the release control. Check that the parking brake indicator light (RED) turns off.
  40. PARKING BRAKE BEDDING 
    CAUTION: Performing parking brake bedding forms the friction surfaces of the parking brake shoe and rear disc, which creates the basic braking force of the parking brake. If bedding is not performed, the parking brake performance may not be normal.
    NOTE: If one of the following is performed, perform parking brake bedding.
    • Rear disc is replaced or removed and installed
    • Parking brake shoe is replaced or removed and installed
    • electric parking brake actuator is replaced or removed and installed
    1. Turn the engine switch OFF.
    2. Using SST, connect terminals 12 (TS) and 4 (CG) of the DLC3.

      SST 09843-18040 

      NOTE: Do not connect the wrong terminals, as this will cause parts to be damaged.
      Fig 39: Identifying Terminals 12 (TS) And 4 (CG) Of DLC3
      G04944107Courtesy of © TOYOTA, LICENSE AGREEMENT TMS1002
    3. Turn the engine switch ON (IG).
    4. Perform the following procedures with the electric parking brake switch within 8 seconds:
      1. Turning the lock switch ON and OFF 3 times.
      2. Turn the release switch ON and OFF 3 times.
        Fig 40: Lock And Release Switch Blinking Pattern
        G04949966Courtesy of © TOYOTA, LICENSE AGREEMENT TMS1002
    5. Check that the system is in test mode.

      HINT:

      The multi-information display shows "EPB TEST". EPB stands for electric parking brake. If it is not displayed, repeat the procedures above.

      Fig 41: Identifying EPB TEST And PARK Indicator Light
      G04949967Courtesy of © TOYOTA, LICENSE AGREEMENT TMS1002
    6. Perform parking brake bedding.
    7. Drive the vehicle at 30 km/h (19 mph).
    8. Push the parking brake switch to the lock side for 5 seconds.
      NOTE:
      • The braking power is generated from the parking brake while driving the vehicle. This will cause the vehicle speed to decrease. Depress the acceleration pedal to maintain the speed at 30 km/h (19 mph).
      • This procedure must be performed while driving the vehicle. If performed on a speed tester, etc., the front wheels do not rotate and the vehicle will determine that the vehicle is stopped.

      HINT:

      • The parking brake indicator light (RED) stops blinking at 0.125 second intervals, and illuminates.
      • The buzzer turns ON (peeping sound).
      • The tension is automatically adjusted.
    9. After 5 seconds, check that the buzzer and the parking brake indicator light (RED) turn off.

      HINT:

      The brake force decreases.

    10. Release the parking brake lock switch.
  41. STEERING ANGLE SENSOR INITIALIZATION (to obtain a tire angle (during straight-ahead driving) signal) 
    Fig 42: Identifying Master Warning Light
    G04950170Courtesy of © TOYOTA, LICENSE AGREEMENT TMS1002
    1. Turn the engine switch ON (IG), and check that the master warning light illuminates for a few seconds.
      NOTE: If the warning light remains on or blinks, repair the applicable system.
    2. Drive the vehicle on a straight road at 35 km/h (22 mph) or more for 5 seconds or longer.

      HINT:

      • At this point, the steering wheel will still remain off-center by 5 to 10°.
      • In this step, the neutral position of the steering wheel is restored from the steering control ECU memory.
    3. Confirm that steering angle sensor initialization is completed (using the tester).
      1. Intelligent tester - Enter the VGRS menu using the tester. Select "STRAIGH ANG FLG" from "DATA LIST". Check if the steering angle sensor has obtained a tire angle (during straight-ahead driving) signal.

        Standard: 

        "VALID" is displayed on the tester screen. 

      2. Techstream - Enter the VGRS menu using the tester. Select "Straight Angle Valid Flag" from "Data List". Check if the steering angle sensor has obtained a tire angle (during straight-ahead driving) signal.

        Standard: 

        "Valid" is displayed on the tester screen. 

    4. Confirm that steering angle sensor initialization is completed (not using the tester).
      1. Stop the vehicle (engine running).
      2. Slowly turn the steering wheel from lock to lock.
      3. If it turns approximately 2.7 turns, steering angle sensor initialization is completed. If it turns approximately 3.2 turns, steering angle sensor initialization is not completed.
        NOTE: If the steering wheel turns approximately 3.2, turns, drive the vehicle on a straight road at 35 km/h (22 mph) or more for 5 seconds or longer. Then confirm the initialization again.
  42. VGRS SYSTEM CALIBRATION PROCEDURE (USING SST CHECK WIRE) 
    1. FACE TIRES STRAIGHT AHEAD 
      NOTE: Drive the vehicle to confirm that the steering wheel is centered.
    2. CHECK DTC 
      1. Check for DTCs.

        Result 

        RESULT REFERENCE

        Result Proceed to
        DTC C1591/51 is not output A
        DTC C1591/51 is output B

      B: Go to step   4 

      A: GO TO NEXT STEP 

    3. PERFORM ACTUATOR ANGLE INITIALIZATION 
      1. Start the engine.
        Fig 43: Identifying DLC3 Connector Terminals
        G04944114Courtesy of © TOYOTA, LICENSE AGREEMENT TMS1002
      2. Center the steering wheel.

        SST 09843-18040 

      3. Complete the following steps within 1 minute.
        1. Using SST, connect terminals 12 (TS) and 4 (CG), and 13 (TC) and 4 (CG) of the DLC3.
        2. Disconnect SST from terminal 12 (TS) of the DLC3, and turn the steering wheel to the left 180° or more.
        3. Connect SST to terminal 12 (TS) of the DLC3.
        4. Disconnect SST from terminal 13 (TC) of the DLC3, and turn the steering wheel to the right 180° or more.
        5. Connect SST to terminal 13 (TC) of the DLC3.

          HINT:

          When the master warning light comes on, DTC C1591/51 is memorized.

      4. Disconnect SST from the DLC3.
      5. Turn the engine switch OFF.

      NEXT: Go to step   1 

    4. FACE TIRES STRAIGHT AHEAD 
      1. Confirm that the steering wheel is centered when facing the tires straight ahead.
        NOTE: Drive the vehicle to confirm that the steering wheel is centered.

        Result 

        RESULT REFERENCE

        Result Proceed to
        Steering wheel is off-center A
        Steering wheel is centered B

      B: Go to step   8 

      A: GO TO NEXT STEP 

    5. UNLOCK STEERING ACTUATOR 
      NOTE: Do not start the engine.
      1. Turn the engine switch OFF.
      2. Disconnect the negative (-) terminal cable from the battery.
      3. Disconnect the x2 connector from the steering actuator.
        Fig 44: Identifying x2 Connector Terminals
        G04950172Courtesy of © TOYOTA, LICENSE AGREEMENT TMS1002
      4. Connect a jumper wire from terminal LV to the positive (+) battery terminal and another jumper wire from terminal LG to the negative (-) battery terminal.
        NOTE: Do not apply voltage for more than 3 minutes.
    6. STEERING CENTER ADJUSTMENT 
      1. Center the steering wheel.
        NOTE: If the centering of the spiral cable was not confirmed when the steering wheel was installed, confirm the centering of the spiral cable.
    7. LOCK STEERING ACTUATOR 
      1. Disconnect the positive (+) and negative (-) battery terminal cables from the steering actuator.
      2. Connect the x2 connector to the steering actuator.
      3. Connect the negative (-) terminal cable to the battery.
      4. Turn the steering wheel approximately 3° to the left and right. Confirm that the reaction force can be felt.
        NOTE:
        • If the above procedures are not followed correctly, a DTC will be detected. If a DTC is detected, perform the above procedures again and then check for DTCs.
        • Perform these procedures with the engine switch off.

      NEXT: Go to step   1 

    8. ADJUST ACTUATOR ANGLE 

      HINT:

      Activating and ending test mode will complete actuator angle adjustment.

      1. Make sure the engine switch is OFF.
        NOTE: Do not touch the steering wheel during these procedures.
      2. Using SST, connect terminals 12 (TS) and 4 (CG) of the DLC3.

        SST 09843-18040 

        Fig 45: Identifying Terminals 12 (TS) And 4 (CG) Of DLC3
        G04944107Courtesy of © TOYOTA, LICENSE AGREEMENT TMS1002
      3. Turn the engine switch ON (IG).
      4. Confirm that the "VGRS TEST MODE" is displayed on the multi-information display when test mode is activated.

        HINT:

        Wait approximately 5 seconds.

      5. Turn the engine switch OFF.
      6. Disconnect SST from terminals 12 (TS) and 4 (CG) of the DLC3.
      7. Turn the engine switch ON (IG) again.
    9. CHECK MASTER WARNING LIGHT 
      1. Confirm that the master warning light is off.
      2. Turn the engine switch OFF.
      3. Confirm that the master warning light is operating normally.
    10. CHECK STEERING WHEEL OPERATION 
      1. Start the engine.
      2. Perform the steering angle sensor initialization.
      3. Turn the steering wheel from lock to lock and check that it rotates approximately 2.7 turns.
      4. Drive the vehicle and confirm that the steering wheel is centered.

      NEXT: END 

  43. VGRS SYSTEM CALIBRATION PROCEDURE (USING INTELLIGENT TESTER) 
    1. FACE TIRES STRAIGHT AHEAD 
      NOTE: Drive the vehicle to confirm that the steering wheel is centered.
    2. PERFORM VGRS SYSTEM CALIBRATION 
      1. Connect the intelligent tester to the DLC3.
      2. Turn the engine switch ON (IG).
      3. Turn the tester on.
      4. Enter the menu items in this order: DIAGNOSIS / OBD/ MOBD / CHASSIS / VGRS. Then, select the "STEER ANGLE ADJ" item, and press "ENTER" to move to next screen.
        Fig 46: Display STEERING ANGLE ADJ Screen
        G04950174Courtesy of © TOYOTA, LICENSE AGREEMENT TMS1002
      5. "NOTICE" screen is displayed. Then, press "ENTER".
        NOTE: Press the "ENTER" key even if DTC C15B4/71 is output.
      6. "NOTICE" screen is displayed. Then, press "ENTER".
        NOTE: Ensure that the engine switch is off.
      7. "STEERING ANGLE ADJ" screen is displayed. Then, press "YES".
      8. "STEERING ANGLE ADJ" screen is displayed. Then, press "ENTER".
        NOTE: If the centering of the spiral cable was not confirmed when the steering wheel was installed, confirm the centering of the spiral cable.
      9. "NOTICE" screen is displayed. Then, press "ENTER".
        NOTE: Do not touch the steering wheel during these procedures.
      10. "NOTICE" screen is displayed. Then, press "ENTER".
      11. "NOTICE" screen is displayed. Then, press "ENTER".
        NOTE: Do not touch the steering wheel during these procedures.
      12. The remaining time is displayed and the display switches automatically to the next screen.
        Fig 47: Display TIME REMAINING Screen
        G04950175Courtesy of © TOYOTA, LICENSE AGREEMENT TMS1002
        NOTE: Do not touch the steering wheel during these procedures.
      13. Check that VGRS system calibration is completed normally.
      14. Select "ENTER" to return the display to the "MENU" screen.
    3. CHECK MASTER WARNING LIGHT 
      1. Confirm that the master warning light is off.
      2. Turn the engine switch OFF.
      3. Disconnect the intelligent tester from the DLC3.
      4. Confirm that the master warning light is operating normally.
    4. CHECK STEERING WHEEL OPERATION 
      1. Start the engine.
      2. Perform the steering angle sensor initialization.
      3. Turn the steering wheel from lock to lock and check that it rotates approximately 2.7 turns.
      4. Drive the vehicle and confirm that the steering wheel is centered.

      NEXT: END 

  44. VGRS SYSTEM CALIBRATION PROCEDURE (USING TECHSTREAM) 
    1. FACE TIRES STRAIGHT AHEAD 
      NOTE: Drive the vehicle to confirm that the steering wheel is centered.
    2. PERFORM VGRS SYSTEM CALIBRATION 
      1. Connect Techstream to the DLC3.
      2. Turn the engine switch ON (IG).
      3. Turn the tester on.
      4. Enter the menu items in this order: Chassis / VGRS / Utility / Steering Angle Adjust.
      5. Perform the following procedures displayed on the tester.
    3. CHECK MASTER WARNING LIGHT 
      1. Confirm that the master warning light is off.
      2. Turn the engine switch OFF.
      3. Disconnect Techstream from the DLC3.
      4. Confirm that master warning light is operating normally.
    4. CHECK STEERING WHEEL OPERATION 
      1. Start the engine.
      2. Perform the steering angle sensor initialization.
      3. Turn the steering wheel from lock to lock and check that it rotates approximately 2.7 turns.
      4. Drive the vehicle and confirm that the steering wheel is centered.

      NEXT: END 

  45. ROTATION ANGLE SENSOR VALUE INITIALIZATION AND TORQUE SENSOR ZERO POINT CALIBRATION 
    NOTE: Clear the rotation angle sensor calibration value, initialize the rotation angle sensor value, and calibrate the torque sensor zero point if any of the following has occurred:
    • The power steering ECU has been replaced.
    • The power steering gear assembly has been replaced.
    • Steering effort differs between left and right.
    1. Inspection before calibration.
      1. Connect the intelligent tester (with CAN VIM) or Techstream to the DLC3.
      2. Turn the engine switch ON (IG).
      3. Turn the intelligent tester or Techstream on. Intelligent tester - Select "IG SUPPLY" from the data list.

        Techstream - Select "IG Supply" from the data list.

      4. Check the IG power supply voltage on the tester screen.
        1. Intelligent tester

          EMPS 

          INTELLIGENT TESTER EMPS DATA LIST REFERENCE

          Tester Display Measurement Item/Range Normal Condition Diagnostic Note
          IG SUPPLY ECU power source voltage/ Min.: 0 V, Max.: 25.5 V Engine switch on (IG): 11 to 14 V When malfunction occurs, problem may be ECU power supply
        2. Techstream

          EMPS 

          TECHSTREAM EMPS DATA LIST REFERENCE

          Tester Display Measurement Item/Range Normal Condition Diagnostic Note
          IG Supply ECU power source voltage/ Min.: 0 V, Max.: 25.5 V Engine switch on (IG): 11 to 14 V When malfunction occurs, problem may be ECU power supply

          Standard voltage: 

          11 to 14 V 

          NOTE: If the IG power supply voltage is 11 V or less, calibration cannot be performed. In this case, charge or replace the battery, and then perform calibration.
    2. Clearing rotation angle sensor calibration value, rotation angle sensor value initialization, and torque sensor zero point calibration.
      NOTE:
      • If DTC C1516 (Torque Sensor Zero Point Adjustment Incomplete) is stored, the torque sensor zero point cannot be calibrated. Clear the DTC before starting calibration.
      • If DTC C1526 (Motor Rotation Angle Sensor Initialization Incomplete) is stored, the rotation angle sensor value cannot be initialized. Clear the DTC before starting initialization.
      1. Connect the intelligent tester (with CAN VIM) or Techstream to the DLC3.
      2. Turn the engine switch ON (IG).
      3. Turn the intelligent tester or Techstream on. Intelligent tester - Select "TRQ SENSOR ADJ". Techstream - Select "Torque Sensor Adjustment".
      4. Follow the procedures on the tester display to clear the rotation angle sensor calibration value, initialize the rotation angle sensor value, and calibrate the torque sensor zero point.
        NOTE:
        • When initializing the rotation angle sensor value, observe the following to stabilize sensor voltage:

          After turning the engine switch ON (IG), wait for at least 2.5 seconds before turning the steering wheel. Do not turn the steering wheel quickly.

        • The steering wheel will vibrate during torque sensor zero point calibration. Do not touch the steering wheel while it is vibrating or for 2 seconds after it stops.
  46. ZERO POINT CALIBRATION 
    1. Zero point calibration procedures
      1. Check that all of the following conditions are met:
        • The vehicle is parked on a level surface.
        • No objects are placed on the front passenger seat.
        • The front passenger seat belt buckle switch is OFF.
      2. Adjust the seat position according to the table below.
        ZERO POINT CALIBRATION ADJUSTMENT REFERENCE

        Adjustment Item Position
        Slide Direction Rearmost position
        Reclining Angle Upright position
        Headrest Height Lowest position
        Lifter Height Lowest position
      3. Connect the intelligent tester or Techstream to the DLC3.
      4. Turn the engine switch ON (IG).
      5. Perform zero point calibration by following the prompts on the tester screen.

        HINT:

        • Refer to the intelligent tester or Techstream operator's service information for further details.
        • If the zero point calibration is performed when the calibration conditions are not satisfied, DTC B1797 is output.
        • If the zero point calibration has failed, DTC B1797 is output.
        • If After Exchange is selected before the previous ECU data are stored in the intelligent tester or Techstream, the display screen returns to CONDITION SELECT ECU: Occupant Detect.
          PROCEDURE CHART

          Item Procedure
          DTC Perform DTC check and repair
          Write error Replace front seat set (with occupant classification ECU and occupant detection sensor)
          Temperature Check value of THERMISTOR TEMP in ECU DATA LIST
          Pressure Check value of FILTERED PRESS in ECU DATA LIST
          Crash counter -
  47. SENSITIVITY CHECK 
    1. Sensitivity check procedures
      1. Turn the engine switch off.
      2. Place a weight of 20 kg (44.0 lb) on the front passenger seat.
        NOTE:
        • Do not allow the weight to come into contact with the seatback when placing it on the seat cushion.
        • Place the weight in the area shown in the illustration.
        Fig 48: Placing Weight On Front Passenger Seat
        G04947418Courtesy of © TOYOTA, LICENSE AGREEMENT TMS1002
      3. Turn the engine switch ON (IG), and wait for at least 6 seconds.
      4. Check that the passenger airbag ON/OFF indicator indicates OFF.

        OK : 

        Passenger airbag ON/OFF indicator indicates OFF. 

      5. Add a weight of 30 kg (66.1 lb) to the front passenger seat (total 50 kg (110.2 lb)).
        NOTE:
        • Do not allow the weight to come into contact with the seatback when placing it on the seat cushion.
        • Place the weight in the area shown in the illustration.
      6. Check that the passenger airbag ON/OFF indicator indicates ON.

        OK : 

        Passenger airbag ON/OFF indicator indicates ON. 

  48. REGISTRATION 
    NOTE:
    • After the engine switch is turned off, the HDD navigation system requires approximately 6 minutes to record various types of memory and settings. As a result, after turning the engine switch off, wait 6 minutes or more before disconnecting the cable from the negative (-) battery terminal.
    • If any DTCs related to the occupant classification ECU are output, troubleshoot those DTCs by referring to the DIAGNOSTIC TROUBLE CODE CHART.
    • When ECU data saving or loading operations cannot be performed, replace the front seat set (with occupant classification ECU and occupant detection sensor).

    HINT:

    • When the front seat set (occupant classification ECU) is replaced, the previous ECU data must be saved in the intelligent tester or Techstream and loaded into the new ECU by following the flowchart below.
    • Until the data from the previous ECU are loaded into the new occupant classification ECU, these data are not erased even when the tester is turned off.
    • ECU EXCHANGE procedure (Before Exchange) describes the procedure to save the data in the intelligent tester or Techstream from the occupant classification ECU which was installed on the vehicle. ECU EXCHANGE procedure (After Exchange) describes the procedure to load the data from the previous ECU, stored in the intelligent tester or Techstream, into the new ECU.
    1. Connect the intelligent tester or Techstream to the DLC3.
    2. Turn the engine switch ON (IG).
    3. Store the occupant classification ECU data in the intelligent tester or Techstream by following the prompts on the tester screen.

      HINT:

      If the ECU data cannot be stored in the intelligent tester or Techstream, replace the front seat set (with occupant classification ECU and occupant detection sensor).

    4. Turn the engine switch ON (IG).
    5. Disconnect the negative (-) terminal cable from the battery, and wait for at least 90 seconds.
    6. Replace the front seat set (occupant classification ECU).
    7. Connect the negative (-) terminal cable to the battery.
    8. Turn the engine switch ON (IG).
    9. Load the data from the previous ECU stored in the tester into the newly installed ECU by following the prompts on the tester screen.
    10. Turn the engine switch OFF.
    11. Turn the engine switch ON (IG).
    12. Clear the DTCs stored in the memory.

      HINT:

      If DTCs are not cleared at this time, past DTCs will remain.

  49. DESCRIPTION OF CODE REGISTRATION 

    HINT:

    • The engine immobiliser function's ID code is the same as recognition codes for the smart access system with push-button start and the wireless transmitter. Registering an ID code enables the smart access with push-button start, the wireless door lock control function and the engine immobiliser function to be operated.
    • Code registration is needed when the certification ECU, ID code box, steering lock ECU, ECM or key is replaced with a new one.
    • This vehicle does not have a key slot. Therefore, touch the logo of the key to the engine switch to register the key, as shown in the illustration.
      Fig 49: Identifying Engine Switch And Key
      G04944567Courtesy of © TOYOTA, LICENSE AGREEMENT TMS1002
  50. PART REPLACEMENT AND KEY REGISTRATION PROCEDURES 
    1. If a malfunctioning ECU is discovered through troubleshooting of the smart access system with push-button start, use the ECU replacement and key registration procedures in the table below.

      HINT:

      • The following procedures require the use of the intelligent tester or Techstream:
        • New key ID registration
        • Additional key ID registration
        • Key ID erasure
        • ECU code registration
      • If all of the registered keys are not available, replacement of the ID code box certification ECU and steering lock ECU are also required.
      • A maximum of 7 keys can be registered.
        PART REPLACEMENT AND KEY REGISTRATION PROCEDURES

        Part to be replaced Condition Procedure
        Certification ECU Customer has brought all keys
        1. Replace certification ECU
        2. Reregister all keys (new key ID registration)
        Some keys are lost Key ID codes can be registered and erased
        1. Erase key codes (key ID erasure)
        2. Perform additional key registration procedure (additional key ID registration)
        3. Replace certification ECU
        4. Reregister all keys (new key ID registration)

        HINT:
        If some keys are not registered during above steps, they will be disabled because they cannot be registered later
        Key ID codes cannot be either registered or erased
        1. Replace certification ECU
        2. Replace ID code box
        3. Reregister all keys (new key ID registration)

        HINT:
        If key codes cannot be erased or additional keys cannot be registered due to a malfunction in certification ECU, replace ID code box and certification ECU. If some keys are not registered during above steps, they will be disabled because they cannot be registered later.
        All keys are lost
        1. Replace certification ECU
        2. Replace ID code box
        3. Register all keys (new key ID registration)
        4. ECU communication ID registration
        ID code box At least 1 key is available
        1. Replace ID code box
        2. ECU communication ID registration
        All keys are lost
        1. Replace ID code box
        2. Replace certification ECU
        3. Register all keys (new key ID registration)
        4. ECU communication ID registration
        Steering lock ECU Customer has brought at least 1 key
        1. Replace steering lock ECU
        2. Register recognition codes in ECUs (ECU code registration)
        All keys are lost
        1. Replace certification ECU
        2. Replace ID code box
        3. Replace steering lock ECU
        4. Register all keys (new key ID registration)
        5. ECU communication ID registration
        Main body ECU No condition required Replace main body ECU
        ECM No condition required
        1. Replace ECM
        2. ECU communication ID registration

        HINT:
        Only perform procedure above when replacing with used ECM
        Key Customer has brought at least 1 key
        1. Using remaining key, erase lost key (key ID erasure)
        2. Register additional keys as necessary (additional key ID registration)
        All keys are lost
        1. Replace certification ECU
        2. Replace ID code box
        3. Replace steering lock ECU
        4. Register all keys (new key ID registration)
        5. ECU communication ID registration
  51. KEY REGISTRATION PROCEDURES 
    1. New key ID registration (when replacing certification ECU and ID code box, or certification ECU, ID code box and steering lock ECU)
      KEY REGISTRATION PROCEDURES

      Process Procedure
      1. Start of registration
      1. Connect intelligent tester or Techstream to DLC3
      2. Turn engine switch ON (IG)
      3. Select "SMART ACCESS/ID UTILITY/SMART CODE REG" (for intelligent tester) or "Smart Access/Utility/Key Code Registration" (for Techstream) from tester menu

      HINT:
      Engine switch cannot be turned ON (IG) more than 10 times. After connecting tester, turn tester on while turning driver side door courtesy light switch on and off repeatedly at 1.5 second intervals or less to continue key registration procedure.
      2. Confirmation of ECU code Perform operation according to prompts on tester screen
      HINT:
      Mode is automatically selected by tester (new registration mode or add mode)
      3. Verification of unregistered key*
      1. Touch logo of unregistered key to engine switch
      2. Confirm that wireless door lock buzzer sounds once (short beep)
      3. Place unregistered key on front passenger side seat
      4. Confirm that wireless door lock buzzer sounds once (short beep)
      4. Registration of ID code Perform operation according to prompts on tester screen
      5. End of registration Finish new key ID code registration
      HINT:
      *: Repeat this process for each key which is to be registered for the vehicle. Finish the procedure for each key within 30 seconds. If the procedure for any of the keys has not been finished within the specified time, perform registration procedures from process 1 again. Make sure that only 1 key is in the cabin during registration procedures. If 2 or more keys are in the cabin simultaneously, electric waves will interfere with each other, preventing normal registration.
    2. New key ID registration (when replacing certification ECU)
      NEW KEY ID REGISTRATION PROCEDURE

      Process Procedure
      1. Start of registration
      1. Connect intelligent tester to Techstream to DLC3
      2. Turn engine switch ON (IG)
      3. Select "SMART ACCESS/ID UTILITY/SMART CODE REG" (for intelligent tester) or "Smart Access/Utility/Key Code Registration" (for Techstream) from tester menu

      HINT:
      Engine switch cannot be turned ON (IG) more than 10 times. After connecting tester, turn tester on while turning driver side door courtesy light switch on and off repeatedly at 1.5 second intervals or less to continue key registration procedure.
      2. Confirmation of ECU code Perform operation according to prompts on tester screen
      HINT:
      Mode is automatically selected by tester (new registration mode or add mode)
      3. Confirmation of all registered keys*1
      1. Touch logo of registered key to engine switch
      2. Confirm that wireless door lock buzzer sounds once (short beep)
      4. Confirmation of ECU code Perform operation according to prompts on tester screen
      5. Verification of unregistered key*2
      1. Touch log of unregistered key to engine switch
      2. Confirm that wireless door lock buzzer sounds
      3. Place unregistered key on front passenger side seat
      4. Confirm that wireless door lock buzzer sounds once (short beep)
      6. Registration of ID code Perform operation according to prompts on tester screen
      7. End of registration Finish new key ID code registration
      HINT:
      • *1: Repeat this process for each key registered for the vehicle. Finish the procedure for each key within 30 seconds. If the procedure for any of the keys has not been finished within the specified time, perform registration procedures from process 1 again. If performing the key confirmation procedure for a key, the security indicator comes on and remains on until all the keys are confirmed.
      • *2: Repeat this process for each key which is to be registered for the vehicle. Finish the procedure for each key within 30 seconds. If the procedure for any of the keys has not been finished within the specified time, perform registration procedures from 1 again. Make sure that only 1 key is in the cabin during registration procedures. If 2 or more keys are in the cabin simultaneously, electric waves will interfere with each other, preventing normal registration.
    3. Additional key ID registration
      ADDITIONAL KEY ID REGISTRATION PROCEDURE

      Process Procedure
      1. Start of registration
      1. Connect intelligent tester or Techstream to DLC3
      2. Turn engine switch ON (IG)
      3. Select "SMART ACCESS/ID UTILITY/SMART CODE REG" (for intelligent tester) or "Smart Access/Utility/Key Code Registration" (for Techstream) from tester menu
      2. Confirmation of registered key*1
      1. Perform operation according to prompts on tester screen
      2. Touch logo of registered key to engine switch
      3. Confirm that wireless door lock buzzer sounds once (short beep)
      3. Confirmation of ECU code Perform operation according to prompts on tester screen
      4. Verification of unregistered key*2
      1. Touch logo of unregistered key to engine switch
      2. Confirm that wireless door lock buzzer sounds
      3. Place unregistered key on front passenger side seat
      4. Confirm that wireless door lock buzzer sounds (short beep)
      5. Registration of ID code Perform operation according to prompts on tester screen
      6. End of registration Finish key ID code registration

      HINT:

      • *1: Perform this process for one of the keys registered for the vehicle. Finish the procedure within 30 seconds. If the procedure has not been finished within the specified time, perform registration procedures from process 1 again.
      • *2: Repeat this process for each key which is to be registered for the vehicle. Finish the procedure for each key within 30 seconds. If the procedure for any of the keys has not been finished within the specified time, perform registration procedures from 1 again. Make sure that only 1 key is in the cabin during registration procedures. If 2 or more keys are in the cabin simultaneously, electric waves will interfere with each other, preventing normal registration.
    4. Key ID erasure (Erase all registered key codes except one)
      KEY ID ERASURE PROCEDURE

      Process Procedure
      1. Start of erasure
      1. Connect intelligent tester or Techstream to DLC3
      2. Turn engine switch ON (IG)
      3. Select "SMART ACCESS/ID UTILITY/SMART CODE ERS" (for intelligent tester) or "Smart Access/Utility/Key Code Erasure" (for Techstream) from tester menu
      2. Confirmation of registered key*
      1. Perform operation according to prompts on tester screen
      2. Touch logo of registered key to engine switch
      3. Confirm that wireless door lock buzzer sounds once (short beep)
      3. Erasure of ID code Perform operation according to prompts on tester screen
      4. End of erasure Finish key ID code erasure

      HINT:

      *: Perform this process for one of the keys registered for the vehicle. Finish the procedure within 30 seconds. If the procedure has not been finished within the specified time, perform erasure procedures from process 1 again.

    5. All keys ID erasure
      ALL KEYS ID ERASURE PROCEDURE

      Process Procedure
      1. Start of erasure
      1. Connect intelligent tester or Techstream to DLC3
      2. Turn engine switch ON (IG)
      3. Turn tester on while turning driver side door courtesy light switch on and off repeatedly at 1.5 second intervals or less
      4. Select "SMART ACCESS/ID UTILITY/SMART CODE RESET" (for intelligent tester) or "Smart Access/Utility/Key Code Reset" (for Techstream) from tester menu
      5. Read "SEED NUMBER" sent from TAS according to tester screen
      2. Confirmation of registered key Touch logo of registered key to engine switch
      3. Erasure of ID code Perform operation according to prompts on tester screen
      4. End of erasure Finish key ID code erasure
    6. ECU code registration
      ECU CODE REGISTRATION PROCEDURE

      Process Procedure
      1. Start of registration
      1. Connect intelligent tester or Techstream to DLC3
      2. Turn engine switch ON (IG)
      3. Select "SMART ACCESS/ID UTILITY/ECU COMM ID REG/ID Code Box and Steering Lock" (for intelligent tester) or "Smart Access/Utility/ECU Communication ID Registration/ID code box and Steering Lock" (for Techstream) from tester menu
      4. Read "SEED NUMBER" sent from TAS according to tester screen
      2. Confirmation of registered key*
      1. Touch logo of registered key close to engine switch
      2. Confirm that wireless door lock buzzer sounds once (short beep)
      3. Erasure of ECU code Perform operation according to prompts on tester screen
      4. End of registration Finish ECU code registration

      HINT:

      *: Perform this process for one of the keys registered to the vehicle. Finish the procedure within 30 seconds. If the procedure has not been finished within the specified time, perform registration procedures from process 1 again.

    7. ECU communication ID registration
      NOTE:
      • The ECU communication ID should be registered when the ID code box is replaced in order to match the ECU communication ID.
      • The engine cannot be started unless ECU communication ID is registered.
      • After the registration, pressing the engine switch may not start the engine on the first try. If so, press the engine switch again.
      • After the engine is started, erase DTC B2799 (code for ECM's immobiliser communication error) using either of the following methods:
        • Use the intelligent tester or Techstream.
        • Disconnect the battery for 30 seconds.
          Fig 50: Identifying DLC3 Connector Terminals And SST
          G04944568Courtesy of © TOYOTA, LICENSE AGREEMENT TMS1002
      1. Using SST, connect terminal 13 (TC) and 4 (CG) of the DLC3.

        SST 09843-18040 

      2. Turn the engine switch ON (IG) (do not start the engine) and leave it as is for 30 minutes.
      3. Turn the engine switch off and disconnect terminals 13 (TC) and 4 (CG).
      4. Check that the engine starts for more than 3 seconds.
    8. ECU communication ID reregistration
      NOTE: The ECU communication ID should be registered when the ECM is replaced in order to match the ECU communication ID.
      KEY REGISTRATION PROCEDURE

      Procedure Time Security Indicator Light Condition
      1. Start - OFF
      2. While holding already registered key, turn the engine switch ON (IG) with brake pedal depressed
      3. Check that engine starts and stays on for more than 3 seconds
      4. Next
      5. End
  52. ADJUST OBJECT RECOGNITION CAMERA 
    NOTE:
    • Make sure there are no black and white patterned objects in front of the vehicle.
    • Perform the measurement in a place with no wind, and make sure there is 1.5 m (4.92 ft.) or more in front of the vehicle that has a level surface with no obstacles.
    • Check that there are no reflective materials in the surroundings or on the ground within a 3 m (9.84 ft.) or more x 3 m (9.84 ft.) or more area in front of the vehicle.
    • Perform the inspection in a bright area.
    Fig 51: Identifying Measurements For Placing Vehicle
    G04951445Courtesy of © TOYOTA, LICENSE AGREEMENT TMS1002
    1. Beam axis learning preparation
      1. Move the vehicle to a level surface.
      2. Make sure the engine oil in the vehicle is at the specified amount.
      3. Make sure the engine coolant in the vehicle is at the specified amount.
      4. Make sure the fuel tank is full.
      5. Make sure the spare tire is in the vehicle.
      6. Make sure the standard tools are in the vehicle.
      7. Make sure nobody is in the vehicle.
      8. Make sure no extra loads are in the vehicle.
      9. Adjust the tire pressures to the specified pressure.
      10. Clean the front glass.
      11. lf the lens of the object recognition camera sensor is dirty, apply a small amount of lens cleaner to a clean, soft cloth and clean the lens.
    2. Perform adjustment suspension control system
      1. Perform adjustment suspension control system.
        NOTE: Perform this procedure as accurately as possible.
    3. Perform the front wheel alignment adjustment
      1. Perform the front wheel alignment adjustment.
        NOTE: Perform this procedure as accurately as possible.
    4. Perform the rear wheel alignment adjustment
      1. Perform the rear wheel alignment adjustment.
        NOTE:
        • Perform this procedure as accurately as possible.
        • Press the height control switch and change the vehicle height to HIGH and return it to NORM. Then repeat.
    5. Target sheet creation
      1. Print or copy the illustration below. Check that the dimensions are +/- 5 mm of the ones in the table below.
        TARGET SHEET DIMENSIONS

        Area Specification
        A 160 mm (6.30 in)
        B 160 mm (6.30 in.)
        C 80 mm (3.15 in.)
        D 16 mm (0.63 in.)
        Fig 52: Creating Target Sheet
        G04951446Courtesy of © TOYOTA, LICENSE AGREEMENT TMS1002
        NOTE:
        • Make sure that the black areas of the target sheets are not glossy.
        • Make sure that the borders of the black and white areas on the target sheets are straight, and are not warped or blurry.
        • Fig 53: Identifying Borders Of Target Sheets
          G04951447Courtesy of © TOYOTA, LICENSE AGREEMENT TMS1002

        If the print or copy's dimensions are not as specified, adjust settings and reprint or recopy so that the print or copy's dimensions are as specified.

    6. Target sheet attachment
      1. Place the prepared target sheet on a piece of cardboard of the same size with the black area on the top right, as shown in the illustration. Then use double-sided tape to fix the target sheet in place.
        Fig 54: Placing Target Sheet On Cardboard
        G04951448Courtesy of © TOYOTA, LICENSE AGREEMENT TMS1002
        NOTE: Do not attach reflective tape such as scotch tape, etc. to the target face, as this may affect target recognition.
      2. Hang a weight with a pointed tip from the center of the target sheet. Then with double-sided tape, attach the target sheet to the reflector so that the weight aligns with the mark-off line of the SST (laser radar adjusting reflector).
        Fig 55: Attaching Target Sheet To Reflector
        G04951449Courtesy of © TOYOTA, LICENSE AGREEMENT TMS1002

        SST 09870-60000 (09870-60010,09870-60020) 

        NOTE:
        • Perform this procedure as accurately as possible.
        • Attach the target sheet so that it is horizontal with the ground.
      3. Move the reflector up and down to position the center of the target at the height shown in the illustration, and fix it in place.
        Fig 56: Moving Reflector To Position Center Of Target
        G04951450Courtesy of © TOYOTA, LICENSE AGREEMENT TMS1002

        Dimension A: 1270mm (50 in.) 

        SST 09870-60000 (09870-60010,09870-60020) 

        NOTE: Perform this procedure as accurately as possible.
    7. Target placement point measurement
      NOTE:
      • Do not place black and white patterned objects near the target.
      • Face the vehicle toward a wall with no patterns, or make sure the background behind the target has no patterns.
      • Perform this procedure as accurately as possible.
      • Do not place reflective materials in the area behind the target.
      • Make sure there are no patterns on the wall behind the target.
      • Make sure the distance between the target and wall is within 3 m (9.84 ft).
      • Make sure the target's shadow is not on the wall, as the camera may have a recognition error.
      1. From the center of the front and back bumpers (center of the emblems), hang a weight with a pointed tip, and mark the front bumper center point A and the rear bumper center point B on the ground.
        Fig 57: Marking Front Bumper And Rear Bumper
        G04951451Courtesy of © TOYOTA, LICENSE AGREEMENT TMS1002
      2. Draw a line that connects points A and B, and extend the line approximately 2 m (6.56 ft.) beyond the front of the vehicle.

        HINT:

        Secure the end of a string to point B. Then hold the other end of the string approximately 2 m (6.56 ft.) in front of the vehicle, and move it to the left or right to align the string with point A to make a straight line.

      3. Mark point C 990 mm (38.98 in.) from the front bumper center point A (placement point 1).
        Fig 58: Identifying Marking Point From Front Bumper Center Point
        G04951452Courtesy of © TOYOTA, LICENSE AGREEMENT TMS1002
      4. From point C, move 700 mm (27.56 in.) towards the front bumper center point A and mark point D.
      5. From point C, place marking tape at the point 700 mm (27.56 in.) perpendicular to the line that connects points A and B.
        NOTE: Place the tape so that there is plenty of surface area along the perpendicular line.
      6. Using measuring tape {5 m (16.41 ft. or more)} and point D as the center point, draw the part of a 900 mm (38.98 in.) circle that overlaps the marking tape (line E).
      7. Mark point F where the following intersect: 1) from point C, the point that is 700 mm (27.56 in.) perpendicular from the line that connects point A and B; and 2) line E.
      8. Set the measuring tape from point C to F. Then mark point G 740 mm (29.13 in.) from point C (line extending from point C to F) (placement point 2).
      9. Set measuring tape from point F to C. Then mark point H 740 mm (29.13 in.) beyond point C (placement point 3).
      10. Set a string between points G and H, and draw a line on the ground (target placement line).
    8. Object recognition camera sensor height measurement
      NOTE:
      • Do not place black and white patterned objects near the target.
      • Face the vehicle toward a wall with no patterns, or make sure the background behind the target has no patterns.
      • Perform this procedure as accurately as possible.
      • Do not place reflective materials in the area behind the target.
      • Make sure there are no patterns on the wall behind the target.
      • Make sure the distance between the target and wall is within 3 m (9.84 ft).
      • Make sure the target's shadow is not on the wall, as the camera may have a recognition error.
      1. Measure the distance (X mm or in.) from the ground to point H for the front left wheel arch.
      2. Measure the distance (Y mm or in.) from the ground to point H for the front right wheel arch.
      3. The average of the 2 distances (X mm or in, Y mm or in.) plus 599 mm (23.58 in.) is the height of the object recognition camera sensor.
        Fig 59: Object Recognition Camera Sensor Height Measurement
        G04951453Courtesy of © TOYOTA, LICENSE AGREEMENT TMS1002
    9. Memorize camera/target position
      1. When using intelligent tester:
        1. Connect the intelligent tester to the DLC3.
        2. Turn the engine switch on (IG).
        3. Turn the intelligent tester main switch ON, and turn the LKA main switch ON.
        4. Select "LKA System" from the display screen.
        5. Select "Utility" from the display screen.
        6. Select "Camera/target position memory" from the display screen.
        7. Follow the tester display, and select "Next".*1
        8. Follow the tester display, and select "Next".*2
      2. When using Techstream:
        1. Connect Techstream to the DLC3.
        2. Turn the engine switch on (IG).
        3. Turn the Techstream main switch ON, and turn the LKA main switch ON.
        4. Select "Connect to Vehicle".
        5. Under "Option", select "LKA System".
        6. Under "System Selection Menu", select "Powertrain".
        7. Select "Object Recognition Camera".

          HINT:

          A buzzer will sound for 1 seconds.

        8. Follow the tester display, and continue with the adjustment.
      3. Input the measured height of the object recognition camera sensor and the horizontal position of the camera "175 mm (6.89 in.)" into the input screen. Then press the "Next" button on the display screen.*3
      4. Input "3000 mm (118.11 in.)" for the distance from the camera to the target and "1270 mm (50.00 in.)" for the height of the target into the input screen. Then press the "Next" button on the display screen.*4
      5. Press the "Exit" button to finish the camera/ target position memory mode.
        NOTE: If "Error Camera/target position memory" is displayed on the screen, press the "Try Again" button, and repeat procedures *1 to *4 again.
    10. Beam axis learning
      1. Select "LKA System" from the display screen.*1
      2. Select "Utility" from the display screen.
      3. Select "Camera axis adjust" from the display screen.
      4. Follow the tester display, and select "Next".
      5. Align the target sheet with the target placement line, and align the mark-off line with placement point 1 (point C).*3
        Fig 60: Aligning Mark-Off Line With Placement Point 1 (Point C)
        G04951454Courtesy of © TOYOTA, LICENSE AGREEMENT TMS1002
      6. Check that the screen displays beam axis learning for target 1, then press the "Next" button on the display screen.*5
      7. Align the target sheet with the target placement line, and align the mark-off line with placement point 2 (point G).*6
        Fig 61: Aligning Mark-Off Line With Placement Point 2 (Point G)
        G04951455Courtesy of © TOYOTA, LICENSE AGREEMENT TMS1002
        NOTE: Within 3 minutes after the screen displays the beam axis learning for target 2, move the target and press the "Next" button on the display screen.
      8. Check that the screen displays beam axis learning for target 2, then press the "Next" button on the display screen.*7
      9. Align the target sheet with the target placement line, and align the mark-off line with placement point 3 (point H).*8
        Fig 62: Aligning Mark-Off Line With Placement Point 3 (Point H)
        G04951456Courtesy of © TOYOTA, LICENSE AGREEMENT TMS1002
      10. Check that the screen displays beam axis learning for target 3, then press the "Next" button on the display screen.*9
        NOTE: Within 3 minutes after the screen displays the beam axis learning for target 3, move the target and press the "Next" button on the display screen.
      11. Press the "Exit" button to finish the beam axis learning mode.*10
        NOTE: If "Error camera axis adjust" is displayed on the screen, press the "Exit" button. Then after checking the conditions below, turn the engine switch oh (IG) and off, and repeat from procedure *1 again.
        • Height of the target.
        • Distance from object recognition camera sensor to target.
        • Orientation of target (black area positioned on top right).
        • If surrounding area is bright enough.
        • If black and white patterned objects are placed near the target.
  53. ADJUST MILLIMETER WAVE RADAR SENSOR ASSEMBLY 
    Fig 63: Identifying Dimension For Placing Vehicle
    G04951470Courtesy of © TOYOTA, LICENSE AGREEMENT TMS1002
    CAUTION: Exposure to radio frequency emissions is hazardous to your health. It is hazardous to your health to be within 20 cm (7.9 in.) of the device's radio frequency aperture.
    NOTE:
    • This device complies with FCC radio frequency emission regulations.
    • Perform measurements on a level surface.
    • Make sure that no large pieces of metal are within a 10 m (32.81 ft.) x 14 m (45.93 ft.) area in front of the vehicle. If possible, the surrounding area should also be free of large metal objects.
    1. Before adjusting the radar beam axis, prepare the vehicle as follows.
      1. Check the tire pressure and adjust it if necessary.
      2. Remove all excess weight from the vehicle (luggage, heavy objects, etc).
    2. w/Air suspension:

      Adjust the vehicle's height to the standard height.

    3. Check and adjust the vertical direction of the radar sensor.
      1. Remove dust, oil and foreign matter from the radar sensor's level rack.
      2. Set a level on the radar sensor's level rack.
        Fig 64: Identifying Level
        G04947434Courtesy of © TOYOTA, LICENSE AGREEMENT TMS1002
      3. Check that the level's air bubble is within the red frame.
        Fig 65: Checking Air Bubble
        G04951472Courtesy of © TOYOTA, LICENSE AGREEMENT TMS1002

        OK : 

        Level's air bubble is within red frame. 

        If the bubble is not within the red frame, use a hexagon wrench to adjust bolt A until the air bubble is within the red frame.

        HINT:

        • The adjustable range within the level's red frame is +-0.2°
        • The target angle is +0.2° (upward angle of 0.2°).

        Result

        RESULT REFERENCE

        Adjustment Direction Adjustment Procedure Adjustment Angle
        Vertical adjustment Upward direction: Turn bolt A to negative (-) side For every 8.4 rotations of adjustment bolt, sensor moves about 1 °
        Downward direction: Turn bolt A to positive (+) side
    4. Adjust the reflector height.
      1. Adjust the reflector so that the center of the SST reflector is the same height as the millimeter wave radar sensor.

        SST 09870-60000 

        HINT:

        Prepare a 10 m (32.81 ft.) string, a string with a sharp-pointed weight (plumb bob), and a 5 m (16.41 ft.) tape measure.

        Fig 66: Adjusting Reflector Height
        G04951473Courtesy of © TOYOTA, LICENSE AGREEMENT TMS1002
    5. Place the reflector.
      1. Hang the string (with weight) from the center of the vehicle rear's emblem. Mark the vehicle rear's center point on the ground. Repeat for the front of the vehicle.
        Fig 67: Hanging String From Center Of Vehicle Rear's Emblem
        G04951474Courtesy of © TOYOTA, LICENSE AGREEMENT TMS1002
      2. Set one end of the 10 m (32.82 ft.) string on the vehicle rear's center point. Run the string over the vehicle front's center point to a position 5 m (16.41 ft.) beyond the vehicle front's center point, as shown in the illustration. Mark the 5 m (16.41 ft.) position.
      3. Using a tape measure, measure 12 mm (0.47 in.) to the left of the 5 m (16.41 ft.) position. Place the reflector at that position.
        NOTE: Perform the operation as precisely as possible.
        Fig 68: Placing Reflector
        G04951475Courtesy of © TOYOTA, LICENSE AGREEMENT TMS1002
    6. Check the radar beam axis.
      1. When using intelligent tester:
        1. Connect the intelligent tester to the DLC3.
        2. Turn the engine switch on (IG).
        3. Turn the intelligent tester main switch ON, and turn the cruise control main switch ON.
        4. Follow the instructions on the screen menu. Select "Radar Cruise", then select "BEAM AXIS ADJ", and press "Enter".
        5. Press "ENTER".
        6. Press "ENTER".
        7. Press "ENTER".
        8. After the CRUISE main indicator light illuminates, press "ENTER".

          HINT:

          A buzzer will sound for 1 seconds.

      2. When using Techstream:
        1. Connect Techstream to the DLC3.
        2. Turn the engine switch on (IG).
        3. Turn the Techstream main switch ON, and turn the cruise control main switch ON.
        4. Select "Connect to Vehicle".
        5. Under "Option", select "RADAR CRUISE".
        6. Select either "w/o LKA System" or "w/ LKA System".
        7. Under "System Selection Menu", select "Powertrain".
        8. Select "Radar Cruise".

          HINT:

          A buzzer will sound for 1 seconds.

        9. Follow the tester display, and continue with the adjustment.
      3. Check the following items on the laser cruise divergence data screen.
        NOTE: While using the intelligent tester's beam axis adjustment mode, the actual direction and angle of the radar sensor may be different from the intelligent tester's data. In such a case, the deviation is displayed on the combination meter's multi-information display.
        1. Confirm that the distance value is approximately 5 m (16.41 ft).

          HINT:

          • A value between 0.0 and 6.3 m (20.67 ft.) is indicated.
          • If the distance is 0 m (0 ft.), the sensor cannot detect the target. Reconfirm that there is no metal in the specified area in front of the vehicle (refer to the NOTICE at the beginning of this adjustment procedure).
        2. Confirm that the left/right side value is between 0.0 and 6.3.

          HINT:

          If the distance is 0 m (0 ft.), the sensor cannot detect the target. Reconfirm that there is no metal in the specified area in front of the vehicle (refer to the NOTICE at the beginning of this adjustment procedure).

    7. Check and adjust the horizontal direction of the radar sensor.
      1. Check that the divergence of the radar beam axis is 0°.

        Standard: 

        0° (Both right and left) 

        If the axis is not as specified, use a hexagon wrench to adjust bolt B until the divergence of the radar beam axis is 0°. 

      2. Based on the measured divergence of the beam axis, turn and adjust bolt B for horizontal adjustment of the millimeter wave radar sensor using a hexagon wrench.
        Fig 69: Turning And Adjusting Bolt B
        G04951476Courtesy of © TOYOTA, LICENSE AGREEMENT TMS1002

        Result 

        BOLT ADJUSTMENT

        Adjustment Direction Adjustment Procedure Adjustment Angle
        Horizontal adjustment Right direction: Turn bolt B to positive (+) side. For every 18.6 rotations of adjustment bolt, sensor moves about 1 °
        Left direction: Turn bolt B to negative (-) side.

        HINT:

        • If "LEFT SIDE: 1.0°" is displayed, the divergence is 1.0° in the left direction. Turn bolt B approximately 18.6 turns to the negative (-) side.
        • If the value does not change to 0°, it is possible that the sensor is aiming at something different. Reconfirm that there are no reflective materials in the surrounding area.
      3. Select "Next". The driving learning value is automatically reset.

        HINT:

        A buzzer will sound for 10 seconds.

      4. Disconnect the intelligent tester or Techstream from the DLC3.
    8. Recheck and readjust the vertical direction of the radar sensor.
      1. Set a level on the radar sensor's level rack.
        Fig 70: Identifying Level On Radar Sensor Level Rack
        G04951471Courtesy of © TOYOTA, LICENSE AGREEMENT TMS1002
      2. Check that the level's air bubble is within the red frame.
        Fig 71: Checking Air Bubble Level
        G04951472Courtesy of © TOYOTA, LICENSE AGREEMENT TMS1002

        OK : 

        Level's air bubble is within the red frame. If the bubble is not within the red frame, use a hexagon wrench to adjust bolt A until the level's air bubble is within the red frame. 

        HINT:

        • The adjustable range within the red frame is +/-0.20.
        • The target angle is +0.2° (upward angle of 0.2°).

          Result

          BOLT ADJUSTMENT RESULT REFERENCE

          Adjustment Direction Adjustment Procedure Adjustment Angle
          Vertical adjustment Upward direction: Turn bolt A to negative (-) side For every 8.4 rotations of adjustment bolt, sensor moves about 1°
          Downward direction: Turn bolt A to positive (+) side
  54. INITIALIZATION WITH DIAGNOSIS SYSTEM 
    1. Start the diagnostic system
    2. Perform STEERING CENTER MEMORIZE and MAX STEERING ANGLE MEMORIZE on the STEERING ANGLE SETTING screen
    3. Finish the diagnostic system
  55. INITIALIZATION WITH MANUAL OPERATION 
    1. Turn the engine switch on (IG) or start the engine.
    2. Fully turn the steering wheel to the right.*
    3. Fully turn the steering wheel to the left.*

      HINT:

      *: These procedures can be performed as shown or in reverse.

  56. PREPARATION FOR ADJUSTMENT 
    Fig 72: Preparation For Adjustment
    G04947442Courtesy of © TOYOTA, LICENSE AGREEMENT TMS1002

    HINT:

    Only when adjusting the optical axis of the camera, set the target bar for adjustment.

    1. Park the vehicle with its wheels facing straight ahead and the steering wheel centered.
    2. Set the target bar for adjustment.

      HINT:

      • Adjust the tire pressure to the specification.
      • The target bar for adjustment is a piece of tape attached to the floor. Check the color on the screen and choose a tape color which can be easily seen.
      • Before parking the vehicle, move the vehicle back and forth to check that the wheels are facing straight ahead and that the steering wheel is centered.
  57. BOOT DIAGNOSIS MODE 
    1. Start the engine.
    2. Start the diagnostic system.
    3. Select "Camera Check" on the Diagnosis Menu.
  58. SET VEHICLE HEIGHT 
    1. At the "SIGNAL CHECK" screen, press "HT INIT" to display the "HEIGHT SET" screen.

      HINT:

      • Before performing the camera position setting, the vehicle height setting must be performed in the "HEIGHT SET" screen.
      • If the vehicle height setting is not completed, the "HT INIT" display will change to "CHECKING".
    2. Measure the distance A between the ground and television camera in the illustration.
    3. Calculate the difference between the distance A and the standard height below.
      Fig 73: Identifying Between Distance A And Standard Height
      G04947443Courtesy of © TOYOTA, LICENSE AGREEMENT TMS1002

      Standard: 

      944 mm (37.2 in.) 

    4. Press "UP" and "DOWN" to input the calculated difference.
      Fig 74: Display Vehicle Height Setting Screen
      G04947444Courtesy of © TOYOTA, LICENSE AGREEMENT TMS1002
    5. After inputting the calculated difference, press "OK". The vehicle height setting will be recorded.

      HINT:

      • Press "OK" with the vehicle in the same condition as when the vehicle height was measured.
      • If a person was in the driver's seat when the vehicle height was measured, press "OK" with the same person in the driver's seat.
      • On the "SIGNAL CHECK" screen, check that the "HT INIT" display is "INPUT OK".
  59. SET PARALLEL PARKING OFFSET 
    1. Select "PARALLEL OFFSET" on the SIGNAL CHECK menu.
    2. Perform the parallel parking offset.
      1. Press the UP or DOWN switches to adjust.
      Fig 75: Display PARALLEL OFFSET Screen
      G04947445Courtesy of © TOYOTA, LICENSE AGREEMENT TMS1002
  60. SET VOLUME 
    1. Select "VOLUME" on the SIGNAL CHECK menu.
    2. Select the volume level on the VOLUME menu.
    Fig 76: Selecting Volume Level On VOLUME Menu
    G04947446Courtesy of © TOYOTA, LICENSE AGREEMENT TMS1002
  61. SET CAMERA POSITION SETTING 
    1. Select the "NEXT" button on the SIGNAL MENU screen.
    2. Perform the roll angle adjustment.
      1. Press the directional switches to rotate the target adjustment bares.
      Fig 77: Identifying Camera Position Setting Screen
      G04947447Courtesy of © TOYOTA, LICENSE AGREEMENT TMS1002
    3. Perform the vertical and horizontal position adjustment.
      1. Press the directional switches to move the target adjustment boxes.
      Fig 78: Identifying Camera Position Setting Screen
      G04947448Courtesy of © TOYOTA, LICENSE AGREEMENT TMS1002
  62. SET BUMPER POSITION 
    1. Press the directional switches to move the target adjustment.
    2. If the right and left bumper need to be adjusted individually, press the "L/R" button on the BUMPER.
      Fig 79: Display Bumper Screen
      G04947449Courtesy of © TOYOTA, LICENSE AGREEMENT TMS1002
    3. Press the directional switches to move the target adjustment on the LEFT BUMPER and RIGHT BUMPER screen.
      Fig 80: Display Left Bumper Screen
      G04947450Courtesy of © TOYOTA, LICENSE AGREEMENT TMS1002
  63. CHECK VERIFY MODE 
    1. Check that A and the target adjustment bar are overlapping.
      • If A and the target adjustment bar are not aligned even if the tires are aligned straight ahead, perform the CAMERA POSITION SETTING operation.
    2. Selecting "NEXT" will move to the STEERING ANGLE SETTING screen, and complete the adjustment.

      HINT:

      The update is not completed until the "NEXT" key is pressed.

    3. Fig 81: Display VERIFY Mode
      G04947451Courtesy of © TOYOTA, LICENSE AGREEMENT TMS1002
  64. SET STEERING ANGLE SETTING 
    1. Perform the STEERING CENTER MEMORIZE operation.
      1. Check that the steering wheel is centered, and then press "STEERING CENTER MEMORIZE".

        HINT:

        • When performing removal and installation, or replacement of the television camera, steering angle adjustment is not required. Press "OK" on the steering angle setting screen. However, the current steering angle is automatically stored as the steering angle neutral point when the steering angle setting screen is displayed. Make sure that the steering wheel is centered before changing the display to the steering angle setting screen.
        • Even when storing the steering angle neutral point only, the system cannot store it unless the operation is completed by following the prompts from "NEXT" to "OK".
        Fig 82: Display Steering Angle Setting Screen
        G04947452Courtesy of © TOYOTA, LICENSE AGREEMENT TMS1002
    2. Perform the MAX STEERING ANGLE MEMORIZE operation.
      1. After adjusting the steering angle neutral point, turn the steering wheel to the left and right lock positions and press "MAX STEERING ANGLE MEMORIZE". The maximum steering angle is then stored.

        HINT:

        The key "OK" does not respond until the system stores the steering angle neutral point and maximum steering angle.

  65. FINISH DIAGNOSIS MODE 
    1. Turn the engine switch off.
  66. MAYDAY ECU INITIALIZATION 

    HINT:

    This procedure is for switching a new mayday ECU from the Factory Mode into Demo Mode.

    1. Turn the engine switch from OFF to ON (IG) (engine does not have to be running).
    2. The mayday ECU will perform the Factory Mode Start Sequence for approximately 30 seconds.

      HINT:

      • In Factory Mode, for each ignition cycle OFF to ON (IG), or after checking or clearing DTCs, the ECU will perform a start sequence that includes a Japanese prompt and flashing LEDs (approximately 30 seconds). Then the LEDs will turn off. Do not push any buttons during this start sequence.
      • If there is a DTC detected during this Factory Mode Start Sequence, after the start sequence, the red LED will remain on and a Japanese prompt will repeat 5 times. Do not press any buttons during these prompts.
    3. BUTTON SEQUENCE:

      While pressing and holding the VOL+ button, press and release the PHONE button 5 times within 15 seconds, then release the VOL+ button. When switched to Demo Mode, each LED will flash one time then turn off (approximately 5 seconds).

    4. CONFIRMATION:

      Confirm Demo Mode by pressing the SERVICES button and listening for the demo prompt "Hello and welcome to LEXUS Link..." (the engine switch must be ON (IG) for the SERVICES button to function). Additionally, after each ignition cycle OFF to ON (IG), the LEDs will each flash one time each. This start sequence takes approximately 5 seconds. If Demo Mode is not confirmed, repeat the initialization procedure.

      HINT:

      • Before troubleshooting a DTC, attempt to initialize the ECU into Demo Mode with the button sequence. Then access DTCs and troubleshoot the ECU in Demo Mode. If necessary, DTCs can still be accessed in Factory Mode. However, the 30 second Factory Mode Start Sequence (and the Japanese prompt will repeat 5 times if a DTC is set) will occur after each ignition cycle OFF to ON (IG), and after each DTC check or clear. Do not press any buttons during this start sequence.
      • A red LED continuously on in any mode indicates that there is a current DTC set. Refer to theDTC chart .
      • Do not push any buttons during any start sequences (LED flashing or voice prompts).
  67. MAYDAY ECU REGISTRATION / ENROLLMENT 
    1. Turn the engine switch ON (IG) and wait for the 5 second LED flash start sequence. Press the SERVICES button when the mayday ECU is set normally and confirm that the following demo message is provided.

      "Hello and welcome to LEXUS Link..." If the message is not provided, perform the "MAYDAY ECU INITIALIZATION BUTTON SEQUENCE" again.

    2. As the message states, press the SERVICES button again during the prompt to connect to the LEXUS Link call center.

      HINT:

      Usually this call will connect within 15 to 30 seconds. However, it may take several minutes depending on cellular service in the area. A progression tone (i.e., beep) will be heard every 5 seconds to indicate that the connection attempt is in progress.

    3. A LEXUS Link call center advisor will answer and instruct the technician on how to register/enroll the new mayday ECU. The ESN, STID and VIN may be required at this time.

      HINT:

      • If the LEXUS Link call center cannot be reached after several attempts using the SERVICES button, or a cell tower message is heard, such as "Welcome to Verizon Wireless, your phone is not active at this time...", call the LEXUS Link call center by pushing the EMERGENCY button.
      • The LED flash start sequence (approximately 5 seconds) after ignition is cycled or after checking/ clearing DTCs remains present after enrollment. A green LED continuously on after this sequence indicates that the LEXUS Link System is activity enrolled.
  68. MAYDAY BATTERY REGISTRATION 

    HINT:

    • This procedure is required to register a new mayday battery and clear DTC 6-1. This procedure matches the new mayday battery with the new or used ECU.
    • A new mayday ECU always requires a new mayday battery (used mayday batteries should not be reused in a new ECU).
    • If the new replacement ECU is packaged and already connected to the new mayday battery when it arrives from the factory, and current DTC 6-1 is not set, do not perform the new mayday battery registration (the battery is already registered to the ECU that it is connected to).
    1. Turn the engine switch from OFF to ON (IG) and wait for the start up sequence of LED flashing to complete. Do not press any buttons during this start up sequence.

      (Note that Demo Mode and active enrolled ECUs have approximately a 5 second LED flashing start sequence. Factory Mode has approximately 30 seconds of LED flashing with a Japanese voice prompt. Also note if a current DTC is set in Factory Mode after this start sequence. This can be confirmed if the red LED remains on and an additional Japanese prompt repeats 5 times.)

    2. BUTTON SEQUENCE:

      Press and hold the PTT button while completing the following sequence of button presses. VOL+, VOL+, VOL-, VOL-, VOL+, VOL+, VOL-, VOL-, VOL+, VOL+, VOL-, VOL-

      Release all buttons. This button press sequence should be performed within 15 seconds.

    3. The system will then perform the same start sequence as described above. After this start sequence completes, cycle the ignition to off then ON (IG). Wait for the start sequence to complete. The new mayday battery is now registered to the mayday ECU and DTC 6-1 should be cleared.

      HINT:

      The mayday battery registration can be done in any mode (Factory Mode, Demo Mode or activity enrolled).

  69. MAYDAY BATTERY CONFIRMATION 
    1. After replacement check: If the "MAYDAY BATTERY REGISTRATION BUTTON SEQUENCE" has been completed, turn the engine switch OFF and ON (IG), wait for the start sequence described in the "MAYDAY BATTERY REGISTRATION". Then check that current DTC 6-1 is cleared.
      NOTE: If the "MAYDAY BATTERY REGISTRATION BUTTON SEQUENCE" has not been completed correctly, current DTC 6-1 will continue to be detected even if the mayday battery is replaced with a new one. In this case, check to be sure the old battery is removed and the new battery is installed. Then perform the "MAYDAY BATTERY REGISTRATION BUTTON SEQUENCE" again.
  70. INITIALIZE POWER WINDOW CONTROL SYSTEM (POWER WINDOW REGULATOR MOTOR (ALL DOORS)) 
    CAUTION: When the power window regulator motor is reinstalled or replaced, the power window control system must be initialized. Functions such as the AUTO UP / DOWN, jam protection and key-off do not operate if the initialization is not performed.

    HINT:

    When the battery is replaced, it is not necessary to initialize the power window regulator motor.

    NOTE:
    • When the power window regulator motor assembly is replaced, DTC B2313 is output. Clear the DTC after the initialization.
    • When performing initialization, do not perform any other procedures.
    • After a door glass or a door glass run has been replaced, the jam protection function may operate unexpectedly when the AUTO UP function is used, due to detection of the different operation learned value of the door glass movement speed. In such cases, the AUTO UP function can be resumed by repeating the following operation at least 5 times:
      1. Open the power window by fully pushing down the switch.
      2. Close the power window by fully pulling up the power window switch and holding it at the AUTO UP position.
    • If the initialization is not completed properly, the LIN communication system may have a malfunction.
    1. Initialization procedures when replacing the power window regulator motor with new one
      1. Connect the battery and turn the engine switch ON (IG). (At this time, the LED on the power window regulator switch blinks to indicate that it is ready for initialization.)
      2. Fully open the window by fully pushing the power window regulator switch, and hold the switch for 1 second or more after the window is fully opened.
      3. Fully close the power window by fully pulling the power window regulator switch, and hold the switch for 1 second or more after the window is fully closed to reset the glass position. The LED on the power window regulator switch changes from blinking to illuminated to indicate that the initialization is complete.
    2. Initialization procedures when removing/installing the power window regulator motor assembly
      1. Connect the battery and turn the engine switch ON (IG). (At this time, the LED on the power window regulator switch blinks to indicate that it is ready for initialization.)
      2. Fully close the power window by fully pulling the power window regulator switch, and hold the switch for 6 seconds or more after the window is fully closed. (If the power window does not move or stops halfway even when the switch is fully pulled, release the switch and fully pull it again.)
      3. Fully open the window by pushing down the power window regulator switch, and hold the switch for 1 second or more after the window is fully opened.
      4. Release the power window regulator switch. Then fully push and hold the switch 4 seconds or more.
      5. Fully close the power window by fully pulling the power window regulator switch, and hold the switch 1 second or more after the window is fully closed to reset the glass position. The LED on the power window regulator switch changes from blinking to illuminated to indicate that the initialization is complete.
    3. Initialization procedures when the power window does not fully open
      1. Perform the initialization procedures when removing/installing the power window regulator motor assembly.
  71. COMPASS DISPLAY MODE SELECTION 
    1. Turn the compass display ON and OFF by pressing and holding the AUTO switch for 3 seconds.
    2. Procedures for selecting compass mode.
      1. Turn the engine switch ON (IG).
      2. Check that the inner mirror's LED illuminates green.
      3. Check that one of the following directions is displayed: N, NE, E, SE, S, SW, W, NW.
      4. Press and hold the inner mirror's AUTO switch for 3 seconds, and check that the direction display turns off.

        HINT:

        Immediately after the AUTO switch is pressed, check that the LED turns off and the inner mirror anti-glare mode turns off. Then, after the AUTO switch is pressed and held for 3 seconds, check that the LED illuminates and the inner mirror anti-glare mode turns on.

  72. COMPASS ZONE SETTING 
    1. The location of magnetic north and true north differs depending on the vehicle's location. Adjustment of the compass's magnetism is required. The user must select a zone as the automatic adjustment will be different depending on the vehicle's location.
    2. Change the inner mirror's zone setting using the AUTO switch procedures described below.
    3. Procedures for selecting zone.
      1. Turn the engine switch ON (IG).
      2. Check that the inner mirror's LED illuminates green.
      3. Check that one of the following directions is displayed: N, NE, E, SE, S, SW, W, NW.
      4. Press and hold the inner mirror's AUTO switch for 3 seconds, and check that the direction display turns off.
      5. Do not release the AUTO switch and hold it for another 3 seconds (total press time: 6 seconds). Check that ZONE or a number from 1 to 15 is displayed on the compass.
      6. Each press of the AUTO switch causes the number display to increase by 1. Use the zone setting map to find the appropriate zone and set the zone number.
      7. After setting the zone number, check that waiting several seconds causes the compass to return to the direction display.
  73. COMPASS ZONE MAP 
    Fig 83: Identifying Compass Zone Map
    G04947453Courtesy of © TOYOTA, LICENSE AGREEMENT TMS1002
  74. COMPASS CALIBRATION 
    1. Compass calibration should be performed on each vehicle, as each vehicle has a unique magnetic field. Performing compass calibration will store information about the vehicle's magnetic field.
    2. Procedures for calibration.
      1. Turn the engine switch ON (IG).
      2. Check that the inner mirror's LED illuminates green.
      3. Check that one of the following directions is displayed: N, NE, E, SE, S, SW, W, NW.
      4. Press and hold the inner mirror's AUTO switch for 3 seconds, and check that CAL is displayed on the compass.
      5. Perform calibration by driving the vehicle at 8 km/h (5 mph) or less in a circle.
      6. Drive in a circle 1 to 3 times, and check that calibration is completed by confirming that CAL is not displayed on the compass.

        HINT:

        After the calibration is performed once, calibration will not be necessary unless the vehicle's magnetic field changes drastically. If the magnetic field has changed, CAL will be displayed on the compass.

  75. INITIALIZE FRONT POWER SEAT CONTROL SYSTEM 
    NOTE: The position sensor initialization must be performed if one of the following occurs: 1) the front power seat switch (seat ECU) is replaced or removed and installed; 2) the front seat adjuster is replaced; or 3) the initialization cancel operation is performed.
    1. For Driver Side:

      Initialize the power seat ECU as follows.

      1. Turn the engine switch ON (IG).
      2. Press the power seat switch front vertical switch downward 3 times.*1
      3. Within 10 seconds of the above operation, begin the following operation: perform the rearward reclining operation and upward lifter operation simultaneously for 10 seconds or more (buzzer sounds 0.5 seconds). This will cancel the initialization.*2
      4. Use the slide operation to move the front power seat to the rearmost lock position.*3

        HINT:

        • While performing the slide operation, the buzzer sounds.
        • After the slide operation initialization is complete, the headrest and cushion extender initialization occurs automatically. At this time, the headrest will move to the uppermost position, and the cushion extender will move rearward.
        Fig 84: Initializing Power Seat ECU (Driver Side)
        G04952413Courtesy of © TOYOTA, LICENSE AGREEMENT TMS1002
      5. Use the reclining operation to move the seatback to the foremost lock position (buzzer sounds for 0.5 seconds).
        Fig 85: Moving Seatback To Foremost Lock Position
        G04952414Courtesy of © TOYOTA, LICENSE AGREEMENT TMS1002
      6. Operate the power seat switch and check that the head restraint moves to be lowermost position.*1
        Fig 86: Checking Seat Slides Forward And Rearward
        G04952415Courtesy of © TOYOTA, LICENSE AGREEMENT TMS1002
      7. Operate the power seat switch and check that the seat slides forward and rearward and that the beeping sound is not emitted.*2

        HINT:

        After performing all of the procedures above, if the buzzer sounds while performing a manual operation, the initialization was not completed properly. Repeat all of the above procedures.

    2. For Passenger Side:

      Initialize the power seat ECU as follows.

      1. Turn the engine switch ON (IG).
      2. Press the power seat switch front vertical switch downward 3 times.*1
      3. Within 10 seconds of the above operation, begin the following operation: perform the rearward reclining operation and upward lifter operation simultaneously for 10 seconds or more (buzzer sounds 0.5 seconds). This will cancel the initialization.*2
      4. Use the slide operation to move the front power seat to the rearmost lock position.*3

        HINT:

        • While performing the slide operation, the buzzer sounds.
        • After the slide operation initialization is complete, the headrest and lifter initialization occurs automatically. At this time, the headrest will move to the lowermost position, and the lifter will move either upward or downward.
        Fig 87: Initializing Power Seat ECU (Passenger Side)
        G04952416Courtesy of © TOYOTA, LICENSE AGREEMENT TMS1002
      5. Use the reclining operation to move the seatback to the foremost lock position (buzzer sounds for 0.5 seconds).
        Fig 88: Moving Seatback To Foremost Lock Position
        G04952417Courtesy of © TOYOTA, LICENSE AGREEMENT TMS1002
      6. Operate the power seat switch and check that the head restraint moves to be upmost position.*1
        Fig 89: Checking Seat Slides Forward And Rearward
        G04952418Courtesy of © TOYOTA, LICENSE AGREEMENT TMS1002
      7. Operate the power seat switch and check that the seat slides forward and rearward and that the beeping sound is not emitted.*2

        HINT:

        After performing all of the procedures above, if the buzzer sounds while performing a manual operation, the initialization was not completed properly. Repeat all of the above procedures.

  76. REAR POWER SEAT INITIALIZATION 
    NOTE: The position sensor initialization must be performed if one of the following occurs: 1) the position control ECU is replaced or removed and installed; 2) the rear seat adjuster is replaced; or 3) the initialization cancel operation is performed.

    HINT:

    The initialization is only performed for the seat selected with the left / right selection switch.

    1. Initialization cancel operation
      1. Turn the engine switch ON (IG).
      2. Press the rear power seat switch upper lumbar switch rearward 3 times.
        Fig 90: Identifying Rear Seat Switch Upper Lumbar Switch Rearward
        G04952505Courtesy of © TOYOTA, LICENSE AGREEMENT TMS1002
      3. Within 10 seconds of the above operation, begin the following operation: perform the downward headrest operation and forward slide operation simultaneously for 10 seconds or more. This will cancel the initialization (buzzer sounds for 0.5 seconds).
        Fig 91: Identifying Downward Headrest Operation And Forward Slide Operation
        G04952506Courtesy of © TOYOTA, LICENSE AGREEMENT TMS1002
    2. Initialization operation

      HINT:

      • *: w/ Ottoman
      • If the initialization is not completed, the buzzer will sound during the manual operation.
      1. Perform the initialization cancel operation.
      2. Use the slide operation to move the rear power seat to the rearmost lock position.

        HINT:

        While performing the slide operation, the buzzer sounds.

        Fig 92: Sliding Operation To Rearmost Lock Position
        G04952507Courtesy of © TOYOTA, LICENSE AGREEMENT TMS1002
      3. Use the reclining* operation to move the rear power seat to the rearmost lock position (buzzer sounds for 0.1 seconds).
        Fig 93: Moving Rear Power Seat To Rearmost Lock Position
        G04952508Courtesy of © TOYOTA, LICENSE AGREEMENT TMS1002
      4. Use the ottoman* operation to move the rear power seat to the lowermost lock position (buzzer sounds for 0.1 seconds).
        Fig 94: Moving Rear Power Seat To Lowermost Lock Position
        G04952509Courtesy of © TOYOTA, LICENSE AGREEMENT TMS1002
      5. Use the upper lumbar operation to move the upper seatback to the rearmost lock position (buzzer sounds for 0.5 seconds). The initialization is complete.
        Fig 95: Moving Upper Seatback To Rearmost Lock Position
        G04952510Courtesy of © TOYOTA, LICENSE AGREEMENT TMS1002
      6. Operate the power seat switch and check that the seat slides forward and rearward and that the beeping sound is not emitted.
  77. RESET LUGGAGE COMPARTMENT DOOR CLOSE POSITION 
    1. When disconnecting the cable from the battery terminal, close the luggage compartment door fully to turn off the courtesy switch.

      HINT:

      If the luggage compartment door is closed when disconnecting the cable from the battery terminal, it is not necessary to reset it.

  78. RESET REAR DOOR SUNSHADE SYSTEM 
    NOTE: The rear curtain position reset operation must be performed when one of the following occurs: 1) battery removal and installation; 2) ECU reset; or 3) jam protection related detachment.
    1. Turn the engine switch on.
    2. Push the front or rear switch's rear door sunshade switch.

      HINT:

      The motor must be moved in the lowering direction.

    3. Push the front or rear switch's rear door sunshade switch.

      HINT:

      Make sure that the rear curtain raises.

  79. INITIALIZE SLIDING ROOF DRIVE GEAR SUB-ASSEMBLY 
    NOTE: When the sliding roof glass is replaced or removed and installed, or the drive gear assembly is replaced, the sliding roof drive gear requires initialization (pulse sensor initial position setting), as the glass position cannot be determined, If initialization is not performed, the following functions do not operate: 1) AUTO slide open and close, 2) jam protection function, 3) key-off operation, 4) transmitter-linked open operation, 5) key-linked open / close operation, and 6) entry lock switch-linked close operation.

    HINT:

    When the cable is disconnected and reconnected to the negative (-) battery terminal or the drive gear connector is disconnected and reconnected, the sliding roof drive gear (pulse sensor initial position setting) initialization is not necessary.

    1. When the drive gear is replaced:
      1. Turn the engine switch on (IG).
      2. If the sliding roof is open, close it almost completely.
      3. Press and hold the TILT UP switch to perform the following operations until the sliding roof is fully closed: tilt up → approximately 1 second pause → tilt down → slide open → slide close.
        NOTE: Make sure not to release the switch during the initialization. If the switch is released, perform the initialization again.
      4. The initialization is completed.
      5. Check that the sliding roof operates normally by operating the AUTO slide open and close function.

        HINT:

        • If the sliding roof becomes misaligned, press the TILT UP switch so that the roof glass stops moving or starts moving in the reverse direction, and continue to hold the switch for another 10 seconds or more to erase the initial settings. Then perform the initialization again.
        • If the jam protection function does not operate, perform the initialization again.
    2. When the sliding roof glass is replaced or removed and installed:
      1. Turn the engine switch ON (IG).
      2. Press the TILT UP switch to tilt up the sliding roof.
      3. Release the switch.
      4. Press and hold the TILT UP switch to perform the following operations until the sliding roof is fully closed: tilt up → approximately 1 second pause → tilt down → slide open → slide close.
        NOTE: Make sure not to release the switch during the initialization. If the switch is released, perform the initialization again.
      5. The initialization is completed.
      6. Check that the sliding roof operates normally by operating the AUTO slide open and close function.

        HINT:

        • If the sliding roof becomes misaligned, press the TILT UP switch so that the roof glass stops moving or starts moving in the reverse direction, and continue to hold the switch for another 10 seconds or more to erase the initial settings. Then perform the initialization again.
        • If the jam protection function does not operate, perform the initialization again.