LEMON Manuals: Even more car manuals for everyone
Home >> Lexus >> 2007 >> LS 460L >> Repair and Diagnosis >> Electrical >> Charging Systems >> Charging >> Generator >> Reassembly

Charging Systems: Charging: Generator: Reassembly

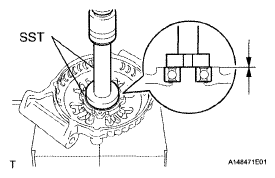
  1. INSTALL GENERATOR ROTOR BEARING 
    1. Using SST and a press, press a new generator rotor bearing into the drive end frame.

      SST 09950-60010 (09951 -00500), 09950-70010 (09951-07100) 

      Fig 1: Pressing Generator Rotor Bearing Into Drive End Frame
      G04943974Courtesy of © TOYOTA, LICENSE AGREEMENT TMS1002
    2. Align the protrusions of the retainer with the drive end frame's cutouts, and then install the retainer with the 4 screws.

      Torque: 3.0 N*m (30 kgf*cm, 27 in.*lbf) 

      Fig 2: Aligning Protrusions Of Retainer With Drive End Frame Cutouts
      G04943975Courtesy of © TOYOTA, LICENSE AGREEMENT TMS1002
  2. INSTALL GENERATOR ROTOR ASSEMBLY 
    1. Install the generator rotor assembly.
      Fig 3: Locating Generator Rotor Assembly
      G04943965Courtesy of © TOYOTA, LICENSE AGREEMENT TMS1002
    2. Install the generator washer.
      Fig 4: Locating Generator Washer
      G04943964Courtesy of © TOYOTA, LICENSE AGREEMENT TMS1002
  3. INSTALL GENERATOR COIL ASSEMBLY 
    1. Using SST and a press, press the generator coil into the drive end frame.

      SST 09612-70100 

      Fig 5: Pressing Generator Coil Into Drive End Frame
      G04943978Courtesy of © TOYOTA, LICENSE AGREEMENT TMS1002
    2. Tighten the 4 through bolts.

      Torque: 5.8 N*m (59 kgf*cm, 51 in.*lbf) 

      Fig 6: Locating Generator Coil Assembly Bolts
      G04943962Courtesy of © TOYOTA, LICENSE AGREEMENT TMS1002
  4. INSTALL GENERATOR BRUSH HOLDER ASSEMBLY 
    1. Insert a pin (diameter 1.0 mm) into the generator brush holder assembly to fix the 2 brushes in place.
      Fig 7: Inserting Pin Into Generator Brush Holder Assembly
      G04943980Courtesy of © TOYOTA, LICENSE AGREEMENT TMS1002
    2. Install the generator brush holder to the generator coil with the 2 screws.

      Torque: 1.8 N*m (18 kgf*cm, 16 in.*lbf) 

    3. Remove the pin (diameter 1.0 mm).
      Fig 8: Locating Generator Brush Holder Screws
      G04943981Courtesy of © TOYOTA, LICENSE AGREEMENT TMS1002
  5. INSTALL GENERATOR TERMINAL INSULATOR 
    1. Install the generator terminal insulator to the generator coil.
      Fig 9: Identifying Generator Terminal Insulator
      G04943982Courtesy of © TOYOTA, LICENSE AGREEMENT TMS1002
  6. INSTALL GENERATOR REAR END COVER 
    1. Install the generator rear end cover to the generator coil with the 3 nuts.

      Torque: 4.6 N*m (47 kgf*cm, 41 in.*lbf) 

      Fig 10: Locating Generator Rear End Cover Nuts
      G04943959Courtesy of © TOYOTA, LICENSE AGREEMENT TMS1002
  7. INSTALL GENERATOR PULLEY 

    SST 09820-63010 (09820-06010, 09820-06020) 

    1. Install the generator pulley, and temporarily install the pulley lock nut.
    2. Install SST1 -A to the pulley shaft.
    3. Install SST1 -B to SST1 -A.
    4. Hold SST 1-A on the pulley shaft area, and tighten SST 1-B to the specified torque.

      Torque: 39.2 N*m (400 kgf*cm, 29 ft.*lbf) 

      Fig 11: Installing Pulley Lock Nut
      G04943984Courtesy of © TOYOTA, LICENSE AGREEMENT TMS1002
      NOTE: Securely fix SST1-A to the pulley shaft.

      HINT:

      Read SST1-B tightening torque by using the reactive torque of SST1-A.

    5. Mount 2 faces of SST2 in a vise.
    6. With SST1 -A and B attached to the generator, insert the pulley lock nut into the hexagon portion of SST2.
      Fig 12: Mounting Faces Of SST2 In Vise
      G04943956Courtesy of © TOYOTA, LICENSE AGREEMENT TMS1002
    7. To tighten the pulley nut, rotate SST1-A in the generator's reverse rotation direction.

      Torque: 133 N*m (1351 kgf*cm, 98 ft.*lbf) 

    8. Remove the generator from SST2.
      Fig 13: Removing Generator From SST2
      G04943986Courtesy of © TOYOTA, LICENSE AGREEMENT TMS1002
    9. Fix SST1-B in place, and rotate SST1-A to the right to loosen it. Then remove SST1-A and B from the generator.
    10. Check that the pulley rotates smoothly.
      Fig 14: Removing SST1-A And B From Generator
      G04943987Courtesy of © TOYOTA, LICENSE AGREEMENT TMS1002