LEMON Manuals: Even more car manuals for everyone
Home >> Lexus >> 2007 >> LS 460L >> Repair and Diagnosis (Single Page) >> Engine Performance >> System >> Engine Control System - Diagnostic Codes (3 Of 4) >> DTC P0661 Intake Manifold Tuning Valve Control Circuit Low; DTC P0662 Intake Manifold Tuning Valve Control Circuit High >> Description

DTC P0661 Intake Manifold Tuning Valve Control Circuit Low; DTC P0662 Intake Manifold Tuning Valve Control Circuit High: Description

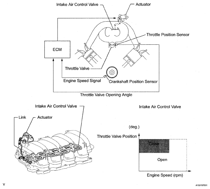
Based on the engine speed and throttle opening angle information from the ECM, the acoustic control induction system controls the intake air control valve actuator. In order to change the effective length of the intake manifold, the air control valve actuator opens and closes the intake manifold's ACIS valve via the link. As a result, the low-to-medium speed range torque and high rpm range performance are improved.

Fig 1: Throttle Valve Opening Angle - System Diagram
G04942840Courtesy of © TOYOTA, LICENSE AGREEMENT TMS1002
DTC DETECTION CONDITION CHART

DTC No. DTC Detection Condition Trouble Area
P0661 Open in intake air control valve actuator circuit
(2 trip detection logic)
  • Intake manifold
  • Intake air control valve actuator
  • Intake air control valve actuator circuit
  • ECM
P0662 Motor operation circuit (ECM interior) detects overcurrent or overheat
(2 trip detection logic)
  • Intake manifold
  • Intake air control valve actuator
  • Intake air control valve actuator circuit
  • ECM