LEMON Manuals: Even more car manuals for everyone
Home >> Lexus >> 2007 >> LS 460L >> Repair and Diagnosis (Single Page) >> Accessories & Equipment >> Communication Devices >> Can Communication >> Can Communication System >> Integration Control and Panel Assembly Communication Stop Mode >> Wiring Diagram

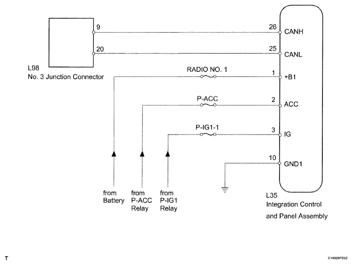
Integration Control and Panel Assembly Communication Stop Mode: Wiring Diagram

HINT:

For vehicles without multi-display only.

Fig 1: Integration Control And Panel Assembly - Wiring Diagram
G04953650Courtesy of © TOYOTA, LICENSE AGREEMENT TMS1002