LEMON Manuals: Even more car manuals for everyone
Home >> Lexus >> 2007 >> LS 460L >> Repair and Diagnosis (Single Page) >> Accessories & Equipment >> Communication Devices >> Can Communication >> Can Communication System >> Display and Navigation Assembly Communication Stop Mode >> Wiring Diagram

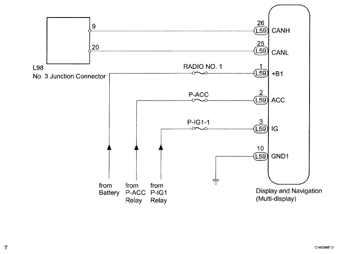
Display and Navigation Assembly Communication Stop Mode: Wiring Diagram

HINT:

For vehicles with multi-display only.

Fig 1: Display And Navigation Assembly - Wiring Diagram
G04953647Courtesy of © TOYOTA, LICENSE AGREEMENT TMS1002