LEMON Manuals: Even more car manuals for everyone
Home >> Lexus >> 2007 >> IS 350 >> Repair and Diagnosis >> General Information >> Identification >> Introduction >> Repair Instruction >> Precaution

Repair Instruction: Precaution

  1. BASIC REPAIR HINT 
    1. HINTS ON OPERATIONS
      Fig 1: Basic Repair Hint - Operations
      G05315783Courtesy of © TOYOTA, LICENSE AGREEMENT TMS1002
      REFERENCE CHART

      1 Attire
      • Always wear a clean uniform.
      • Hat and safety shoes must be worn.
      2 Vehicle protection Prepare a grille cover, fender cover, seat cover and floor mat before starting the operation.
      3 Safety operation
      • When working with 2 or more persons, be sure to check safety for one another.
      • When working with the engine running, make sure to provide ventilation for exhaust fumes in the workshop.
      • If working on high temperature, high pressure, rotating, moving, or vibrating parts, wear appropriate safety equipment and take extra care not to injure yourself or others.
      • When jacking up the vehicle, be sure to support the specified location with a safety stand.
      • When lifting up the vehicle, use appropriate safety equipment.
      4 Preparation of tools and measuring gauge Before starting operation, prepare a tool stand, SST, gauge, oil and parts for replacement.
      5 Removal and installation, disassembly and assembly operations
      • Diagnose with a thorough understanding of proper procedures and of the reported problem.
      • Before removing the parts, check the general condition of the assembly and for deformation and damage.
      • When the assembly is complicated, take notes. For example, note the total number of electrical connections, bolts, or hoses removed. Add matchmarks to insure reassembly of components in the original positions. Temporarily mark hoses and their fittings if needed.
      • Clean and wash the removed parts if necessary and assemble them after a thorough check.
      6 Removed parts
      • Place the removed parts in a separate box to avoid mixing them up with the new parts or contaminating the new parts.
      • For non-reusable parts such as gaskets, O-rings, and self-locking nuts, replace them with new ones as instructed in this manual.
      • Retain the removed parts for customer inspection, if requested.
    2. JACKING UP AND SUPPORTING VEHICLE
      1. Care must be taken when jacking up and supporting the vehicle. Be sure to lift and support the vehicle at the proper locations.
    3. PRECOATED PARTS
      1. Precoated parts are bolts and nuts that are coated with a seal lock adhesive at the factory.
      2. If a precoated part is retightened, loosened or moved in any way, it must be recoated with the specified adhesive.
      3. When reusing a precoated part, clean off the old adhesive and dry the part with compressed air. Then apply new seal lock adhesive appropriate to that part.
        Fig 2: Applying Seal Lock Adhesive To Bolt
        G05315784Courtesy of © TOYOTA, LICENSE AGREEMENT TMS1002
      4. Some seal lock agents harden slowly. You may have to wait for the seal lock adhesive to harden.
    4. GASKETS
      1. When necessary, use a sealer on gaskets to prevent leaks.
    5. BOLTS, NUTS AND SCREWS
      1. Carefully follow all the specifications for tightening torques. Always use a torque wrench.
    6. FUSES
      1. When inspecting a fuse, check that the wire of the fuse is not broken.
      2. When replacing fuses, be sure that the new fuse has the correct amperage rating. Do not exceed the rating or use one with a lower rating.
        Fig 3: Identifying Fuse Condition
        G04947314Courtesy of © TOYOTA, LICENSE AGREEMENT TMS1002
        FUSE SPECIFICATION

        Illustration Symbol Part Name Abbreviation
        G05315786Courtesy of © TOYOTA, LICENSE AGREEMENT TMS1002
        G05315787Courtesy of © TOYOTA, LICENSE AGREEMENT TMS1002
        FUSE FUSE
        G05315788Courtesy of © TOYOTA, LICENSE AGREEMENT TMS1002
        G05315789Courtesy of © TOYOTA, LICENSE AGREEMENT TMS1002
        MEDIUM CURRENT FUSE M FUSE
        G05315790Courtesy of © TOYOTA, LICENSE AGREEMENT TMS1002
        G05315791Courtesy of © TOYOTA, LICENSE AGREEMENT TMS1002
        HIGH CURRENT FUSE H-FUSE
        G05315792Courtesy of © TOYOTA, LICENSE AGREEMENT TMS1002
        G05315793Courtesy of © TOYOTA, LICENSE AGREEMENT TMS1002
        FUSIBLE LINK FL
        G05315794Courtesy of © TOYOTA, LICENSE AGREEMENT TMS1002
        G05315795Courtesy of © TOYOTA, LICENSE AGREEMENT TMS1002
        CIRCUIT BREAKER CB
    7. CLIPS
      1. The removal and installation methods of typical clips used for vehicle body parts are shown in the table below.

        HINT:

        If clips are damaged during a procedure, always replace the clips with new clips.

        CLIPS REMOVAL/INSTALLATION DESCRIPTION

        Shape (Example) Illustration Procedures
        G05315796Courtesy of © TOYOTA, LICENSE AGREEMENT TMS1002
        G05315797Courtesy of © TOYOTA, LICENSE AGREEMENT TMS1002
        • Remove clips with a clip remover or pliers.
        G05315798Courtesy of © TOYOTA, LICENSE AGREEMENT TMS1002
        G05315799Courtesy of © TOYOTA, LICENSE AGREEMENT TMS1002
        • Remove clips with a clip remover or screwdriver.
        G05315800Courtesy of © TOYOTA, LICENSE AGREEMENT TMS1002
        G05315801Courtesy of © TOYOTA, LICENSE AGREEMENT TMS1002
        • Remove clips with a wide scraper to prevent panel damage.
        G05315802Courtesy of © TOYOTA, LICENSE AGREEMENT TMS1002
        G05315803Courtesy of © TOYOTA, LICENSE AGREEMENT TMS1002
        • Remove clips by pushing the center pin through and prying out the shell.
        G05315804Courtesy of © TOYOTA, LICENSE AGREEMENT TMS1002
        G05315805Courtesy of © TOYOTA, LICENSE AGREEMENT TMS1002
        • Remove clips by unscrewing the center pin and prying out the shell.
        G05315806Courtesy of © TOYOTA, LICENSE AGREEMENT TMS1002
        G05315807Courtesy of © TOYOTA, LICENSE AGREEMENT TMS1002
        • Remove clips by prying out the pin and then prying out the shell.
    8. CLAWS
      1. The removal and installation methods of typical claws used for vehicle body parts are shown in the table below.

        HINT:

        If claws of caps or covers are damaged during a procedure, always replace the caps or covers with new ones.

        CLAWS REMOVAL/INSTALLATION DESCRIPTION

        Shape (Example) Illustration Procedures
        G05315808Courtesy of © TOYOTA, LICENSE AGREEMENT TMS1002
        G05315809Courtesy of © TOYOTA, LICENSE AGREEMENT TMS1002
        • Using a screwdriver, detach the claws and remove the caps or covers.
        G05315810Courtesy of © TOYOTA, LICENSE AGREEMENT TMS1002
        G05315811Courtesy of © TOYOTA, LICENSE AGREEMENT TMS1002
        • Using a screwdriver, detach the claws and remove the caps or covers.
        G05315812Courtesy of © TOYOTA, LICENSE AGREEMENT TMS1002
        G05315813Courtesy of © TOYOTA, LICENSE AGREEMENT TMS1002
        • Using a screwdriver, detach the claws and remove the caps or covers.
    9. REMOVAL AND INSTALLATION OF VACUUM HOSES
      1. To disconnect a vacuum hose, pull and twist from the end of the hose. Do not pull from the middle of the hose as this may cause damage.
        Fig 4: Precaution For Vacuum Hose
        G04947343Courtesy of © TOYOTA, LICENSE AGREEMENT TMS1002
      2. When disconnecting vacuum hoses, use tags to identify where they should be reconnected.
      3. After completing any hose related repairs, double check that the vacuum hoses are properly connected. The label under the hood shows the proper layout.
      4. When using a vacuum gauge, never force the hose onto a connector that is too large. If a hose has been stretched, it may leak air. Use a step-down adapter if necessary.
        Fig 5: Applying Tag On Vacuum Hoses
        G04947344Courtesy of © TOYOTA, LICENSE AGREEMENT TMS1002
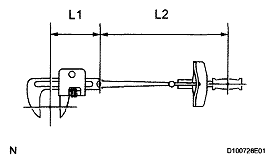
    10. TORQUE WHEN USING TORQUE WRENCH WITH EXTENSION TOOL
      Fig 6: Identifying Torque Wrench Dimension
      G04947345Courtesy of © TOYOTA, LICENSE AGREEMENT TMS1002
      1. Use the formula below to calculate special torque values for situations where SST or an extension tool is combined with a torque wrench.

        Formula: T' - L2 / (L1 + L2) * T 

        FORMULA ABBREVIATION

        T' Reading of torque wrench {N*m (kgf*cm, ft.*lbf)>
        T Torque {N*m (kgf*cm, ft.*lbf)}
        L1 Length of SST or extension tool {cm (in.)}
        L2 Length of torque wrench {cm (in.)}
        Fig 7: Identifying Torque Wrench Dimension
        G04947346Courtesy of © TOYOTA, LICENSE AGREEMENT TMS1002
        NOTE: If an extension tool or SST is combined with a torque wrench and the wrench is used to tighten to a torque specification in this article, the actual torque will be excessive and parts will be damaged.
  2. FOR VEHICLES EQUIPPED WITH SRS AIRBAG AND SEAT BELT PRETENSIONER 

    The LEXUS IS250/350 is equipped with a Supplemental Restraint System (SRS).

    CAUTION: Failure to carry out the service operations in the correct sequence could cause the SRS to unexpectedly deploy during servicing and lead to serious injury. Furthermore, if a mistake is made when servicing SRS, it is possible that the SRS may fail to operate properly. Before servicing (including removal or installation of parts, inspection or replacement), be sure to read the following section carefully.
    1. GENERAL NOTICE
      1. As malfunctions of the SRS are difficult to confirm, the Diagnostic Trouble Codes (DTCs) become the most important source of information when troubleshooting. When troubleshooting the SRS, always check the DTCs before disconnecting the battery.
      2. Work must be started at least 90 seconds after the ignition switch is turned off and after the cable is disconnected from the negative (-) battery terminal.

        The SRS is equipped with a back-up power source. If work is started within 90 seconds after turning the ignition switch off and disconnecting the cable from the negative (-) battery terminal, the SRS may deploy.

        When the cable is disconnected from the negative (-) battery terminal, clock and audio system memory is erased. Before starting work, make a note of the settings of each memory system. When work is finished, reset the clock and audio system as before.

        CAUTION: Never use a back-up power source (battery or other) to avoid erasing system memory. The back-up power source may inadvertently power the SRS and cause it to deploy.
      3. In minor collisions where the SRS does not deploy, the steering pad, front passenger airbag assembly, driver side knee airbag assembly, passenger side knee airbag assembly, front seat side airbag assembly, curtain shield airbag assembly and front seat outer belt assembly should be inspected before further use of the vehicle.

        (See DISPOSAL for steering pad) (See DISPOSAL for front passenger airbag assembly)

        (See DISPOSAL for front seat side airbag assembly)

        (See DISPOSAL for driver side knee airbag assembly)

        (See DISPOSAL for passenger side knee airbag assembly)

        (See DISPOSAL for curtain shield airbag assembly)

        (See DISPOSAL for front seat outer belt assembly)

      4. Never use SRS parts from another vehicle. When replacing parts, use new parts.
      5. Before repairs, remove the airbag sensor assemblies if impacts are likely to be applied to the sensor during repairs.
      6. Never disassemble and attempt to repair all airbag sensor assemblies and all airbag assemblies.
        1. Steering pad
        2. Front passenger airbag assembly
        3. Driver side knee airbag assembly
        4. Passenger side knee airbag assembly
        5. Front seat side airbag assembly
        6. Curtain shield airbag assembly
        7. Front seat outer belt assembly
      7. Replace the airbag sensor assemblies and the airbag assemblies if: 1) damage has occurred from being dropped, or 2) cracks, dents or other defects in the case, bracket or connector are present.
      8. Do not directly expose the airbag sensor assembly or airbag assembly to hot air or flames.
      9. Use a voltmeter / ohmmeter with high impedance (minimum=10 kΩ) for troubleshooting electrical circuits.
      10. Information labels are attached to the SRS components. Follow the instructions on the labels.
      11. After work on the SRS is completed, check the SRS warning light.
    2. SPIRAL CABLE
      1. The steering wheel must be fitted correctly to the steering column with the spiral cable at the neutral position, as cable disconnection and other problems may occur. Refer to the information about correct installation of the steering wheel (See INSTALLATION ).
    3. STEERING PAD
      1. Always place a removed or new steering pad surface upward as shown in the illustration. Placing the horn button with the pad surface facing down could cause a serious accident if the airbag inflates. Also, do not place anything on top of the horn button.
        Fig 8: Identifying Spiral Cable Marks
        G04972343Courtesy of © TOYOTA, LICENSE AGREEMENT TMS1002
        Fig 9: Identifying Correct Way Of Placing Removed Or New Steering Pad
        G05315819Courtesy of © TOYOTA, LICENSE AGREEMENT TMS1002
      2. Never measure the resistance of the airbag squib. This may cause the airbag to inflate, which could cause serious injury.
        Fig 10: Identifying Precaution For Airbag Squib
        G04827586Courtesy of © TOYOTA, LICENSE AGREEMENT TMS1002
      3. Grease or detergents of any kind should not be applied to the horn button.
      4. Store the horn button assembly in an area where the ambient temperature is below 93°C (200°F), the humidity is not high and there is no electrical noise.
      5. When using electric welding anywhere on the vehicle, disconnect the airbag ECU connectors (4 pins). These connectors contain shorting springs. This feature reduces the possibility of the airbag deploying due to current entering the squib wiring.
      6. When disposing of the vehicle or the horn button assembly by itself, the airbag should be deployed using SST before disposal (See DISPOSAL ). Activate the airbag in a safe place away from electrical noise.
    4. FRONT PASSENGER AIRBAG ASSEMBLY
      1. Always place a removed or new front passenger airbag assembly with the pad surface facing upward as shown in the illustration. Placing the airbag assembly with the airbag inflation direction facing down could cause a serious accident if the airbag inflates.
        Fig 11: Identifying Correct Way Of Placing Removed Or New Front Passenger Airbag Assembly With Pad Surface
        G05315821Courtesy of © TOYOTA, LICENSE AGREEMENT TMS1002
      2. Never measure the resistance of the airbag squib. This may cause the airbag to inflate, which could cause serious injury.
        Fig 12: Identifying Precaution For Front Passenger Airbag Assembly
        G04827588Courtesy of © TOYOTA, LICENSE AGREEMENT TMS1002
      3. Grease or detergents of any kind should not be applied to the front passenger airbag assembly.
      4. Store the airbag assembly in an area where the ambient temperature is below 93°C (200°F), the humidity is not high and there is no electrical noise.
      5. When using electric welding anywhere on the vehicle, disconnect the airbag ECU connectors (4 pins). These connectors contain shorting springs. This feature reduces the possibility of the airbag deploying due to current entering the squib wiring.
      6. When disposing of the vehicle or the airbag assembly unit by itself, the airbag should be deployed using SST before disposal (See DISPOSAL ). Activate in a safe place, away from electrical noise.
    5. DRIVER SIDE KNEE AIRBAG ASSEMBLY
      1. Always place a removed or new knee airbag assembly with the airbag inflation direction facing upward. Placing the airbag assembly with the airbag inflation direction facing downward could cause a serious accident if the airbag inflates.
        Fig 13: Identifying Correct Way Of Placing Removed Or New Driver Side Knee Airbag Assembly With Airbag Inflation
        G05315823Courtesy of © TOYOTA, LICENSE AGREEMENT TMS1002
      2. Never measure the resistance of the airbag squib. This may cause the airbag to inflate, which could cause serious injury.
        Fig 14: Identifying Precaution For Driver Side Knee Airbag Assembly
        G04972349Courtesy of © TOYOTA, LICENSE AGREEMENT TMS1002
      3. Grease or detergents of any kind should not be applied to the knee airbag assembly.
      4. Store the knee airbag assembly where the ambient temperature is below 93°C (200°F), the humidity is not high and there is no electrical noise.
      5. When using electric welding anywhere on the vehicle, disconnect the airbag ECU connectors (2 pins). These connectors contain shorting springs. This feature reduces the possibility of the airbag deploying due to current entering the squib wiring.
      6. When disposing of a vehicle or knee airbag assembly unit by itself, the airbag should be inflated using SST before disposal (See DISPOSAL ). Activate in a safe place, away from electrical noise.
    6. PASSENGER SIDE KNEE AIRBAG ASSEMBLY
      1. Always place a removed or new knee airbag assembly with the airbag inflation direction facing upward. Placing the airbag assembly with the airbag inflation direction facing downward could cause a serious accident if the airbag inflates.
        Fig 15: Identifying Correct Way Of Placing Removed Or New Passenger Side Knee Airbag Assembly With Airbag Inflation
        G05315825Courtesy of © TOYOTA, LICENSE AGREEMENT TMS1002
      2. Never measure the resistance of the airbag squib. This may cause the airbag to inflate, which could cause serious injury.
        Fig 16: Identifying Precaution For Passenger Side Knee Airbag Assembly
        G05315826Courtesy of © TOYOTA, LICENSE AGREEMENT TMS1002
      3. Grease or detergents of any kind should not be applied to the knee airbag assembly.
      4. Store the knee airbag assembly where the ambient temperature is below 93°C (200°F), the humidity is not high and there is no electrical noise.
      5. When using electric welding anywhere on the vehicle, disconnect the airbag ECU connectors (2 pins). These connectors contain shorting springs. This feature reduces the possibility of the airbag deploying due to current entering the squib wiring.
      6. When disposing of a vehicle or knee airbag assembly unit by itself, the airbag should be inflated using SST before disposal (See DISPOSAL ). Activate in a safe place, away from electrical noise.
    7. FRONT SEAT SIDE AIRBAG ASSEMBLY
      1. Always place a removed or new front seat side airbag assembly with the airbag inflation direction facing up.
      2. Never measure the resistance of the airbag squib. This may cause the airbag to inflate, which could cause serious injury.
        Fig 17: Identifying Precaution For Front Seat Side Airbag Assembly
        G04960856Courtesy of © TOYOTA, LICENSE AGREEMENT TMS1002
      3. Grease or detergents of any kind should not be applied to the front seat side airbag assembly.
      4. Store the airbag assembly in an area where the ambient temperature is below 93°C (200°F), the humidity is not high and there is no electrical noise.
      5. When using electric welding anywhere on the vehicle, disconnect the airbag ECU connectors (2 pins). These connectors contain shorting springs. This feature reduces the possibility of the airbag deploying due to current entering the squib wiring.
      6. When disposing of a vehicle or the airbag assembly unit by itself, the airbag should be deployed using SST before disposal (See DISPOSAL ). Activate in a safe place away from electrical noise.
    8. CURTAIN SHIELD AIRBAG ASSEMBLY
      1. Always place a removed or new curtain shield airbag assembly in a clear plastic bag, and keep it in a safe place.
        Fig 18: Identifying Correct Way Of Placing Removed Or New Curtain Shield Airbag Assembly In Clear Plastic Bag
        G05315828Courtesy of © TOYOTA, LICENSE AGREEMENT TMS1002
        CAUTION: The plastic bag is not reusable.
        NOTE: Never disassemble the curtain shield airbag assembly.
      2. Never measure the resistance of the airbag squib. This may cause the airbag to inflate, which could cause serious injury.
        Fig 19: Identifying Precaution For Curtain Shield Airbag Assembly
        G04827590Courtesy of © TOYOTA, LICENSE AGREEMENT TMS1002
      3. Grease or detergents of any kind should not be applied to the curtain shield airbag assembly.
      4. Store the airbag assembly in an area where the ambient temperature is below 93°C (200°F), the humidity is not high and there is no electrical noise.
      5. When using electric welding anywhere on the vehicle, disconnect the airbag ECU connectors (4 pins). These connectors contain shorting springs. This feature reduces the possibility of the airbag deploying due to current entering the squib wiring.
      6. When disposing of a vehicle or the airbag assembly unit by itself, the airbag should be deployed using SST before disposal (See DISPOSAL ). Activate in a safe place away from electrical noise.
    9. FRONT SEAT OUTER BELT ASSEMBLY AND REAR SEAT OUTER BELT ASSEMBLY (SEAT BELT PRETENSIONER)
      1. Never measure the resistance of the seat outer belt. This may cause the pretensioner of the seat belt to activate, which could cause serious injury.
        Fig 20: Identifying Precaution For Front Seat Outer Belt Assembly
        G04960859Courtesy of © TOYOTA, LICENSE AGREEMENT TMS1002
      2. Never disassemble the seat outer belt.
      3. Never install the seat outer belt on another vehicle.
      4. Store the seat outer belt in an area where the ambient temperature is below 80°C (176°F), the humidity is not high and there is no electrical noise.
      5. When using electric welding anywhere on the vehicle, disconnect the airbag ECU connectors (2 pins). These connectors contain shorting springs. This feature reduces the possibility of the airbag deploying due to current entering the squib wiring.
      6. When disposing of a vehicle or the seat outer belt unit by itself, the seat outer belt should be activated before disposal (See DISPOSAL ). Activate in a safe place away from electrical noise.
      7. As the seat outer belt is hot after being activated, allow some time for it to cool down sufficiently before disposal. Never apply water to cool down the seat outer belt.
      8. Grease, detergents, oil or water should not be applied to the front seat outer belt.
    10. AIRBAG SENSOR ASSEMBLY
      1. Never reuse an airbag sensor assembly that has been involved in a collision where the SRS has deployed.
      2. The connectors to the airbag sensor assembly should be connected or disconnected with the sensor placed on the floor. If the connectors are connected or disconnected while the airbag sensor assembly is not placed on the floor, the SRS may activate.
      3. Work must be started at least 90 seconds after the ignition switch is turned off and the cable is disconnected from the negative (-) battery terminal, even if only loosening the set bolts of the airbag sensor assembly.
    11. WIRE HARNESS AND CONNECTOR
      1. The SRS wire harness is integrated with the instrument panel wire harness assembly. All the connectors in the system are a standard yellow color. If the SRS wire harness becomes disconnected or the connector becomes broken, repair or replace it.
  3. ELECTRONIC CONTROL 
    1. REMOVAL AND INSTALLATION OF BATTERY TERMINAL
      NOTE: Certain systems need to be initialized after disconnecting and reconnecting the cable from the negative (-) battery terminal.
      Fig 21: Disconnecting Battery Negative Cable
      G04827593Courtesy of © TOYOTA, LICENSE AGREEMENT TMS1002
      1. Before performing electronic work, disconnect the cable from the negative (-) battery terminal to prevent component and wire damage caused by accidental short circuits.
      2. When disconnecting the cable, turn the ignition switch and headlight dimmer switch off and loosen the cable nut completely. Perform these operations without twisting or prying the cable. Then disconnect the cable.
      3. Clock settings, radio settings, audio system memory, DTCs and other data are erased when the cable is disconnected from the negative (-) battery terminal. Write down any necessary data before disconnecting the cable.
    2. HANDLING OF ELECTRONIC PARTS
      1. Do not open the cover or case of the ECU unless absolutely necessary. If the IC terminals are touched, the IC may be rendered inoperative by static electricity.
      2. Do not pull the wires when disconnecting electronic connectors. Pull the connector itself.
      3. Do not drop electronic components, such as sensors or relays. If they are dropped on a hard surface, they should be replaced.
        Fig 22: Identifying Precaution For Handling Of Electronic Parts
        G04960861Courtesy of © TOYOTA, LICENSE AGREEMENT TMS1002
      4. When cleaning the engine with steam, protect the electronic components, air filter and emission-related components from water.
      5. Never use an impact wrench to remove or install temperature switches or temperature sensors.
      6. When measuring the resistance between terminals of a wire connector, insert the tester probe carefully to prevent terminals from bending.
  4. REMOVAL AND INSTALLATION OF FUEL CONTROL PARTS 
    1. PLACE FOR REMOVING AND INSTALLING FUEL SYSTEM PARTS
      1. Work in a location with good air ventilation that does not have welders, grinders, drills, electric motors, stoves, or any other ignition sources.
      2. Never work in a pit or near a pit as vaporized fuel will collect in those places.
    2. REMOVING AND INSTALLING FUEL SYSTEM PARTS
      1. Prepare a fire extinguisher before starting the operation.
      2. To prevent static electricity, install a ground wire to the fuel changer, vehicle and fuel tank, do not spray the surrounding area with water. Be careful when performing work in this area, as the work surface will become slippery. Do not clean up gasoline spills with water, as this may cause the gasoline to spread, and possibly create a fire hazard.
      3. Avoid using electric motors, working lights and other electric equipments that can cause sparks or high temperatures.
      4. Avoid using iron hammers as they may create sparks.
      5. Dispose of fuel-contaminated cloth separately using a fire resistant container.
  5. REMOVAL AND INSTALLATION OF ENGINE INTAKE PARTS 
    1. If any metal particles enter inlet system parts, this may damage the engine.
    2. When removing and installing inlet system parts, cover the openings of the removed parts and engine openings. Use gummed tape or other suitable materials.
    3. When installing inlet system parts, check that no metal particles have entered the engine or the installed parts.
      Fig 23: Covering Openings Of Removed Parts And Engine Openings
      G04827595Courtesy of © TOYOTA, LICENSE AGREEMENT TMS1002
  6. HANDLING OF HOSE CLAMPS 
    1. Before removing the hose, check the clamp position so that it can be reinstalled in the same position.
    2. Replace any deformed or dented clamps with new ones.
    3. When reusing a hose, attach the clamp on the clamp track portion of the hose.
    4. For a spring type clamp, you may want to spread the tabs slightly after installation by pushing in the direction of the arrows as shown in the illustration.
      Fig 24: Identifying Clamp Track And Spring Type Clamp
      G04827596Courtesy of © TOYOTA, LICENSE AGREEMENT TMS1002
  7. FOR VEHICLES EQUIPPED WITH MOBILE COMMUNICATION SYSTEMS 
    1. Install the antenna far away from the ECU and sensors of the vehicle electronic systems as possible.
    2. Install an antenna feeder at least 20 cm (7.87 in.) away from the ECU and sensors of the vehicle electronic systems. For details about ECU and sensors locations, refer to the section on the applicable components.
      Fig 25: Identifying Antenna Far Away From ECU And Sensors Of Vehicle Electronic Systems
      G05315835Courtesy of © TOYOTA, LICENSE AGREEMENT TMS1002
    3. Keep the antenna and feeder separate from other wirings as much as possible. This will prevent signals sent from the communication equipment from affecting vehicle equipment and vice-versa.
    4. Check that the antenna and feeder are correctly adjusted.
    5. Do not install any high-powered mobile communication system.
  8. HEADLIGHT INSPECTION MAINTENANCE 
    1. When the headlight dimmer switch assembly is set to HEAD, do not touch the discharge headlight's high-voltage socket area.
      NOTE: When performing inspection maintenance, the discharge headlight's precautions must be followed.
    2. When the headlights are illuminated, do not cover the headlights for 3 minutes or more.
      NOTE: As the headlight's outer lens is made of resin, the resulting heat created when covering the headlight for an extended period of time may deform the headlight.
      Fig 26: Covering Headlights
      G05315836Courtesy of © TOYOTA, LICENSE AGREEMENT TMS1002
  9. FOR VEHICLES EQUIPPED WITH TRAC (TRACTION CONTROL) SYSTEM AND VSC (VEHICLE STABILITY CONTROL) SYSTEM 
    1. NOTICES FOR WHEN TESTING WITH 2-WHEEL DRUM TESTER
      1. When testing with a 2-wheel drum tester such as a speedometer tester, a combination tester for the speedometer and brake, a chassis dynamometer, enter maintenance mode, or switch to VSC OFF mode to turn TRC and VSC operation off. Then enter test mode, start the engine and perform measurements.
        CAUTION:
        • If the vehicle is tested in normal mode on the drum tester, TRC and VSC operation may cause the vehicle to jump out from the drum tester.
        • When switching to VSC OFF mode, the VSC OFF switch must be held for 3 seconds or more with the vehicle stopped. TRC and VSC operation must both be turned off before beginning testing.
        • During VSC OFF mode, the combination meter's SLIP indicator light and VSC OFF indicator light illuminate.
        • Fix the vehicle in place with chains for safety.
    2. NOTICES FOR VSC RELATED PROCEDURES
      1. For VSC related parts, adjustments are required after removal and installation. Therefore, perform removal and installation only when necessary.
      2. When performing VSC related procedures, be sure to strictly follow the preparation and completion procedures.
      3. When performing removal and installation or replacement of VSC related parts, first disconnect the cable from the negative (-) battery terminal.
  10. WHEN SERVICING FULL-TIME 4WD VEHICLES 
    1. The full-time 4WD LEXUS IS250/350 is equipped with the four wheel drive control system. If incorrect preparations or test procedures are used, the test will not only be unsuccessful, but may be dangerous as well.

      Therefore, before beginning any such servicing or test, be sure to check the following items:

      1. Whether the tires are touching the ground or jacked up
      2. Transmission gear position
      3. Maximum testing vehicle speed
      4. Maximum testing time
        CAUTION:
        • Never accelerate or decelerate the vehicle suddenly
        • Observe the other cautions given for each individual test.
    2. Using Braking Force Tester (Vehicle Speed: Below 0.5 km/h (0.3 mph))

      When performing low-speed type brake tester measurements, observe the following instructions:

      1. Position the wheels to be tested (front or rear) on the tester.
      2. Shift the transmission shift lever to the "N" position.
      3. If the vehicle is equipped with Vehicle Stability Control (VSC) & Traction Control (TRAC) system, prohibit the system from the activation.
      4. Idle the engine, operate the brake booster and perform the test.
        Fig 27: Positioning Wheels To Be Tested (Front Or Rear) On Tester
        G05315837Courtesy of © TOYOTA, LICENSE AGREEMENT TMS1002
    3. Using Speedometer Tester:

      Observe the following instructions and then measure with the rear wheels.

      1. Position the rear wheels on the tester roller.
      2. Position the front wheels on the free roller of jack them up.
      3. Ensure that the vehicle does not move using wires.
      4. If the vehicle is equipped with Vehicle Stability Control (VSC) & Traction Control (TRAC) system, prohibit the system from the activation.
      5. Ensure that the vehicle does not move using wires.
        Fig 28: Positioning Front Wheels On Free Roller Of Jack Up
        G05315838Courtesy of © TOYOTA, LICENSE AGREEMENT TMS1002
        CAUTION: The maximum speed should be less than 60 km/h (37 mph) and maximum driving time should be 1 minute.

        HINT:

        • Sudden shifting, braking, acceleration or deceleration is not allowed.
        • Do not forget to change the Vehicle Stability Control (VSC) & Traction Control (TRAC) system to operational condition after the test. Check that the VSC warning indicator light goes off when restarting the engine.
    4. Using Chassis Dynamometer Observe the following instructions and then measure with the rear wheels.
      1. If the vehicle is equipped with Vehicle Stability Control (VSC) & Traction Control (TRAC) system, prohibit the system from the activation.
      2. Ensure that the vehicle is securely fixed.
        Fig 29: Identifying Rear Wheel
        G05315839Courtesy of © TOYOTA, LICENSE AGREEMENT TMS1002

        HINT:

        • Sudden shifting, braking, acceleration or deceleration is not allowed.
        • Do not forget to change the Vehicle Stability Control (VSC) & Traction Control (TRAC) system to operational condition after the test. Check that the VSC warning indicator light goes off when restarting the engine.
    5. On-Vehicle Wheel Balancing:
      NOTE: Do not use on-vehicle wheel balancing.
  11. WHEN TOWING FULL-TIME 4WD VEHICLES 
    • Using one of the methods shown below to tow the vehicle.
    • If the vehicle has trouble in the chassis and drive train, use method 1 (flat bed truck).
      VEHICLES TOWING METHODS

      Towing Method Parking Brake Condition Transmission Shift Lever Position
      1. Flat Bed Truck
      G05315840Courtesy of © TOYOTA, LICENSE AGREEMENT TMS1002
      Applied Any Position
      2. Wheel Lift Type Truck From Front
      G05315841Courtesy of © TOYOTA, LICENSE AGREEMENT TMS1002
      Applied
      NOTE: Do not use any towing method other than those shown above.
    • For example, the towing methods shown below are dangerous or damage the vehicle, so do not use them.
      WRONG VEHICLES TOWING METHODS

      G05315842Courtesy of © TOYOTA, LICENSE AGREEMENT TMS1002
      • Never tow the vehicle using a method where the lifted-up wheel cannot rotate.
      • If this towing method is used, either from the front or rear:
        1. There is a danger of the drive train heating up and causing breakdown, or of the wheels flying off the dolly,
        2. In addition, if the vehicle is equipped with the Vehicle Stability Control (VSC) & Traction Control (TRAC) system, the system will apply the rotating wheels brake unless the engine isn't shut off.
      G05315843Courtesy of © TOYOTA, LICENSE AGREEMENT TMS1002
      Do not use the sling type method, either from the front or rear, as this method causes damage to the body.
  12. FOR VEHICLES EQUIPPED WITH CATALYTIC CONVERTER 
    CAUTION: If a large amount of unburned gasoline or gasoline vapors flow into the converter, it may cause overheating and create a fire hazard. To prevent this, observe the following precautions.
    1. Use only unleaded gasoline.
    2. Avoid idling the engine for more than 20 minutes.
    3. Avoid performing unnecessary spark jump tests.
      1. Perform a spark jump test only when absolutely necessary. Perform this test as rapidly as possible.
      2. While testing, never race the engine.
    4. Avoid a prolonged engine compression measurement. Engine compression measurements must be performed as rapidly as possible.
    5. Do not run the engine when the fuel tank is nearly empty. This may cause the engine to misfire and create an extra load on the converter.
  13. INSPECTION AND ADJUSTMENT OF JOINT ANGLE DURING REMOVAL AND INSTALLATION OF PROPELLER SHAFT 
    1. When performing operations which involve the removal and installation of the propeller shaft, always check the joint angle. Make adjustments if necessary.
      Fig 30: Identifying Inspection And Adjustment Of Joint Angle During Of Propeller Shaft
      G05315844Courtesy of © TOYOTA, LICENSE AGREEMENT TMS1002
    2. When performing operations which involve the removal and installation of the propeller shaft, always check the joint angle. Make adjustments if necessary.
      Fig 31: Identifying Joint Angle During Removal And Installation Of Propeller Shaft (4GR-FSE)
      G05315845Courtesy of © TOYOTA, LICENSE AGREEMENT TMS1002