LEMON Manuals: Even more car manuals for everyone
Home >> Lexus >> 2007 >> IS 350 >> Repair and Diagnosis (Single Page) >> Engine Performance >> System >> Engine Control System (2GR-FSE) - DTC P0136 - P0604 >> DTC P0190 Fuel Rail Pressure Sensor Circuit; DTC P0192 Fuel Rail Pressure Sensor Circuit Low Input; DTC P0193 Fuel Rail Pressure Sensor Circuit High Input >> Wiring Diagram

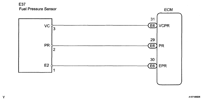
DTC P0190 Fuel Rail Pressure Sensor Circuit; DTC P0192 Fuel Rail Pressure Sensor Circuit Low Input; DTC P0193 Fuel Rail Pressure Sensor Circuit High Input: Wiring Diagram

Fig 1: Fuel Rail Pressure Sensor Circuit - Wiring Diagram
G05315992Courtesy of © TOYOTA, LICENSE AGREEMENT TMS1002