LEMON Manuals: Even more car manuals for everyone
Home >> Lexus >> 2007 >> IS 250 AWD >> Repair and Diagnosis >> Accessories & Equipment >> Infotainment >> Audio / Visual >> Audio And Visual System >> DTC Check/Clear

DTC Check/Clear

HINT:

If the system cannot enter the diagnostic mode, inspect all AVC-LAN communication signals and repair or replace problem parts.

(See AVC-LAN Circuit  )

  1. ENTERING DIAGNOSTIC MODE 
    1. Turn the engine switch on (ACC).
    2. Turn off the audio system.
    3. While pressing the preset switches "1" and "6" at the same time, press the "DISC" switch 3 times.

    HINT:

    A beep is emitted 3 times and the diagnostic function is activated. The system enters the all element illumination mode and the switch check mode.

  2. ALL ELEMENT ILLUMINATION MODE AND SWITCH CHECK MODE 

    HINT:

    Illumination status of all switches and operations of the panel switches can be checked.

    Fig 1: Inspecting AVC-LAN Communication Signals
    G04050089Courtesy of © TOYOTA, LICENSE AGREEMENT TMS1002
    1. Check that all elements are on.
    2. When pressing each panel switch, check that a beep is emitted.
      Fig 2: Checking Elements Are On
      G04050090Courtesy of © TOYOTA, LICENSE AGREEMENT TMS1002
      NOTE: Pressing the "SEEK TRACK UP" switch transfers the screen to the stereo jack adapter connection check screen. Check the operation of this switch by confirming the transfer of the screen.
  3. STEREO JACK ADAPTER CONNECTION CHECK MODE 
    1. Press the "SEEK TRACK UP" switch.
    2. Check if the stereo jack adapter is recognized.
      Fig 3: Checking Stereo Jack Adapter Connection Mode
      G04050091Courtesy of © TOYOTA, LICENSE AGREEMENT TMS1002

      HINT:

      Vehicles that do not have a stereo jack adapter also have this function.

      NOTE: This function is not to check connection information on an external device, but to check recognition information on a stereo jack adapter.
  4. SERVICE CHECK MODE 
    1. Press the "SEEK TRACK UP" switch.

      HINT:

      For details of the service check mode, refer to 6. CHECK DTC and "7. DTC CLEAR/RECHECK ".

  5. FINISHING DIAGNOSTIC MODE 
    1. Press the "DISC" switch for 2 seconds or more, or turn the ignition switch off.
  6. CHECK DTC 

    HINT:

    Illustrations may differ from the actual vehicle depending on the device settings and options. Therefore, some detailed areas may not be shown exactly the same as on the actual vehicle.

    1. Reference:

      In the system check mode, the system check and the diagnostic memory check are performed, and the check results are displayed in ascending order of the component codes (physical address).

    TERMS MEANING

    Terms Meaning
    Component code (Physical address) Three-digit code (in hexadecimal) given to each device comprising AVC-LAN. Corresponding to its function, individual symbol is provided.
    Logical address Two-digit code (in hexadecimal) given to each function and device unit in each device comprising AVC-LAN.
  7. Service check result display
    PREVIOUS TERM MEANING REFERENCE

    Display Previous term Meaning Action to be taken
    good Good (normal) No DTCs are detected in both "System Check Mode" and "Diagnostic Memory Mode ". -
    PREVIOUS TERM MEANING REFERENCE

    Display Previous term Meaning Action to be taken
    nCon No connection The system recognized the component when it was registered, but the component gives no response to the "Diagnostic Mode ON Request ". Check the power source circuit and the communication circuit of the component indicated by the component code (physical address).
    ECHn Exchange One or more DTCs for "Exchange" are detected in either "System Check Mode" or "Diagnostic Memory Mode ". Go to the detailed information mode to check the trouble area referring to the DTC list.
    CHEC Check When no DTCs are detected for "Exchange ", one or more DTCs for "Check" are detected in either "System Check Mode" or "Diagnostic Memory Mode ". Go to the detailed information mode to check the trouble area referring to the DTC list.
    OLd Old version Old DTC application is identified and DTC is detected in either "System Check Mode" or "Diagnostic Memory Mode ". -
    nrES No response The device gives no response to any one of "System Check Mode ON Request ", "System Check Result Request ", and "Diagnostic Memory Request ". Check the power source circuit and the communication circuit of the component indicated by the component code (physical address).
  8. Device name and physical address
    DEVICE NAME AND PHYSICAL ADDRESS

    Physical address No. Name
    190 Radio receiver
    440 Stereo component amplifier
    1C6 Gateway ECU
    1D8 Integration control & panel assembly
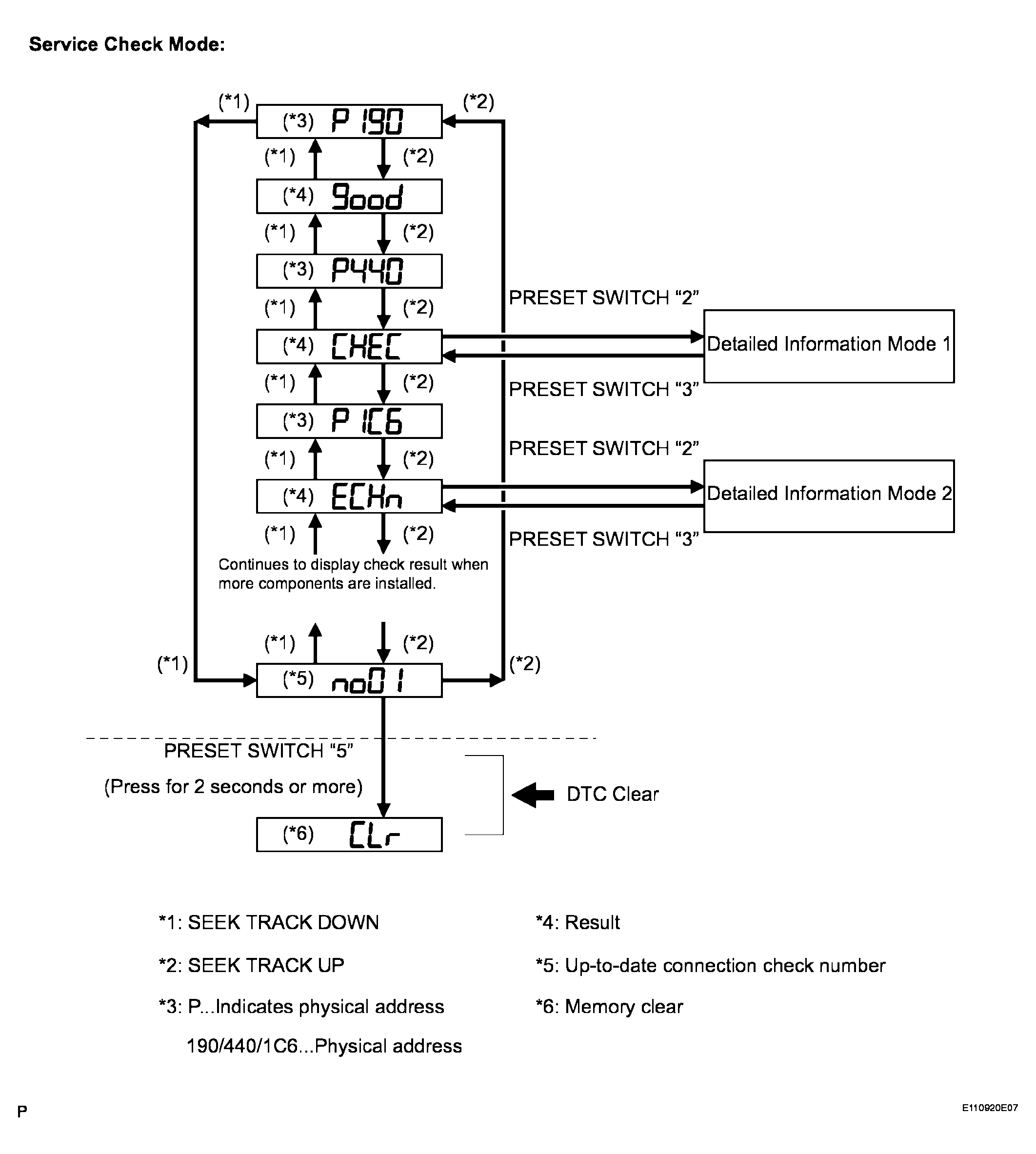
  9. Service check mode
    1. Press the "SEEK TRACK" switch to see the check result of each component.
    2. The component code (physical address) is displayed first, and then the check result follows.

      HINT:

      • If all check results are "good ", the system judges that no DTC exists.
      • If the preset switch "1" is pressed in the service check mode, service check is performed again.
      • This illustration is only an example and may differ in cases such as for each option part and output DTCs.
    Fig 4: Service Check Mode Communication Diagram
    G04050092Courtesy of © TOYOTA, LICENSE AGREEMENT TMS1002
  10. Detailed information mode 1

    HINT:

    • "Detailed information mode 1" is displayed when there is no response to "System Check Result Request" and DTC is detected only in "Diagnostic Memory Request ".
    • The component device code (physical address) is displayed first, and then the check result follows.
    • This illustration is only an example and may differ in cases such as for each option part and output DTCs.
    1. Press the preset switch "2" to go to the "Detailed Information Mode 1 ".
    2. Press the "SEEK TRACK" switch to display the physical address and DTC of the component.
    3. Press the preset switch "3" to go to the Service Check Mode.
    4. Distinguish between the displays of the responses to "System Check Result Request" and "Diagnostic Memory Request ". In order to distinguish the information detected in "System Check Mode" and "Diagnostic Memory Mode" in "ECHn ", "CHEC ", and "OLd" in "Detailed Information Mode 1 ", refer to the following:
      • "SyS" is displayed before the detailed codes detected as a result of "System Check Result Request" are displayed.
      • "COdE" is displayed before the detailed codes detected as a result of "Diagnostic Memory Request" are displayed.

      HINT:

      • The response to "System Check Result Request" is the current information given from each ECU as a result of the system check.
      • The response to "Diagnostic Memory Request" contains the information received from each ECU or stored in each ECU in the past.
      • The response to "Diagnostic Memory Request" is the output DTCs as a result of the diagnostic memory check or the DTCs received from each ECU.
      • "System Check Result Request (SyS)" is displayed first, and then the logical address and DTC appear in order.
      • "Diagnostic Memory Request (COdE)" is displayed first, and then the logical address, DTC, sub-code, connection check number, and the number of occurrence appear in order.
    Fig 5: Service Check Mode Communication Diagram - Detailed Information Mode 1
    G04050093Courtesy of © TOYOTA, LICENSE AGREEMENT TMS1002
  11. Detailed information mode 2

    HINT:

    • "Detailed information mode 2" is displayed when DTCs are detected in the responses to both "System Check Result Request" and "Diagnostic Memory Request ".
    • The component device code (physical address) is displayed first, and then the check result follows.
    • This illustration is only an example and may differ in cases such as for each option part and output DTCs.
    1. Press the preset switch "2" to go to the "Detailed Information Mode 2".
    2. Press the "SEEK TRACK" switch to display the physical address and DTC of the component.
    3. Press the preset switch "3" to go to the Service Check Mode.
    4. Distinguish between the displays of the responses to "System Check Result Request" and "Diagnostic Memory Request ". In order to distinguish the information detected in "System Check Mode" and "Diagnostic Memory Mode" in "ECHn ", "CHEC ", and "OLd" in Detailed Information Mode 2, refer to the following:
      • "SyS" is displayed before the detailed codes detected as a result of "System Check Result Request" are displayed.
      • "COdE" is displayed before the detailed codes detected as a result of "Diagnostic Memory Request" are displayed.

        HINT:

        • The response to "System Check Result Request" is the current information given from each ECU as a result of the system check.
        • The response to "Diagnostic Memory Request" contains the information received from each ECU or stored in each ECU in the past.
        • The response to "Diagnostic Memory Request" is the output DTCs as a result of the diagnostic memory check or the DTCs received from each ECU.
        • "System Check Result Request (SyS)" is displayed first, and then the logical address and DTC appear in order.
        • "Diagnostic Memory Request (COdE)" is displayed first, and then the logical address, DTC, sub-code, connection check number, and the number of occurrence appear in order.
      Fig 6: Service Check Mode Communication Diagram - Detailed Information Mode 2
      G04050094Courtesy of © TOYOTA, LICENSE AGREEMENT TMS1002
    5. DTC CLEAR/RECHECK 
      1. Clearing All DTC Memory (when clearing all the memory of the DTCs previously detected).
        1. When the preset switch "5" is pressed for 2 seconds or more during "Service Check Mode ", the DTCs for all components are cleared. ( "CLr" is displayed at this time.)
          Fig 7: Checking All DTC Memory
          G04050095Courtesy of © TOYOTA, LICENSE AGREEMENT TMS1002

          HINT:

          • A beep sound is emitted once when the DTC memory is completely cleared.
          • When the DTC memory for all the components is cleared, only the component codes (physical address) are displayed.
          • After the DTC memory is cleared, the "Service Check Mode" is restored.
      2. Clearing Individual DTC Memory (when clearing the memory of the DTC previously detected individually).
        1. When the preset switch "5" is pressed for 2 seconds or more during "Detailed Information Mode 1" or Detailed Information Mode 2, the DTCs for the target component are cleared.

          HINT:

          • A beep sound is emitted once when the DTC memory is completely cleared.
          • When the DTC memory is cleared, only the component code (physical address) is displayed for the target component.
          • After the DTC memory is cleared, the "Service Check Mode" is restored.
          • To check DTCs, press the preset switch "1" and perform the system check again.
      3. Press the preset switch "1" to perform the service check again, and check that no DTCs are displayed for all the component codes (physical address).