LEMON Manuals: Even more car manuals for everyone
Home >> Lexus >> 2007 >> GX 470 >> Repair and Diagnosis >> Engine Performance >> System >> Engine Control System - SFI System Diagnostic Introduction, Diagnostic Trouble Code Table >> SFI System >> Registration

SFI System: Registration

NOTE: The Vehicle Identification Number (VIN) must be input into the replacement ECM.

HINT:

The VIN is a 17-digit alphanumeric vehicle identification number. The intelligent tester is required to register the VIN.

  1. DESCRIPTION 

    This registration section consists of three parts, Input Instructions, Read VIN and Write VIN.

    1. Input Instructions: Explains the general VIN input instructions using an intelligent tester.
    2. Read VIN: Explains the VIN reading process in a flow diagram. This process allows the VIN stored in the ECM to be read, in order to confirm that the two VINs, provided with the vehicle and stored in the vehicle's ECM, are the same.
    3. Write VIN: Explains the VIN writing process in a flow diagram. This process allows the VIN to be input into the ECM. If the ECM is changed, or the VIN and VIN do not match, the VIN can be registered, or overwritten in the ECM by following this procedure.
  2. INPUT INSTRUCTIONS 

    HINT:

    Below are the general VIN input instructions using the intelligent tester.

    1. General

      The arrow buttons (UP, DOWN, RIGHT and LEFT) and numerical buttons (0 to 9) are used to input the VIN.

    2. Cursor Operation

      To move the cursor around the tester screen, press the RIGHT and LEFT buttons.

    3. Alphabetical Character Input
      1. Press the UP and DOWN buttons to select the desired alphabetical character.
      2. After selection, the cursor should move.
    4. Numeric Character Input
      1. Press the numerical button corresponding to the number that you want to input.
      2. After input, the cursor should move.

        HINT:

        Numerical characters can be selected by using the UP and DOWN buttons.

    5. Correction
      1. When correcting the input character(s), put the cursor onto the character using the RIGHT or LEFT button.
      2. Select or input the correct character using the UP/DOWN buttons, or the numerical buttons.
    6. Finishing Input Operation
      1. Make sure that the input VIN matches the vehicle VIN after input.
      2. Press the ENTER button on the tester.
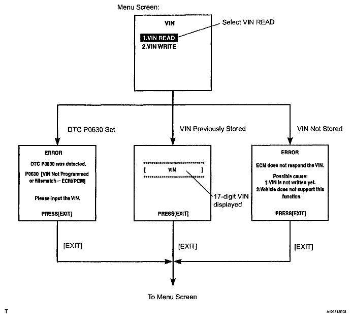
  3. READ VIN (Vehicle Identification Number) 

    HINT:

    Below are the VIN reading instructions. Use the procedures and flow diagram below. Reading the VIN stored in the ECM is necessary when comparing it to the VIN provided with the vehicle.

    1. Read VIN using the intelligent tester.
    2. Check the vehicle's VIN.
    3. Connect the intelligent tester to the DLC3.
    4. Turn the ignition switch ON.
    5. Turn the tester ON.
    6. Enter the following menus: DIAGNOSIS / ENHANCED OBD II/VIN.
      Fig 1: Identifying Scan Tool Display - Select VIN READ
      G04828011Courtesy of TOYOTA MOTOR SALES, U.S.A., INC.
  4. WRITE VIN 

    HINT:

    Below are the VIN writing instructions. Use the procedures and flow diagram below. This process allows the VIN to be input into the ECM. If the ECM is changed, or the ECM VIN and Vehicle VIN do not match, the VIN can be registered or overwritten in the ECM by following this procedure.

    1. Write VIN using the intelligent tester.
    2. Connect the intelligent tester to the DLC3.
    3. Turn the ignition switch ON.
    4. Turn the tester ON.
    5. Enter the following menus: DIAGNOSIS / ENHANCED OBD II/VIN.
      Fig 2: Identifying Scan Tool Display - Select VIN WRITE (1 Of 3)
      G04828012Courtesy of TOYOTA MOTOR SALES, U.S.A., INC.
Fig 3: Identifying Scan Tool Display - Select VIN WRITE (2 Of 3)
G04967760Courtesy of TOYOTA MOTOR SALES, U.S.A., INC.
Fig 4: Identifying Scan Tool Display - Select VIN WRITE (3 Of 3)
G04828014Courtesy of TOYOTA MOTOR SALES, U.S.A., INC.