LEMON Manuals: Even more car manuals for everyone
Home >> Lexus >> 2007 >> GS 450h >> Repair and Diagnosis >> Brakes >> Traction Control >> Brake Control >> Electronically Controlled Brake System >> DTC C1311/11 Open in Main Relay 1 Circuit; DTC C1312/12 Short in Main Relay 1 Circuit; DTC C1313/13 Open in Main Relay 2 Circuit; DTC C1314/14 Short in Main Relay 2 Circuit >> Inspection Procedure

Inspection Procedure

NOTE: When replacing the skid control ECU, perform initialization of linear solenoid valve and calibration (see INITIALIZATION  ).
  1. INSPECT FUSE (ABS1 AND ABS MAIN FUSES) 
    1. Remove the ABS1, ABS MAIN2 and ABS MAIN3 fuses from the engine room No. 1 relay block (junction block).
    2. Check the ABS1, ABS MAIN2 and ABS MAIN3 fuses.

      Standard resistance: 

      Below 1 Ω 

    NG: REPLACE FUSE (ABS1 OR ABS MAIN FUSE) 

    OK: GO TO Next Step 

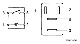
  2. INSPECT ABS MAIN RELAY 
    1. Remove the ABS MAIN1 relay and ABS MAIN2 relay.
    2. Measure the resistance according to the value(s) in the table below.

      Standard resistance 

      TESTER CONNECTION SPECIFIED CONDITION

      Tester Connection Specified Condition
      3 - 5 10 kΩ or higher (No continuity)
      3 - 5 Below 1 Ω (when battery voltage is applied to terminals 1 and 2)
      Fig 1: Identifying ABS Main Relay Connector Terminals
      G05196947Courtesy of © TOYOTA, LICENSE AGREEMENT TMS1002

    NG: REPLACE ABS MAIN RELAY 

    OK: GO TO Next Step 

  3. CHECK SKID CONTROL ECU (Dl CIRCUIT) 
    1. Disconnect the A13 and A15 ECU connectors.
    2. Measure the voltage according to the value(s) in the table below.

      Standard voltage 

      TESTER CONNECTION SPECIFIED CONDITION

      Tester Connection Specified Condition
      A13-39 (DI1) - Body ground 10 to 14 V
      A15-38 (DI2) - Body ground 10 to 14 V
      Fig 2: Identifying A13 And A15 Connectors Terminals
      G05305985Courtesy of © TOYOTA, LICENSE AGREEMENT TMS1002

    NG: REPAIR OR REPLACE HARNESS OR CONNECTOR (Dl CIRCUIT) 

    OK: GO TO Next Step 

  4. CHECK HARNESS AND CONNECTOR (SKID CONTROL ECU - ENGINE ROOM NO. 3 RELAY BLOCK) 
    1. Disconnect the A13 and A15 ECU connectors.
    2. Remove the ABS MAIN1 relay and ABS MAIN2 relay.
    3. Measure the resistance according to the value(s) in the table below.

      Standard resistance 

      TESTER CONNECTION SPECIFIED CONDITION

      Tester Connection Specified Condition
      A13-2 (BS1) - ABS MAIN1 relay (3) Below 1 Ω
      A13-30 (R1+) - ABS MAIN1 relay (1) Below 1 Ω
      A13-38 (DO1) - ABS MAIM relay (5) Below 1 Ω
      A13-46 (R3+) - ABS MAIN1 relay (2) Below 1 Ω
      A15-2 (BS2) - ABS MAIN2 relay (3) Below 1 Ω
      A15-30 (R2+) - ABS MAIN2 relay (1) Below 1 Ω
      A15-39 (DO2) - ABS MAIN2 relay (5) Below 1 Ω
      A15-46 (R4+) - ABS MAIN2 relay (2) Below 1 Ω
      A13-2 (BS1) - Body ground 10 kΩ or higher
      A13-30 (R1+) - Body ground 10 kΩ or higher
      A13-38 (DO1) - Body ground 10 kΩ or higher
      A13-46 (R3+) - Body ground 10 kΩ or higher
      A15-2 (BS2) - Body ground 10 kΩ or higher
      A15-30 (R2+) - Body ground 10 kΩ or higher
      A15-39 (DO2) - Body ground 10 kΩ or higher
      A15-46 (R4+) - Body ground 10 kΩ or higher
      Fig 3: Identifying A13 And A15 Connectors Terminals
      G05305986Courtesy of © TOYOTA, LICENSE AGREEMENT TMS1002

    NG: REPAIR OR REPLACE HARNESS OR CONNECTOR 

    OK: GO TO Next Step 

  5. RECONFIRM DTC 
    1. Clear the DTC (see DTC CHECK / CLEAR  ).
    2. Turn the power switch ON (IG).
    3. Check if the same DTCs are recorded (see DTC CHECK / CLEAR  ).

      HINT:

      Reinstall the sensors, connectors, etc. and restore the vehicle to its prior condition before rechecking for DTCs.

      Result 

      RESULT

      Condition Proceed to
      DTCs (C1311/11, C1312/12, C1313/13 and C1314/14) are not output A
      DTCs (C1311/11, C1312/12, C1313/13 and C1314/14) are output B

    B: REPLACE SKID CONTROL ECU (See  REMOVAL   ) 

    A: END