LEMON Manuals: Even more car manuals for everyone
Home >> Lexus >> 2007 >> ES 350 >> Repair and Diagnosis >> Engine Performance >> Fuel Delivery >> Fuel >> Fuel System >> System Diagram

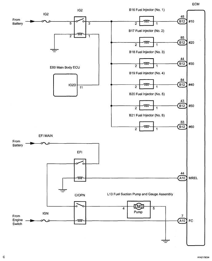
System Diagram

Fig 1: Fuel System Diagram
G05248483Courtesy of © TOYOTA, LICENSE AGREEMENT TMS1002