LEMON Manuals: Even more car manuals for everyone
Home >> Lexus >> 2007 >> ES 350 >> Repair and Diagnosis >> Body & Frame >> Windows >> Windshield/WINDOWGLASS >> Power Window Control System >> Rear Power Window Switch LH Circuit >> Wiring Diagram

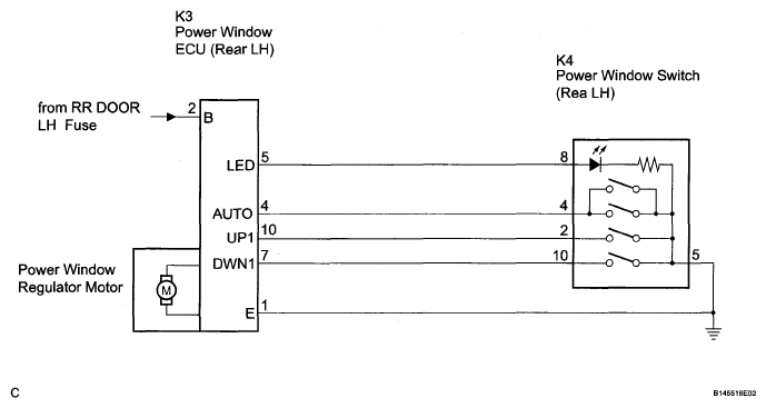
Rear Power Window Switch LH Circuit: Wiring Diagram

Fig 1: Rear Power Window Switch LH Circuit - Wiring Diagram
G05253585Courtesy of © TOYOTA, LICENSE AGREEMENT TMS1002