LEMON Manuals: Even more car manuals for everyone
Home >> Lexus >> 2007 >> ES 350 >> Repair and Diagnosis (Single Page) >> Accessories & Equipment >> Anti-Theft Systems >> Door Lock >> Smart Access System With Push-Button Start >> Certification ECU Power Source Circuit >> Wiring Diagram

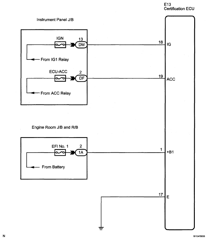
Certification ECU Power Source Circuit: Wiring Diagram

Fig 1: Certification ECU Power Source Circuit - Wiring Diagram
G05252772Courtesy of © TOYOTA, LICENSE AGREEMENT TMS1002