LEMON Manuals: Even more car manuals for everyone
Home >> Lexus >> 2006 >> SC 430 >> Repair and Diagnosis >> General Information >> Identification >> Introduction >> Repair Instruction >> Precaution

Repair Instruction: Precaution

  1. BASIC REPAIR HINT 
    1. HINTS ON OPERATIONS
      Fig 1: Identifying Basic Repair Hint
      G02958847Courtesy of © TOYOTA, LICENSE AGREEMENT TMS1002
    2. JACKING UP AND SUPPORTING VEHICLE
      1. Care must be taken when jacking up and supporting the vehicle. Be sure to lift and support the vehicle at the proper locations (see VEHICLE LIFT AND SUPPORT LOCATIONS  ).
    3. PRECOATED PARTS
      1. Precoated parts are bolts and nuts that are coated with seal lock adhesive at the factory.
      2. If a precoated part is retightened, loosened or moved in any way, it must be recoated with the specified adhesive.
      3. When reusing a precoated part, clean off the old adhesive and dry the part with compressed air. Then apply new seal lock adhesive appropriate to that part.
      4. Some seal lock adhesive harden slowly. You may have to wait for the seal lock adhesive to harden.
        Fig 2: Applying Seal Lock Adhesive
        G02958848Courtesy of © TOYOTA, LICENSE AGREEMENT TMS1002
    4. GASKETS
      1. When necessary, use a sealer on gaskets to prevent leaks.
    5. BOLTS, NUTS AND SCREWS
      1. Carefully observe all the specifications for tightening torques. Always use a torque wrench.
    6. FUSES
      1. When inspecting a fuse, check that the wire of the fuse is not broken.
      2. When replacing a fuse, be sure that the new fuse has the correct amperage rating. Do not use one with higher or lower rating.
        Fig 3: Identifying Fuses
        G02958849Courtesy of © TOYOTA, LICENSE AGREEMENT TMS1002
        Fig 4: Fuse Description Table
        G02958850Courtesy of © TOYOTA, LICENSE AGREEMENT TMS1002
    7. CLIPS
      1. The removal and installation methods of typical clips used for vehicle body parts are shown in Fig 5.

      HINT:

      If clips are damaged during a procedure, always replace the damaged clip with a new clip.

      Fig 5: Identifying Removal & Installation Methods Of Clips (1 Of 2)
      G02958851Courtesy of © TOYOTA, LICENSE AGREEMENT TMS1002
      Fig 6: Identifying Removal & Installation Methods Of Clips (2 Of 2)
      G02958852Courtesy of © TOYOTA, LICENSE AGREEMENT TMS1002
    8. REMOVAL AND INSTALLATION OF VACUUM HOSES
      1. To disconnect a vacuum hose, pull and twist it from its end. Do not pull from the middle of the hose as this may cause damage.
        Fig 7: Disconnecting Vacuum Hose
        G02958853Courtesy of © TOYOTA, LICENSE AGREEMENT TMS1002
      2. When disconnecting vacuum hoses, use tags to identify where they should be reconnected.
        Fig 8: Using Tags To Identify Where They Should Be Reconnected
        G02958854Courtesy of © TOYOTA, LICENSE AGREEMENT TMS1002
      3. After completing any hose related repairs, double check that the vacuum hoses are properly connected. The label under the hood shows the proper layout.
      4. When using a vacuum gauge, never force the hose onto a connector that is too large. If a hose has been stretched, it may leak air. Use a step-down adapter if necessary.
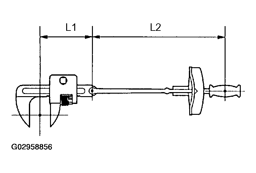
    9. TORQUE WHEN USING TORQUE WRENCH WITH EXTENSION TOOL
      1. Use the formula below to calculate special torque values for situations where SST or an extension tool is combined with the torque wrench.

        Formula: T' = T x L2/(L1 + L2)

        SPECIAL TORQUE VALUES

        T' Reading of torque wrench (N.m (kgf.cm, ft.lbf))
        T Torque (N.m (kgf.cm, ft.lbf))
        L1 Length of SST or extension tool (cm (in.))
        L2 Length of torque wrench (cm (in.))
        Fig 9: Identifying Torque Wrench
        G02958855Courtesy of © TOYOTA, LICENSE AGREEMENT TMS1002
      NOTE: If an extension tool or SST is combined with a torque wrench and the wrench is used to tighten to a torque specification , the actual torque will be excessive and parts will be damaged.
      Fig 10: Identifying Extension Tool With Torque Wrench
      G02958856Courtesy of © TOYOTA, LICENSE AGREEMENT TMS1002
  2. FOR VEHICLES EQUIPPED WITH SRS AIRBAG AND SEAT BELT PRETENSIONER 

    The LEXUS SC 430 is equipped with a Supplemental Restraint System (SRS) and seat belt pretensioner.

    CAUTION: Failure to carry out the service operations in the correct sequence could cause the SRS to unexpectedly deploy during servicing and lead to serious injury.
    Furthermore, if a mistake is made when servicing the SRS, it is possible that the SRS may fail to operate properly. Before servicing (including removal or installation of parts, inspection or replacement), be sure to read the following part carefully.
    1. GENERAL NOTICE
      1. As the malfunction symptoms of the SRS are difficult to confirm, the Diagnostic Trouble Codes (DTCs) become the most important source of information when troubleshooting. When troubleshooting the SRS, always check the DTCs before disconnecting the battery (see DTC CHECK/CLEAR ).
      2. Work must be started at least 90 seconds after the ignition switch is turned OFF and after the cable is disconnected from the negative (-) battery terminal.

        (The SRS is equipped with a backup power source. If work is started within 90 seconds after turning the ignition switch OFF and disconnecting the cable from the negative (-) battery terminal, the SRS may deploy).

        When the cable is disconnected from the negative (-) battery terminal, clock and audio system memory is erased. Before starting work, make a note of the settings of each memory system. When work is finished, reset the clock and audio systems as before.

        CAUTION: Never use a backup power source (battery or other) to avoid erasing system memory. The backup power source may power the SRS and cause it to deploy.
      3. In minor collisions where the SRS does not deploy, the horn button assembly (see DISPOSAL ), front passenger airbag assembly (see DISPOSAL ), front seat airbag assembly (see FRONT SEAT AIRBAG ASSY ), and seat belt pretensioner (see DISPOSAL ) should be inspected before further use of the vehicle.
      4. Never use SRS parts from another vehicle. When replacing parts, use new parts.
      5. Before repairs, remove the airbag sensor assemblies if impacts are likely to be applied to the sensors during repairs.
      6. Never disassemble and repair the airbag sensor assemblies, horn button assembly, front passenger airbag assembly, front seat airbag assembly, curtain shield airbag assembly or seat belt pretensioner.
      7. Replace the airbag sensor assemblies, horn button assembly, front passenger airbag assembly, front seat airbag assembly or curtain shield airbag assembly: 1) if damage has occurred from being dropped, or 2) if there are cracks, dents or other defects in the case, bracket or connector.
      8. Do not directly expose the airbag sensor assemblies, horn button assembly, front passenger airbag assembly, front seat airbag assembly, curtain shield airbag assembly or seat belt pretensioner to hot air or flames.
      9. Use a voltmeter/ohmmeter with high impedance (10 kΩ/V minimum) for troubleshooting electrical circuits.
      10. Information labels are attached to the SRS components. Follow the instructions on the labels.
      11. After work on the SRS is completed, check the SRS warning lamp (see DTC CHECK/CLEAR ).
    2. SPIRAL CABLE (in Combination Switch)
      1. The steering wheel must be fitted correctly to the steering column with the spiral cable at the neutral position, as cable disconnection and other problems may occur. Refer to REPLACEMENT for information about correct installation of the steering wheel.
        Fig 11: Identifying Mark
        G02958857Courtesy of © TOYOTA, LICENSE AGREEMENT TMS1002
    3. HORN BUTTON ASSEMBLY (with Airbag)
      1. When removing the horn button or handling a new horn button, it should be placed with the pad surface facing up. See Fig 12 .

        Placing the horn button with the pad surface facing down may lead to a serious accident if the airbag accidently inflates. Also, do not place anything on top of the horn button.

      2. Never measure the resistance of the airbag squib. This may cause the airbag to inflate, which could cause serious injury.
      3. Grease or detergents of any kind should not be applied to the steering wheel pad.
      4. Store the horn button in an area where the ambient temperature is below 93°C (200°F), the humidity is not high and electrical noise is not nearby.
      5. When using electric welding anywhere on the vehicle, disconnect the airbag ECU connectors (4 pins). These connectors contain shorting springs. This feature reduces the possibility of the airbag deploying due to currents entering the squib wiring.
      6. When disposing of the vehicle or the horn button by itself, the airbag should be inflated using SST before disposal (see DISPOSAL ). Activate in a safe place away from electrical noise.

        Example: 

        Fig 12: Identifying Mark
        G02958858Courtesy of © TOYOTA, LICENSE AGREEMENT TMS1002
        Fig 13: Precautions For Supplement Restraint System
        G02958859Courtesy of © TOYOTA, LICENSE AGREEMENT TMS1002
    4. FRONT PASSENGER AIRBAG ASSEMBLY
      1. Always place a removed or new airbag assembly with the airbag inflation direction facing up. Placing the airbag assembly with the airbag inflation direction facing down could cause a serious accident if the airbag inflates.
      2. Never measure the resistance of the airbag squib. This may cause the airbag to inflate, which could cause serious injury.
      3. Grease or detergents of any kind should not be applied to the airbag assembly.
      4. Store the airbag assembly in an area where the ambient temperature is below 93°C (200°F), the humidity is not high and electrical noise is not nearby.
      5. When using electric welding anywhere on the vehicle, disconnect the airbag ECU connectors (4 pins). These connectors contain shorting springs. This feature reduces the possibility of the airbag deploying due to currents entering the squib wiring.
      6. When disposing of a vehicle or the airbag assembly unit by itself, the airbag should be deployed using SST before disposal (see DISPOSAL ). Activate in a safe place away from electrical noise.

        Example: 

        Fig 14: Precautions For Front Passenger Airbag Assembly
        G02958860Courtesy of © TOYOTA, LICENSE AGREEMENT TMS1002
        Fig 15: Identifying Correct Way Instrument Panel Passenger Airbag Assy
        G02958861Courtesy of © TOYOTA, LICENSE AGREEMENT TMS1002
    5. FRONT SEAT AIRBAG ASSEMBLY
      1. Always place a removed or new airbag assembly with the airbag inflation direction facing up. Placing the airbag assembly with the airbag inflation direction facing down could cause a serious accident if the airbag inflates.
      2. Never measure the resistance of the airbag squib. This may cause the airbag to inflate, which could cause serious injury.
      3. Grease or detergents of any kind should not be applied to the airbag assembly.
      4. Store the airbag assembly in an area where the ambient temperature is below 93°C (200°F), the humidity is not high and electrical noise is not nearby.
      5. When using electric welding anywhere on the vehicle, disconnect the airbag ECU connectors (2 pins). These connectors contain shorting springs. This feature reduces the possibility of the airbag deploying due to currents entering the squib wiring.
      6. When disposing of a vehicle or the airbag assembly unit by itself, the airbag should be deployed using SST before disposal (see FRONT SEAT AIRBAG ASSY ). Activate in a safe place away from electrical noise.

        Example: 

        Fig 16: Precautions For Front Seat Airbag Assembly
        G02958862Courtesy of © TOYOTA, LICENSE AGREEMENT TMS1002
    6. SEAT BELT PRETENSIONER
      1. Never measure the resistance of the seat belt pretensioner. This may cause the seat belt pretensioner to activate, which could cause serious injury.
      2. Never disassemble the seat belt pretensioner.
      3. Never install the seat belt pretensioner on another vehicle.
      4. Store the seat belt pretensioner in an area where the ambient temperature is below 80°C (176°F), the humidity is not high and electrical noise is not nearby.
      5. When using electric welding anywhere on the vehicle, disconnect the airbag ECU connectors (2 pins). These connectors contain shorting springs. This feature reduces the possibility of the seat belt pretensioner deploying due to currents entering the squib wiring.
      6. When disposing of a vehicle or the seat belt pretensioner unit by itself, the seat belt pretensioner should be activated before disposal (see DISPOSAL ). Activate in a safe place away from electrical noise.
      7. As the seat belt pretensioner is hot after being activated, allow some time for it to cool down sufficiently before disposal. Never apply water to try to cool down the seat belt pretensioner.
      8. Grease, detergents, oil or water should not be applied to the front seat outer belt.

        Example: 

        Fig 17: Precautions For Seat Belt Pretensioner
        G02958863Courtesy of © TOYOTA, LICENSE AGREEMENT TMS1002
    7. AIRBAG SENSOR ASSEMBLY
      1. Never reuse an airbag sensor assembly that has been involved in a collision where the SRS has deployed.
      2. The connectors to the airbag sensor assembly should be connected or disconnected with the sensor mounted on the floor. If the connectors are connected or disconnected while the airbag sensor assembly is not mounted on the floor, the SRS may activate.
      3. Work must be started at least 90 seconds after the ignition switch is turned OFF and after the cable is disconnected from the negative (-) battery terminal, even if only loosening the set bolts of the airbag sensor assembly.
    8. WIRE HARNESS AND CONNECTOR
      1. The SRS wire harness is integrated with the instrument panel wire harness assembly. All the connectors in the system are a standard yellow color. If the SRS wire harness becomes disconnected or the connector becomes broken, repair or replace it.
  3. ELECTRONIC CONTROL 
    1. REMOVAL AND INSTALLATION OF BATTERY CABLE
      1. Before performing electronic work, disconnect cable from the negative (-) battery terminal to prevent component and wire damage caused by accidental short circuits.
      2. When disconnecting the battery cable, turn the ignition switch and headlamp dimmer switch OFF and loosen the cable nut completely. Perform these operations without twisting or prying the cable. Then disconnect the cable.
      3. Clock settings, radio settings, audio system memory, DTCs and other data are erased when the battery cable is disconnected. Write down any necessary data before disconnecting the battery cable.
        Fig 18: Precautions For Removing & Installing Battery Cable
        G02958864Courtesy of © TOYOTA, LICENSE AGREEMENT TMS1002
    2. HANDLING OF ELECTRONIC PARTS
      1. Do not open the cover or case of the ECU unless absolutely necessary. If the IC terminals are touched, the IC may be rendered inoperative by static electricity.
      2. Do not pull the wires when disconnecting electronic connectors. Pull the connector itself.
      3. Be careful not to drop electronic components, such as sensors or relays. If they are dropped on a hard surface, they should be replaced.
      4. When cleaning the engine with steam, protect the electronic components, air filter and emission-related components from water.
      5. Never use an impact wrench to remove or install temperature switches or temperature sensors.
      6. When measuring the resistance of a wire connector, insert the tester probe carefully to prevent terminals from bending.
        Fig 19: Precautions Handling Electronic Parts
        G02958865Courtesy of © TOYOTA, LICENSE AGREEMENT TMS1002
  4. REMOVAL AND INSTALLATION OF FUEL CONTROL PARTS 
    1. PLACE FOR REMOVING AND INSTALLING OF FUEL SYSTEM PARTS
      1. Work in a location with good air ventilation that does not have welders, grinders, drills, electric motors, stoves, or any other ignition sources.
      2. Never work in a pit or near a pit as vaporized fuel will collect in these places.
    2. REMOVING AND INSTALLING OF FUEL SYSTEM PARTS
      1. Prepare a fire extinguisher before starting operation.
      2. To prevent static electricity, install a ground wire to the fuel changer, vehicle and fuel tank, and do not spray the surrounding area with water. Be careful when performing work in this area, as the work surface will become slippery. Do not clean up gasoline spills with water, as this may cause the gasoline to spread, and possibly create a fire hazard.
      3. Avoid using electric motors, working lights and other electric equipment that can cause sparks or high temperatures.
      4. Avoid using iron hammers as they may create sparks.
      5. Dispose of fuel-contaminated cloth separately using a fire resistant container.
  5. REMOVAL AND INSTALLATION OF ENGINE INTAKE PARTS 
    1. If any metal particles enter the inlet pass, this may damage the engine.
    2. When removing and installing inlet system parts, cover the openings of the removed parts and engine openings. Use gummed tape or other suitable materials.
    3. When installing inlet system parts, check that no metal particles have entered the engine or the installed part.
      Fig 20: Removing & Installing Engine Intake Parts
      G02958866Courtesy of © TOYOTA, LICENSE AGREEMENT TMS1002
  6. HANDLING OF HOSE CLAMPS 
    1. Before removing the hose, check the clamp position so that it can be reinstalled in the same position.
    2. Replace any deformed or dented clamps with new ones.
    3. When reusing a hose, attach the clamp on the clamp track portion of the hose.
    4. For a spring type clamp, you may want to spread the tabs slightly after installation by pushing in the direction of the arrow marks as shown in Fig 21.
      Fig 21: Handling Hose Clamps
      G02958867Courtesy of © TOYOTA, LICENSE AGREEMENT TMS1002
  7. FOR VEHICLES EQUIPPED WITH MOBILE COMMUNICATION SYSTEMS 
    1. Install the antenna as far away from the ECU and sensors of the vehicle electronic systems as possible.
    2. Install an antenna feeder at least 20 cm (7.87 in.) away from ECUs and sensors of the vehicle electronic systems. For details about ECU and sensor locations, refer to information for the applicable component.
    3. Keep the antenna and feeder separate from other wirings as much as possible. This will prevent signals from the communication equipment from affecting vehicle equipment and vice-versa.
    4. Check that the antenna and feeder are correctly adjusted.
    5. Do not install any high-powered mobile communication system.
      Fig 22: Identifying Vehicles Equipped With Mobile Communication Systems
      G02958868Courtesy of © TOYOTA, LICENSE AGREEMENT TMS1002
  8. FOR VEHICLES EQUIPPED WITH VEHICLE SKID CONTROL (VSC) SYSTEM 
    NOTE: When using a 2-wheel drum tester such as a speedometer tester or chassis dynamometer, etc., or jacking up the rear wheels and driving the wheels, always use the VSC OFF switch to turn the VSC system OFF.
    1. Press the VSC OFF switch.
    2. Check that the VSC OFF indicator lamp turns ON.

      HINT:

      The VSC OFF indicator lamp should be always OFF when the engine is restarted.

    3. Start measurements.
    4. Press the VSC OFF switch again to change the VSC system into operational condition and check that the VSC OFF indicator lamp turns off.

      HINT:

      The SLIP indicator lamp blinks when the VSC system is operational.

  9. FOR VEHICLES EQUIPPED WITH CATALYTIC CONVERTER 
    CAUTION: If a large amount of unburned gasoline or gasoline vapors flow into the converter, it may cause overheating and create a fire hazard. To prevent this, perform the following precautions.
    1. Use only unleaded gasoline.
    2. Avoid idling the engine for more than 20 minutes.
    3. Avoid a spark jump test.
      1. Perform a spark jump test only when absolutely necessary. Perform this test as rapidly as possible.
      2. While testing, never race the engine.
    4. Avoid a prolonged engine compression measurement. Engine compression measurements must be performed as rapidly as possible.
    5. Do not run the engine when the fuel tank is nearly empty. This may cause the engine to misfire and create extra load on the converter.
  10. INSPECTION AND ADJUSTMENT OF JOINT ANGLE DURING REMOVAL AND INSTALLATION OF PROPELLER SHAFT 
    1. When performing operations which involve the removal and installation of the propeller shaft, always check the angles of the joints. Make adjustments if necessary (see OVERHAUL ).
      Fig 23: Inspecting & Adjusting Of Joint Angle During Removal And Installation Of Propeller Shaft
      G02958869Courtesy of © TOYOTA, LICENSE AGREEMENT TMS1002