LEMON Manuals: Even more car manuals for everyone
Home >> Lexus >> 2006 >> LS 430 >> Repair and Diagnosis >> Engine Performance >> System >> Engine Control System >> SFI System >> Inspection

SFI System: Inspection

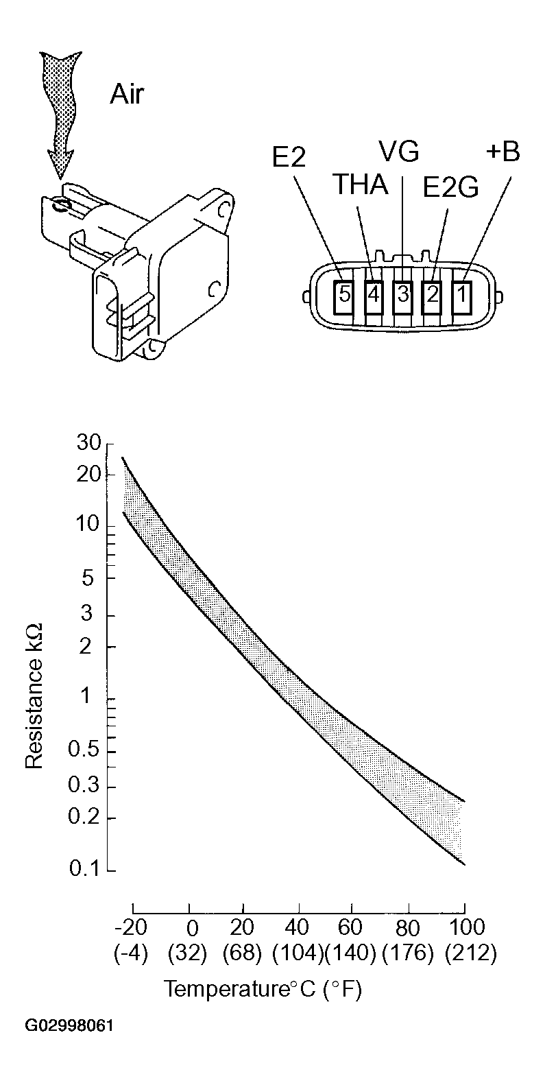
  1. INSPECT MASS AIR FLOW METER 
    Fig 1: Identifying Connector Terminals
    G02998061Courtesy of © TOYOTA, LICENSE AGREEMENT TMS1002
    1. Check the output voltage.
      1. Apply battery voltage across terminals 1 (+B) and 2 (E2G).
      2. Using a voltmeter, connect the positive (+) tester probe to terminal VG, and negative (-) tester probe to terminal E2G.
      3. Blow air into the MAF meter, and check that the voltage fluctuates.
    2. Measure the resistance between terminals 4 (THA) and 5 (E2).
    STANDARD:

    Condition Specified Condition
    -20°C (-4°F) 13.6 to 18.4 kΩ
    20°C (68°F) 2.21 to 2.69 kΩ
    60°C (140°F) 0.493 to 0.667 kΩ

    If the result is not as specified, replace the MAF meter.

  2. INSPECT CAMSHAFT TIMING OIL CONTROL VALVE ASSY 
    Fig 2: Measuring Resistance Between Terminals
    G02998062Courtesy of © TOYOTA, LICENSE AGREEMENT TMS1002
    1. Using an ohmmeter, measure the resistance between the terminals.

      Standard: 6.9 to 7.9 Ω at 20°C (68°F) 

    2. Connect the battery's positive (+) lead to terminal 1 and negative (-) lead to terminal 2. Check the movement of the valve.

    OK: 

    Fig 3: Battery Voltage Chart
    G02998063Courtesy of © TOYOTA, LICENSE AGREEMENT TMS1002

    If operation is not as specified, replace the valve.

  3. INSPECT ACCELERATOR PEDAL ROD ASSY 
    Fig 4: Inspecting Accelerator Pedal Rod Assy
    G02998064Courtesy of © TOYOTA, LICENSE AGREEMENT TMS1002
    1. Measure the resistance between the terminals.
    STANDARD:

    Tester Connection Specified Condition
    2 (VPA2) - 3 (EP1) 5.0 kΩ or less
    5 (VPA1) - 1 (EP2) 5.0 kΩ or less
    6 (VCP1) - 3 (EP1) 1.5 to 6.0 kΩ
    4 (VCP2) - 1 (EP2) 1.5 to 6.0 kΩ

    If the result is not as specified, replace the pedal assy.

  4. INSPECT THROTTLE BODY ASSY 
    Fig 5: Inspecting Throttle Body Assy
    G02998065Courtesy of © TOYOTA, LICENSE AGREEMENT TMS1002
    1. Measure the resistance between the terminals.
    STANDARD:

    Tester Connection Condition Specified Condition
    2 (M+) - 1 (M-) 20°C (68°F) 0.3 to 100 Ω
    5 (VC) - 3 (E2) 20°C (68°F) 1.2 to 3.2 kΩ

    If the result is not as specified, replace the throttle body assy.

  5. INSPECT ENGINE COOLANT TEMPERATURE SENSOR 
    Fig 6: Inspecting Engine Coolant Temperature Sensor
    G02998066Courtesy of © TOYOTA, LICENSE AGREEMENT TMS1002
    1. Measure the resistance between the terminals.
    STANDARD:

    Condition Specified Condition
    Approx. 20°C (68°F) 2.32 to 2.59 kΩ
    Approx. 80°C (176°F) 0.31 to 0.326 kΩ

    If the result is not as specified, replace the sensor.

    NOTE: If checking the ECT sensor in the water, keep the terminals dry. After the check, wipe the sensor dry.
  6. INSPECT KNOCK SENSOR 
    Fig 7: Inspecting Knock Sensor
    G02998067Courtesy of © TOYOTA, LICENSE AGREEMENT TMS1002
    1. Using an ohmmeter, measure the resistance between the terminals.

    Standard: 120 to 280 kΩ at 20°C (68°F) 

    If the result is not as specified, replace the sensor.

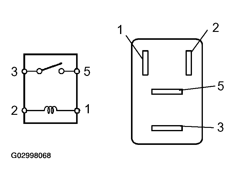
  7. INSPECT RELAY (Marking: EFI MAIN, C/OPN) 
    Fig 8: Measuring Resistance Of Relay
    G02998068Courtesy of © TOYOTA, LICENSE AGREEMENT TMS1002
    1. Remove the EFI and C/OPN relays from the engine room R/B.
    2. Measure the resistance of the relay.
    STANDARD:

    Terminals Specified Condition
    3 - 5 10 kΩ or higher
    3 - 5 Below 1 Ω (when battery voltage is applied to terminals 1 and 2)

    If the result is not as specified, replace the relay.

  8. INSPECT RELAY (Marking: F/PMP) 
    Fig 9: Measuring Resistance Of F/Pmp Relay
    G02998069Courtesy of © TOYOTA, LICENSE AGREEMENT TMS1002
    1. Remove the F/PMP relay from the engine room R/B.
    2. Measure the resistance of the F/PMP relay.
    STANDARD:

    Terminals Specified Condition
    3 - 4 Below 1 Ω
    3 - 4 10 kΩ or higher (when battery voltage is applied to terminals 1 and 2)

    If the result is not as specified, replace the relay.