LEMON Manuals: Even more car manuals for everyone
Home >> Lexus >> 2006 >> LS 430 >> Repair and Diagnosis >> Accessories & Equipment >> Memory Modules >> Power Mirror Control System (W/ Memory) - Diagnostics >> Power Source Circuit (Driver Door Ecu) >> Inspection Procedure

Inspection Procedure

  1. INSPECT FUSE (MPX-B1, AM1, MPX-IG, D DOOR, D/C CUT) 
    1. Remove the MPX-IG and AM1 fuses from the driver side J/B.
    2. Remove the D DOOR and MPX-B1 fuses from the passenger side J/B.
    3. Remove the D/C CUT fuse from the FL block.
    4. Measure the resistance of the fuse.

    Standard: Below 1 Ω 

    NG: REPLACE FUSE 

    OK: GO TO NEXT STEP 

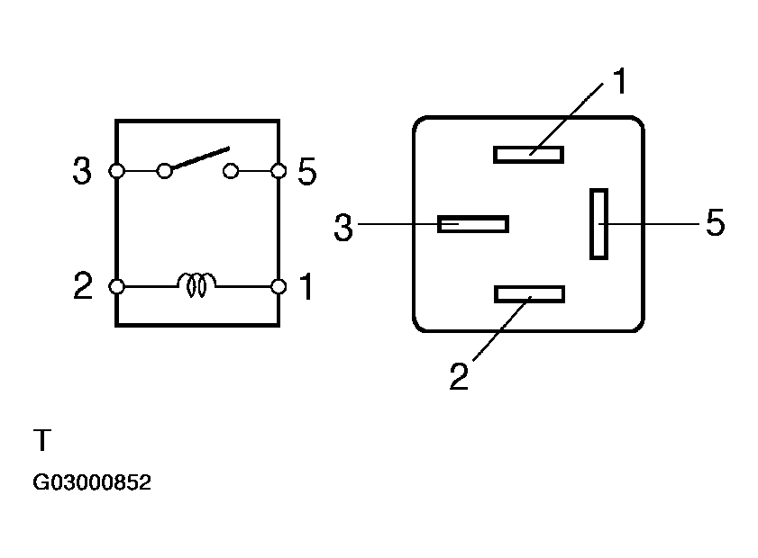
  2. INSPECT RELAY (Marking: D-IG1) 
    1. Remove the D-IG1 relay from the driver side J/B.
    2. Measure the resistance of the rely.

    Standard 

    RELAY RESISTANCE SPECIFICATIONS

    Tester Connection Specified Condition
    3-5 10 kΩ or higher
    3-5 Below 1 Ω (when battery voltage is applied to terminals 1 and 2)

    NG: REPLACE RELAY 

    Fig 1: Inspecting Relay (D-IG1)
    G03000852Courtesy of © TOYOTA, LICENSE AGREEMENT TMS1002

    OK: GO TO NEXT STEP 

  3. CHECK WIRE HARNESS (DRIVER DOOR ECU - BATTERY AND BODY GROUND) 
    1. Disconnect the D25 ECU connector.
    2. Measure the voltage and resistance of the wire harness side connector.

    Standard 

    D25 ECU CONNECTOR VOLTAGE AND RESISTANCE SPECIFICATIONS

    Tester Connection Condition Specified Condition
    D25-4 (CPUB) - Body ground Always 10 to 14 V
    D25-6 (BDR) - Body ground Always 10 to 14 V
    D25-5 (SIG) - Body ground Ignition switch OFF --> ON 0 V --> 10 to 14 V
    D25-1 (GND) - Body ground Always Below 1 Ω

    NG: REPAIR OR REPLACE HARNESS AND CONNECTOR 

    Fig 2: Identifying D25 ECU Connector Terminals
    G03000853Courtesy of © TOYOTA, LICENSE AGREEMENT TMS1002

    OK: PROCEED TO NEXT CIRCUIT INSPECTION SHOWN ON  PROBLEM SYMPTOMS TABLE