LEMON Manuals: Even more car manuals for everyone
Home >> Lexus >> 2006 >> GX 470 >> Repair and Diagnosis >> Accessories & Equipment >> Memory Modules >> Power Mirror Control System (With Memory) - Diagnostics >> Power Mirrors Cannot Be Adjusted Manually >> Wiring Diagram

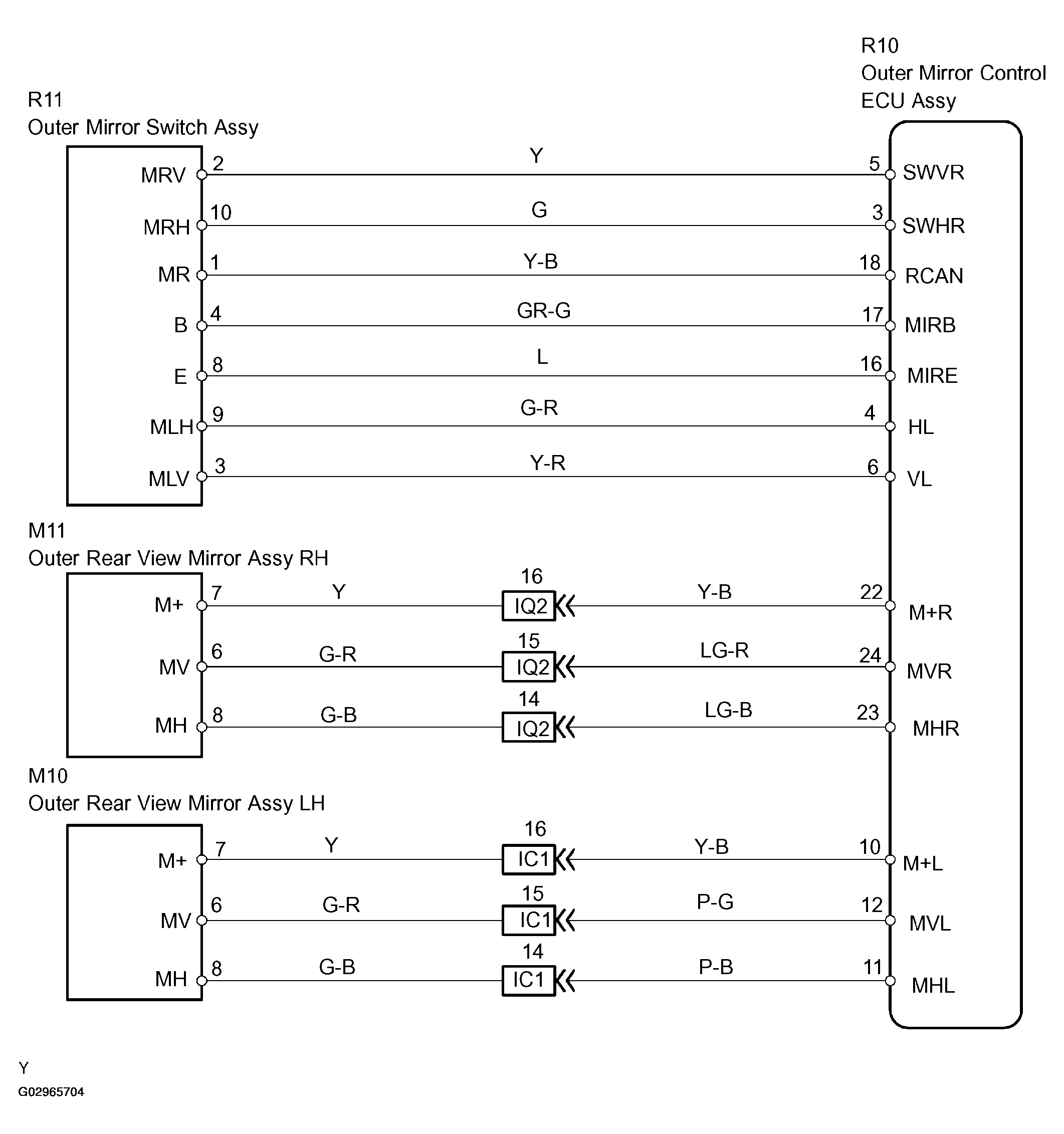
Power Mirrors Cannot Be Adjusted Manually: Wiring Diagram

Fig 1: Power Mirrors Cannot Be Adjusted Manually Wiring Diagram
G02965704Courtesy of © TOYOTA, LICENSE AGREEMENT TMS1002
  1. CHECK OUTER MIRROR SWITCH ASSY (SEE  INSPECTION  ) 
    1. NG: REPLACE OUTER MIRROR SWITCH ASSY 
    2. OK: Go to next step. 
  2. CHECK OUTER REAR VIEW MIRROR (SEE  INSPECTION  ) 
    1. NG: REPLACE OUTER REAR VIEW MIRROR 
    2. OK: Go to next step. 
  3. CHECK WIRE HARNESS (OUTER MIRROR SWITCH ASSY <=> MIRROR CONTROL ECU ASSY) 
    1. Disconnect the R11 switch and R10 ECU connectors.
    2. Check the continuity between the wire harness side connectors.

      Standard: 

      OUTER MIRROR SWITCH ASSY <=> MIRROR CONTROL ECU ASSY

      Symbols (Terminal No.) Specified Condition
      RCAN (R10-18) <=> MR (R11-1) Continuity
      MIRB (R10-17) <=> B (R11-4) Continuity
      MIRE (R10-16) <=> E (R11-8) Continuity
      VL (R10-6) <=> MVL (R11-3) Continuity
      SWVR (R10-5) <=> MRV (R11-2) Continuity
      HL (R10-4) <=> MLH (R11-9) Continuity
      SWHR (R10-3) <=> MRH (R11-10) Continuity
      Fig 2: Checking Wire Harness (Outer Mirror Switch Assy <=> Mirror Control ECU Assy)
      G02965705Courtesy of © TOYOTA, LICENSE AGREEMENT TMS1002
    1. NG: REPAIR OR REPLACE HARNESS AND CONNECTOR 
    2. OK: Go to next step. 
  4. CHECK WIRE HARNESS (OUTER REAR VIEW MIRROR ASSY <=> OUTER MIRROR CONTROL ECU ASSY) 
    1. Disconnect the R10 ECU connector.
    2. Disconnect the M11 and M10 mirror assy connectors.
    3. Check the continuity between the wire harness side connectors.

      Standard: (RH side) 

      OUTER REAR VIEW MIRROR ASSY <=> OUTER MIRROR CONTROL ECU ASSY (RH SIDE)

      Symbols (Terminal No.) Specified Condition
      M+R (R10-22) <=>M+ (M11-7) Continuity
      MVR (R10-24) <=>MV (M11-6) Continuity
      MHR (R10-23) <=>MH (M11-8) Continuity

      Standard: (LH side) 

      OUTER REAR VIEW MIRROR ASSY <=> OUTER MIRROR CONTROL ECU ASSY (LH SIDE)

      Symbols (Terminal No.) Specified Condition
      M+L (R10-10) <=>M+ (M10-7) Continuity
      MVL (R10-12) <=>MV (M10-6) Continuity
      MHL (R10-11) <=>MH (M10-8) Continuity
      Fig 3: Checking Wire Harness (Outer Rear View Mirror Assy <=> Outer Mirror Control ECU Assy)
      G02965706Courtesy of © TOYOTA, LICENSE AGREEMENT TMS1002
    1. NG: REPAIR OR REPLACE HARNESS AND CONNECTOR 
    2. OK: CHECK AND REPLACE OUTER MIRROR CONTROL ECU ASSY (SEE  ELECTRONIC CIRCUIT INSPECTION PROCEDURE  )