LEMON Manuals: Even more car manuals for everyone
Home >> Lexus >> 2006 >> GS 300 AWD >> Repair and Diagnosis >> Engine Performance >> Remove, Overhaul & Install >> Engine Control System (3GR-FSE) - SFI System Diagnostics Introduction, Precaution, Parts Location, System Diagram, Diagnostic Trouble Code Chart >> SFI System >> Terminals Of ECM

Terminals Of ECM

Fig 1: Identifying ECM Terminals
G04017720Courtesy of © TOYOTA, LICENSE AGREEMENT TMS1002

HINT:

The standard normal voltage between each pair of ECM terminals is shown in the table below. The appropriate conditions for checking each pair of terminals are also indicated. The result of checks should be compared with the standard normal voltage for that pair of terminals, displayed in the Specified Condition column. The illustration above can be used as a reference to identify the ECM terminal locations.

ECM TERMINALS REFERENCE

Symbols (Terminal No.) Wiring Color Terminal Description Condition Specified Condition
BATT (A6-4) - E1 (E7-7) L - BR Battery (for measuring battery voltage and for ECM memory) Always 9 to 14 V
+BM (E8-5) - E1 (E7-7) P - BR Power source of throttle motor Always 9 to 14 V
IGSW (A6-17) - E1 (E7-7) B-W - BR Engine switch Engine switch on (IG) 9 to 14 V
+B (A6-6) - E1 (E7-7) B-R - BR Power source of ECM Engine switch on (IG) 9 to 14 V
+B1 (A6-5) - E1 (E7-7) B-R - BR Power source of ECM Engine switch on (IG) 9 to 14 V
OC1+ (E8-34) - OC1- (E8-33) W - Y-B Camshaft timing oil control valve (OCV) (Intake side (bank 1)) Engine switch on (IG) Pulse generation (see waveform 1)
OC2+ (E6-9) - OC2- (E6-8) LG - L-B Camshaft timing oil control valve (OCV) (Intake side (bank 2)) Engine switch on (IG) Pulse generation (see waveform 1)
OE1+ (E8-9) - OE1- (E8-8) LG - L-W Camshaft timing oil control valve (OCV) (Exhaust side (bank 1)) Engine switch on (IG) Pulse generation (see waveform 1)
OE2+ (E6-24) - OE2- (E6-23) R-R - G-B Camshaft timing oil control valve (OCV) (Exhaust side (bank 2)) Engine switch on (IG) Pulse generation (see waveform 1)
MREL (A6-13) - E1 (E7-7) Y - BR EFI MAIN relay Engine switch on (IG) 9 to 14 V
VC (E8-29) - E2 (E8-28) L - BR Power source for sensors (specific voltage) Engine switch on (IG) 4.5 to 5.0 V
VC2 (E6-29) - E3 (E6-30) L-Y - BR Power source for sensors (specific voltage) Engine switch on (IG) 4.5 to 5.0 V
VG (E6-27) - E2G (E6-26) G-B - B-W Mass air flow meter Idling, Shift lever position P or N, A/C switch OFF 0.5 to 3.0 V
THA (E6-25) - E3 (E6-30) G - BR Intake air temperature sensor Idling, Intake air temperature 20°C (68°F) 0.5 to 3.4 V
THW (E6-20) - E2 (E8-28) R - BR Engine coolant temperature sensor Idling, Engine coolant temperature 80°C (176°F) 0.2 to 1.0 V
VTA1 (E8-23) - E3 (E6-30) R-B - BR Throttle position sensor (for engine control) Engine switch on (IG), Throttle valve fully closed 0.5 to 1.2 V
VTA1 (E8-23) - E3 (E6-30) R-B - BR Throttle position sensor (for engine control) Engine switch on (IG), Throttle valve fully open 3.2 to 4.8 V
VTA2 (E8-22) - E3 (E6-30) L-B - BR Throttle position sensor (for sensor malfunction detection) Engine switch on (IG), Accelerator pedal released 2.1 to 3.1 V
VTA2 (E8-22) - E3 (E6-30) L-B - BR Throttle position sensor (for sensor malfunction detection) Engine switch on (IG), Accelerator pedal depressed 4.5 to 5.0 V
VPA (A7-33) - EPA (A7-34) G-W - L-Y Accelerator pedal position sensor (for engine control) Engine switch on (IG), Accelerator pedal released 0.5 to 1.1 V
VPA (A7-33) - EPA (A7-34) G-W - L-Y Accelerator pedal position sensor (for engine control) Engine switch on (IG), Accelerator pedal depressed 2.6 to 4.5 V
VPA2 (A7-32) - EPA2 (A7-26) P-L - BR Accelerator pedal position sensor (for sensor malfunctioning detection) Engine switch on (IG), Accelerator pedal released 1.2 to 2.0 V
VPA2 (E40-32) - EPA2 (E40-26) P-L - BR Accelerator pedal position sensor (for sensor malfunctioning detection) Engine switch on (IG), Accelerator pedal depressed 3.4 to 5.0 V
VCPA (A7-35) - EPA2 (A7-26) P - BR Power source of accelerator pedal position sensor (for VPA) Engine switch on (IG) 4.5 to 5.0 V
VCP2 (A7-27) - EPA2 (A7-26) LG - BR Power source of accelerator pedal position sensor (for VPA2) Engine switch on (IG) 4.5 to 5.0 V
HA1A (E45-6) - E04 (E45-5)
HA2A (E45-4) - E05 (E45-3)
V - W-B
B-L - W-B
A/F sensor heater Idling Below 3.0 V
HA1A (E45-6) - E04 (E45-5)
HA2A (E45-4) - E05 (E45-3)
V - W-B
B-L - W-B
A/F sensor heater Engine switch on (IG) 9 to 14 V
A1A+ (E45-18) - E1 (E7-7) R - BR A/F sensor Engine switch on (IG) 3.3 V(1)
A2A+ (E45-28) - E1 (E7-7) B - BR A/F sensor Engine switch on (IG) 3.3 V(1)
A1A- (E45-17) - E1 (E7-7) G - BR A/F sensor Engine switch on (IG) 3.0 V(1)
A2A- (E45-27) - E1 (E7-7) W - BR A/F sensor Engine switch on (IG) 3.0 V(1)
HT1B (A7-2) - E1 (E7-7) Y-B - BR Heated oxygen sensor heater Idling Below 3.0 V
HT2B (A7-1) - E1 (E7-7) L-W - BR
HT1B (A7-2) - E1 (E7-7) Y-B - BR Heated oxygen sensor heater Engine switch on (IG) 9 to 14 V
HT2B (A7-1) - E1 (E7-7) L-W - BR
OX1B (A7-28) - O1B- (A7-29)
OX2B (A7-17) - O2B- (A7-18)
R - G
B - W
Heated oxygen sensor Maintain engine speed at 2,500 RPM for 2 minutes after warming up sensor Pulse generation (see waveform 2)
#10 (E8-15) - E1 (E7-7) G-W - BR Injector Engine switch on (IG) 0 to 5 V
#20 (E6-17) - E1 (E7-7) B-Y - BR
#30 (E8-14) - E1 (E7-7) P-L - BR
#40 (E6-16) - E1 (E7-7) LG-B - BR
#50 (E8-13) - E1 (E7-7) V - BR
#60 (E6-15) - E1 (E7-7) R-B - BR
#10 (E8-15) - E1 (E7-7) G-W - BR Injector Idling Pulse generation (see waveform 3)
#20 (E6-17) - E1 (E7-7) B-Y - BR
#30 (E6-14) - E1 (E7-7) P-L - BR
#40 (E6-16) - E1 (E7-7) LG-B - BR
#50 (E8-13) - E1 (E7-7) V - BR
#60 (E6-15) - E1 (E7-7) R-B - BR
KNK1 (E7-28) - EKNK (E7-30) B - W Knock sensor Maintain engine speed at 4,000 after warming up Pulse generation (see waveform 4)
KNK2 (E7-29) - EKN2 (E7-31) R - G Knock sensor Maintain engine speed at 4,000 after warming up Pulse generation (see waveform 4)
VV1+ (E8-21) - VV1- (E8-20) Y - L-Y Variable valve timing (VVT) sensor (Intake side (bank 1)) Idling Pulse generation (see waveform 5)
VV2+ (E8-19) - VV2- (E8-18) R-L - W Variable valve timing (VVT) sensor (Intake side (bank 2)) Idling Pulse generation (see waveform 5)
NE+ (E8-32) - NE- (E8-31) R - G Crankshaft position sensor Idling Pulse generation (see waveform 5, 6)
EV1+ (E6-19) - EV1- (E6-18) B - W Variable valve timing (VVT) sensor (Exhaust side (bank 1)) Idling Pulse generation (see waveform 6)
EV2+ (E45-13) - EV2-(E45-12) G - R Variable valve timing (VVT) sensor (Exhaust side (bank 2)) Idling Pulse generation (see waveform 6)
IGT1 (E6-13) - E1 (E7-7) L-R - BR Ignition coil (ignition signal) Idling Pulse generation (see waveform 7)
IGT2 (E8-17) - E1 (E7-7) L-B - BR
IGT3 (E6-10) - E1 (E7-7) V - BR
IGT4 (E6-12) - E1 (E7-7) P-L - BR
IGT5 (E8-27) - E1 (E7-7) W-L - BR
IGT6 (E8-26) - E1 (E7-7) W-L - BR
IGF1 (E6-7) - E1 (E7-7) G - BR Ignition coil (ignition confirmation signal) Engine switch on (IG) 4.5 to 5.0 V
IGF2 (E6-6) - E1 (E7-7) G-B - BR
IGF1 (E6-7) - E1 (E7-7) G - BR Ignition coil (ignition confirmation signal) Idling Pulse generation (see waveform 7)
IGF2 (E6-6) - E1 (E7-7) G-B - BR
PRG (E8-11) - E1 (E7-7) W - BR EVAP VSV Engine switch on (IG) 9 to 14 V
PRG (E8-11) - E1 (E7-7) W - BR EVAP VSV Idling Pulse generation (see waveform 8)
SPD (A6-22) - E1 (E7-7) V-W - BR Speed signal from combination meter Engine switch on (IG), Rotate driving wheel slowly Pulse generation (see waveform 9)
STA (A6-12) - E1 (E7-7) R - BR Starter signal Cranking 9 to 14 V
STAR (E7-4) - E1 (E7-7) L-Y - BR Park/neutral position switch signal Engine switch on (IG), Other shift position in P or N 9 to 14 V
STAR (E7-4) - E1 (E7-7) L-Y - BR Park/neutral position switch signal Cranking, Shift position in P or N 0 to 3.0 V
STSW (A6-19) - E1 (E7-7) Y-B - BR Engine switch signal Shift lever position P or N, engine switch START 6.0 V or more
STP (A7-4) - E1 (E7-7) R-B - BR Stop light switch Brake pedal depressed 7.5 to 14 V
STP (A7-4) - E1 (E7-7) R-B - BR Stop light switch Brake pedal released Below 1.5 V
ST1- (A6-8) - E1 (E7-7) G-W - BR Stop light switch (opposite to STP terminal) Engine switch on (IG), Brake pedal depressed Below 1.5 V
ST1- (A6-8) - E1 (E7-7) G-W - BR Stop light switch (opposite and STP terminal) Engine switch on (IG), Brake pedal released 7.5 to 14 V
M+ (E8-2) - ME01 (E8-4) B - W-B Throttle actuator Idling with warm engine Pulse generation (see waveform 10)
M- (E8-1) - ME01 (E8-4) W - W-B Throttle actuator Idling with warm engine Pulse generation (see waveform 11)
FC (A6-14) - E1 (E7-7) R-G - BR Fuel pump control Engine switch on (IG) 9 to 14 V
FC (A6-14) - E1 (E7-7) R-G - BR Fuel pump control Idling 0 to 3 V
FPR (A6-15) - E1 (E7-7) R-W - BR Fuel pump control Cranking 9 to 14 V
FPR (A6-15) - E1 (E7-7) R-W - BR Fuel pump control Idling 9 to 14 V
W (A7-8) - E1 (E7-7) R-L - BR MIL Engine switch on (IG) Below 3.0 V
W (A7-8) - E1 (E7-7) R-L - BR MIL Idling 0 to 3 V
TC (A7-3) - E1 (E7-7) V - BR Terminal TC of DLC 3 Engine switch on (IG) 9 to 14 V
TACH (A7-16) - E1 (E7-7) W-L - BR Engine speed Idling Pulse generation (see waveform 12)
ACIS (E6-3) - E1 (E7-7) Y - BR Intake air control valve actuator Engine switch on (IG) 9 to 14 V
ACIS (E6-3) - E1 (E7-7) Y - BR Intake air control valve actuator Engine RPM is 2,400 to 4,000 RPM and throttle opening percentage is 40 % or more 0 to 3 V
VPMP (A7-12) - E1 (E7-7) LG - BR Vent valve (built into pump module) Engine switch on (IG) 9 to 14 V
MPMP (A7-5) - E1 (E7-7) P - BR Vacuum pump (built into pump module) Vacuum pump OFF 0 to 3 V
MPMP (A7-5) - E1 (E7-7) P - BR Vacuum pump (built into pump module) Vacuum pump ON 9 to 14 V
PPMP (A7-25) - E2 (E8-28) V - BR Pressure sensor (built into pump module) Engine switch on (IG) 3 to 3.6 V
INJF (E45-26) - E1 (E7-7) GR - BR Injector injection confirmation signal Idling Pulse generation (see waveform 13)
FPF1 (E45-32) - E1 (E7-7) W-L - BR High pressure side fuel pump (Spill valve) Idling Pulse generation (see waveform 14)
FPD (E45-33) - E1 (E7-7) R-L - BR High pressure side fuel pump (Spill valve) Idling Pulse generation (see waveform 14)
PR (E45-25) - E2 (E8-28) L-B - BR Fuel pressure sensor Idling 1.8 to 2.3 V
IAC1 (E45-31) - E1 (E7-7) G - BR SCV position sensor Engine switch off to on (IG) 3.0 to 4.0 V
IA1+ (E45-2) - E01 (E6-2) LG-B - W-B DC motor for SCV Idling Pulse generation (see waveform 15)
IA1- (E45-1) - E01 (E6-2) Y-G - W-B DC motor for SCV Idling Pulse generation (see waveform 16)
STJ1 (E8-7) - E1 (E7-7) G - BR Cold start injector Engine switch on (IG) 0 to 14 V
CANH (A6-25) - E1 (E7-7) B - BR CAN communication line Engine switch on (IG) Pulse generation (see waveform 17)
CANL (A6-24) - E1 (E7-7) W - BR CAN communication line Engine switch on (IG) Pulse generation (see waveform 18)
HINT:
(1) The ECM terminal voltage is constant regardless of the output voltage from the sensor.
  1. WAVEFORM 1 
    Fig 2: Identifying Waveform 1
    G04017721Courtesy of © TOYOTA, LICENSE AGREEMENT TMS1002

    Camshaft timing oil control valve (OCV) 

    CAMSHAFT TIMING OIL CONTROL VALVE (OCV)

    ECM Terminal Name Between OC1+ and OC1- or OC2+ and OC2-
    Between OE1+ and OE1- or OE2+ and OE2-
    Tester Range 5 V/DIV, 1 msec./DIV
    Condition Idling

    HINT:

    The wavelength becomes shorter as the engine RPM increases.

  2. WAVEFORM 2 
    Fig 3: Identifying Waveform 2
    G04017722Courtesy of © TOYOTA, LICENSE AGREEMENT TMS1002

    Heated oxygen sensor 

    HEATED OXYGEN SENSOR

    ECM Terminal Name Between OX1B and O1B- or OX2B and O2B-
    Tester Range 0.2 V/DIV, 200 msec./DIV
    Condition Engine speed maintained at 2,500 RPM for 2 minutes after warming up engine

    HINT:

    In DATA LIST, item O2S B1 S2 shows the ECM input values from the heated oxygen sensor.

  3. WAVEFORM 3 
    Fig 4: Identifying Waveform 3
    G04017723Courtesy of © TOYOTA, LICENSE AGREEMENT TMS1002

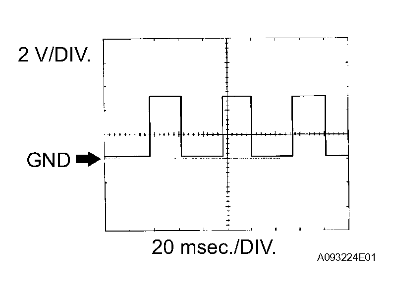
    Injector No. 1 (to No. 6) injection signal 

    INJECTOR NO. 1 (TO NO. 6) INJECTION SIGNAL REFERENCE

    ECM Terminal Name Between #10 (to #60) and E1
    Tester Range 2 V/DIV, 20 msec./DIV
    Condition Idling

    HINT:

    The wavelength becomes shorter as the engine RPM increases.

  4. WAVEFORM 4 
    Fig 5: Identifying Waveform 4
    G04017724Courtesy of © TOYOTA, LICENSE AGREEMENT TMS1002

    Knock sensor 

    KNOCK SENSOR

    ECM Terminal Name Between KNK1 and EKNK1
    Between KNK2 and EKNK2
    Tester Range 0.01 to 10 V/DIV, 0.01 to 10 msec./DIV
    Condition Engine speed maintained a 4,000 RPM after warming up engine

    HINT:

    • The wavelength becomes shorter as the engine RPM increases.
    • The waveforms and amplitudes displayed differ slightly depending on the vehicle.
  5. WAVEFORM 5 
    Fig 6: Identifying Waveform 5
    G04017725Courtesy of © TOYOTA, LICENSE AGREEMENT TMS1002

    Crankshaft position sensor and VVT sensor for intake camshaft 

    CRANKSHAFT POSITION SENSOR AND VVT SENSOR FOR INTAKE CAMSHAFT

    ECM Terminal Name Between NE+ and NE-
    Between VV1+ and VV1- or VV2+ and VV2-
    Tester Range 5 V/DIV, 20 msec./DIV
    Condition Idling

    HINT:

    The wavelength becomes shorter as the engine RPM increases.

  6. WAVEFORM 6 
    Fig 7: Identifying Waveform 6
    G04017726Courtesy of © TOYOTA, LICENSE AGREEMENT TMS1002

    Crankshaft position sensor and VVT sensor for exhaust camshaft 

    CRANKSHAFT POSITION SENSOR AND VVT SENSOR FOR INTAKE CAMSHAFT

    ECM Terminal Name Between NE+ and NE-
    Between EV1+ and EV1- or EV2+ and EV2-
    Tester Range 5 V/DIV, 20 msec./DIV
    Condition Idling

    HINT:

    The wavelength becomes shorter as the engine RPM increases.

  7. WAVEFORM 7 
    Fig 8: Identifying Waveform 7
    G04017727Courtesy of © TOYOTA, LICENSE AGREEMENT TMS1002

    Igniter IGT signal (from ECM to igniter) and Igniter IGF signal (from igniter to ECM) 

    IGNITER IGT SIGNAL (FROM ECM TO IGNITER) AND IGNITER IGF SIGNAL (FROM IGNITER TO ECM)

    ECM Terminal Name Between IGT (1 to 6) and E1
    Between IGF1 and E1 or IGF2 and E1
    Tester Range 2 V/DIV, 20 msec./DIV
    Condition Idling

    HINT:

    The wavelength becomes shorter as the engine RPM increases.

  8. WAVEFORM 8 
    Fig 9: Identifying Waveform 8
    G04017728Courtesy of © TOYOTA, LICENSE AGREEMENT TMS1002

    EVAP VSV 

    EVAP VSV

    ECM Terminal Name Between PRG and E1
    Tester Range 5 V/DIV, 50 msec./DIV
    Condition Idling

    HINT:

    If the waveform is not similar to the illustration, check the waveform again after idling for 10 minutes or more.

  9. WAVEFORM 9 
    Fig 10: Identifying Waveform 9
    G04017729Courtesy of © TOYOTA, LICENSE AGREEMENT TMS1002

    Vehicle speed signal 

    VEHICLE SPEED SIGNAL

    ECM Terminal Name Between SPD and E1
    Tester Range 2 V/DIV, 20 msec./DIV
    Condition Driving at 12 mph (20 km/h)

    HINT:

    The wavelength becomes shorter as the vehicle speed increases.

  10. WAVEFORM 10 
    Fig 11: Identifying Waveform 10
    G04017730Courtesy of © TOYOTA, LICENSE AGREEMENT TMS1002

    Throttle actuator positive terminal 

    THROTTLE ACTUATOR POSITIVE TERMINAL

    ECM Terminal Name Between M+ and ME01
    Tester Range 5 V/DIV, 1 msec./DIV
    Condition Idling with warm engine

    HINT:

    The duty ratio varies depending on the throttle actuator operation.

  11. WAVEFORM 11 
    Fig 12: Identifying Waveform 11
    G04017731Courtesy of © TOYOTA, LICENSE AGREEMENT TMS1002

    Throttle actuator negative terminal 

    THROTTLE ACTUATOR NEGATIVE TERMINAL

    ECM Terminal Name Between M- and ME01
    Tester Range 5 V/DIV, 1 msec./DIV

    HINT:

    The duty ratio varies depending on the throttle actuator operation.

  12. WAVEFORM 12 
    Fig 13: Identifying Waveform 12
    G04017732Courtesy of © TOYOTA, LICENSE AGREEMENT TMS1002

    Engine speed signal 

    ENGINE SPEED SIGNAL

    ECM Terminal Name Between TACH and E1
    Tester Range 5 V/DIV, 10 msec./DIV
    Condition Idling

    HINT:

    The wavelength becomes shorter as the engine RPM increases.

  13. WAVEFORM 13 
    Fig 14: Identifying Waveform 13
    G04017733Courtesy of © TOYOTA, LICENSE AGREEMENT TMS1002

    Injector No. 1 (to No. 6) injection signal and Injection confirmation signal 

    INJECTOR NO 1 (TO NO 6) INJECTION SIGNAL AND INJECTION CONFIRMATION SIGNAL

    ECM Terminal Name CH1: Between #10 (to #60) and E1
    CH2: Between INJF and E1
    Tester Range 2 V/DIV, 20 msec./DIV
    Condition Idling with warm engine

    HINT:

    The wavelength becomes shorter as the engine RPM increases.

  14. WAVEFORM 14 
    Fig 15: Identifying Waveform 14
    G04017734Courtesy of © TOYOTA, LICENSE AGREEMENT TMS1002

    High pressure side fuel pump (Spill valve) 

    HIGH PRESSURE SIDE FUEL PUMP (SPILL VALVE)

    ECM Terminal Name CH1: Between FPD and E1
    CH2: Between FPF1 and E1
    Tester Range 2 V/DIV, 5 msec./DIV
    Condition Idling with warm engine
  15. WAVEFORM 15 
    Fig 16: Identifying Waveform 15
    G04017735Courtesy of © TOYOTA, LICENSE AGREEMENT TMS1002

    DC motor for SCV positive terminal 

    DC MOTOR FOR SCV POSITIVE TERMINAL

    ECM Terminal Name Between IA1+ and E1
    Tester Range 5 V/DIV, 1 msec./DIV
    Condition Idling with warm engine
  16. WAVEFORM 16 
    Fig 17: Identifying Waveform 16
    G04017736Courtesy of © TOYOTA, LICENSE AGREEMENT TMS1002

    DC motor for SCV negative terminal 

    DC MOTOR FOR SCV NEGATIVE TERMINAL

    ECM Terminal Name Between IA1- and E1
    Tester Range 5 V/DIV, 1 msec./DIV
    Condition Idling with warm engine
  17. WAVEFORM 17 
    Fig 18: Identifying Waveform 17
    G04017737Courtesy of © TOYOTA, LICENSE AGREEMENT TMS1002

    CAN communication signal 

    CAN COMMUNICATION SIGNAL

    ECM Terminal Name Between CANH and E1
    Tester Range 1 V/DIV, 10 [mu] s/DIV
    Condition Stop engine and engine switch on (IG)

    HINT:

    The waveform varies depending on the CAN communication signal.

  18. WAVEFORM 18 
    Fig 19: Identifying Waveform 18
    G04017738Courtesy of © TOYOTA, LICENSE AGREEMENT TMS1002

    CAN communication signal 

    CAN COMMUNICATION SIGNAL

    ECM Terminal Name Between CANL and E1
    Tester Range 1 V/DIV, 10 [mu] s/DIV
    Condition Stop engine and engine switch on (IG)

    HINT:

    The waveform varies depending on the CAN communication signal.