LEMON Manuals: Even more car manuals for everyone
Home >> Lexus >> 2006 >> GS 300 AWD >> Repair and Diagnosis >> Engine Performance >> Remove, Overhaul & Install >> Engine Control System (3GR-FSE) - SFI System Diagnostics Introduction, Precaution, Parts Location, System Diagram, Diagnostic Trouble Code Chart >> SFI System >> Registration

SFI System: Registration

NOTE: The Vehicle Identification Number (VIN) must be input into the replacement ECM.

HINT:

The VIN is in the from of a 17-digit alphanumeric vehicle identification number. An intelligent tester is required to resistance the VIN.

  1. INPUT INSTRUCTIONS 
    1. Explains the general VIN input instructions using an intelligent tester.
    2. Intelligent tester

      The arrow buttons (UP, DOWN, RIGHT and LEFT) and numerical buttons (0 to 9) are used, in order to input the VIN.

    3. Cursor Operation

      To move the cursor around the tester screen, press the RIGHT and LEFT buttons.

    4. Alphabetical Character Input
      1. Press the UP and DOWN buttons to select the desired alphabetical character.
      2. After selection, the cursor should move.
    5. Numeric Character Input
      1. Press the numerical button corresponding to the number that you want to input.
      2. Select or input the correct character using the UP/DOWN buttons, or the numerical buttons.

        HINT:

        Numerical characters can be selected by using the UP and DOWN buttons.

    6. Correction
      1. After input, the cursor should move.
      2. When correcting the input character(s), put the cursor onto the character using the RIGHT or LEFT buttons.
    7. Finishing Input Operation
      1. Make sure that the input VIN matches the vehicle VIN after input.
      2. Press the ENTER button on the tester.
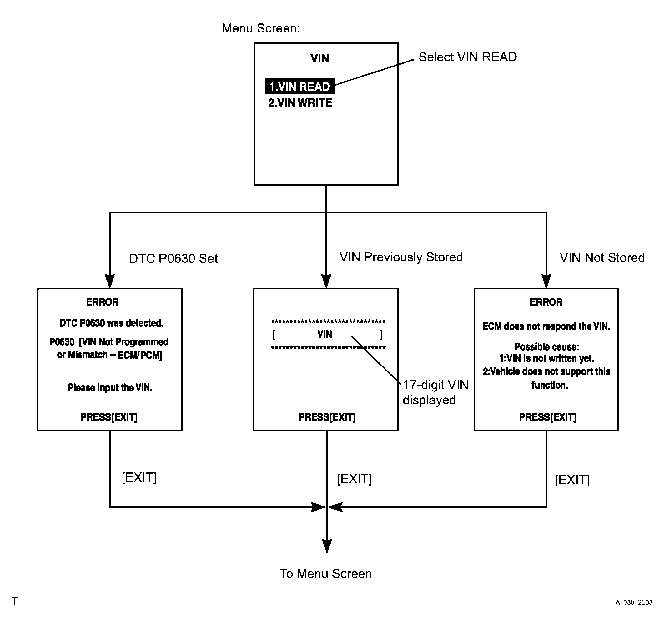
  2. READ VIN (Vehicle Identification Number) 
    1. Explains the VIN reading process in a flowchart. This process allows the VIN stored in the ECM to be read, in order to confirm that the two, VINs, provided with the vehicle and stored in the vehicle's ECM, are the same.
    2. Read VIN using an intelligent tester.
    3. Check the vehicle's VIN.
    4. Connect the intelligent tester to the DLC3.
    5. Turn the engine switch on (IG).
    6. Turn the tester ON.
    7. Enter the following menus: DIAGNOSIS / ENHANCED OBD ll / VIN.
      Fig 1: Vehicle Identification Number Reading Procedure Flow Chart
      G04017713Courtesy of © TOYOTA, LICENSE AGREEMENT TMS1002
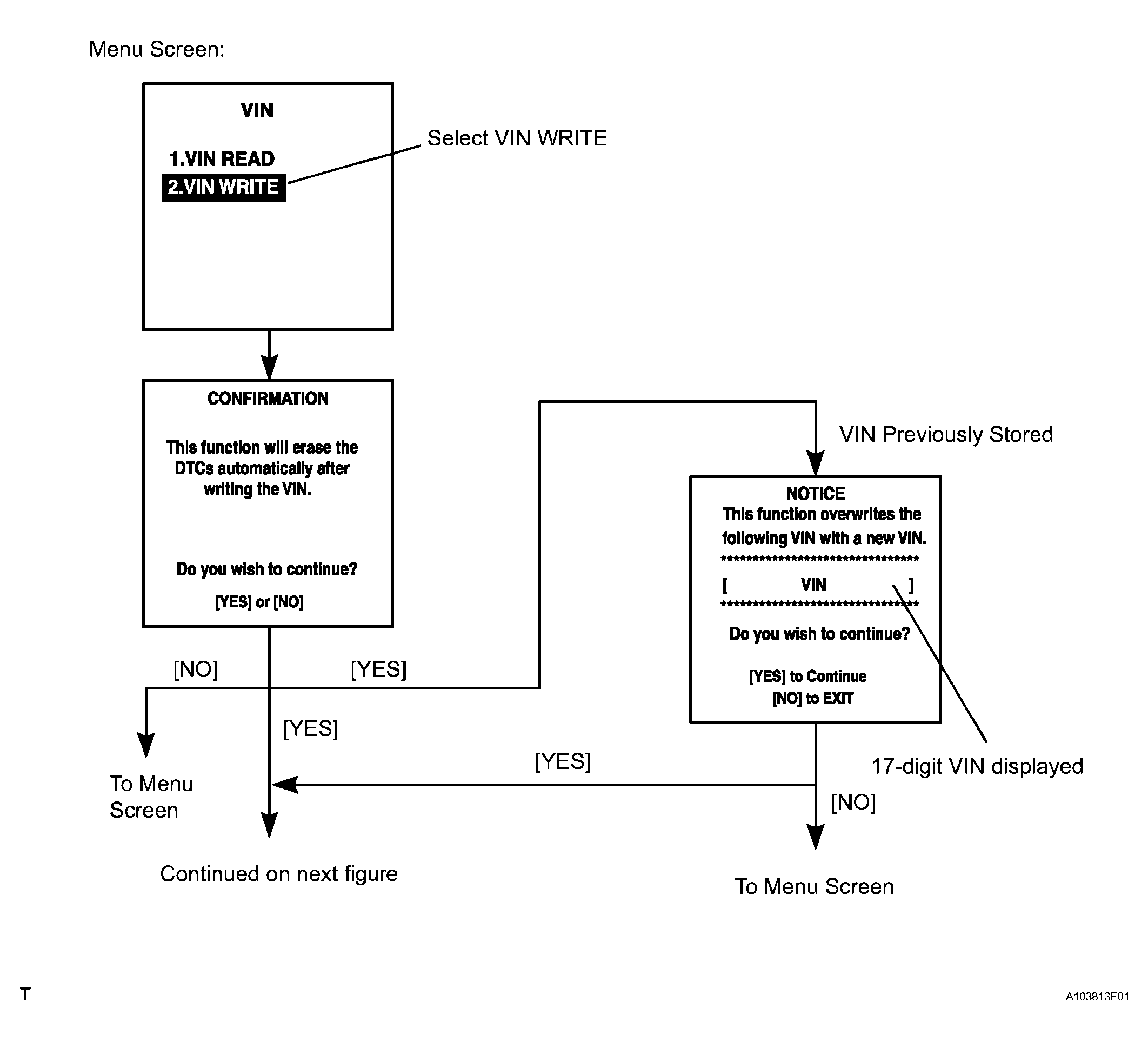
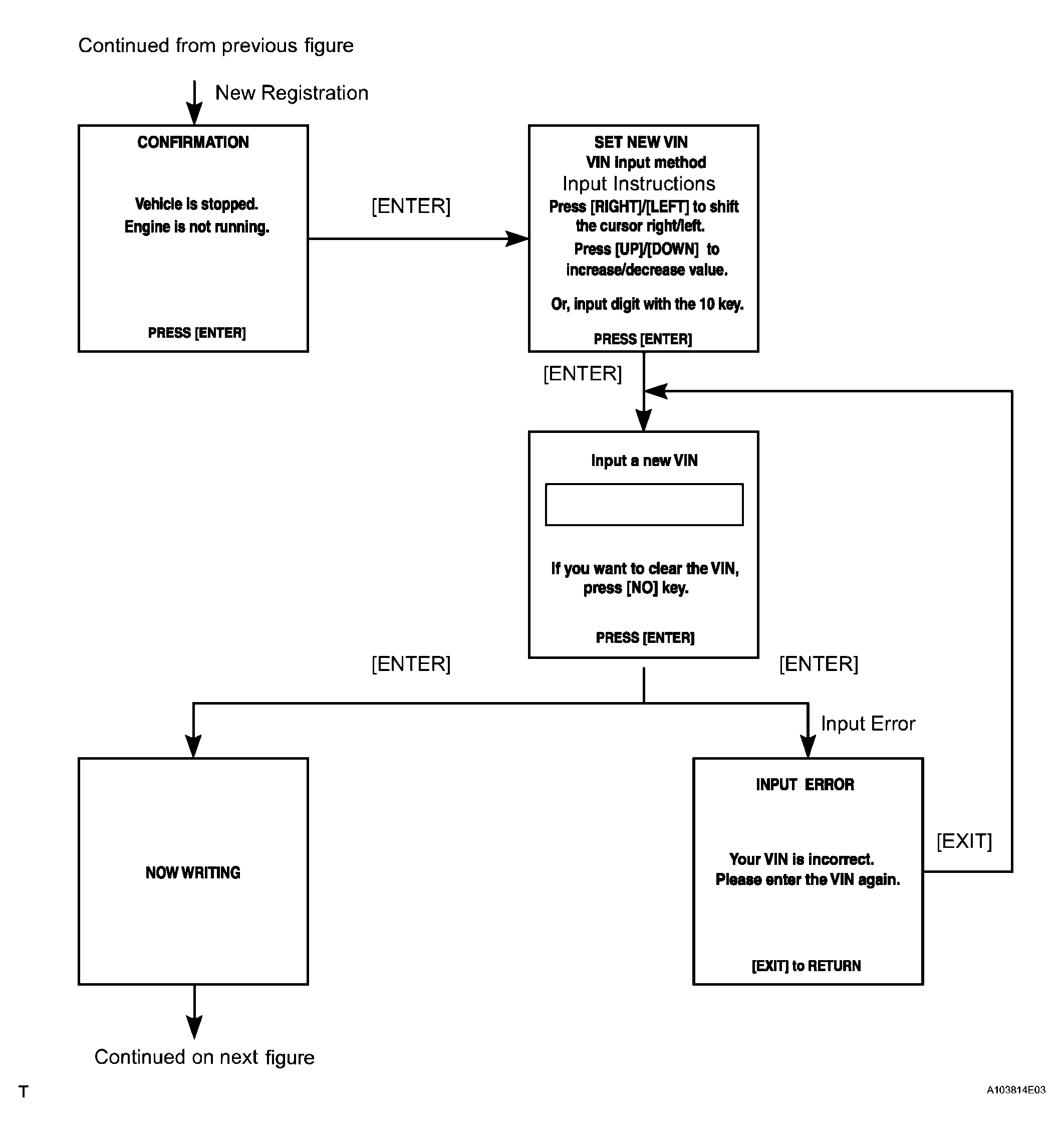
  3. WRITE VIN 
    1. Explains the VIN writing process in a flowchart. This process allows the VIN to be input into the ECM. If the ECM is changed, or the VIN and VIN do not match, the VIN can be registered, or overwritten in the ECM by following this procedure.
    2. Write VIN using the intelligent tester.
    3. Check the vehicle's VIN.
    4. Connect the intelligent tester to the DLC3.
    5. Turn the engine switch on (IG).
    6. Turn the tester ON.
    7. Enter the following menus: DIAGNOSIS / ENHANCED OBD ll / VIN.
      Fig 2: Vehicle Identification Number Reading Procedure Flow Chart (1 Of 3)
      G04017714Courtesy of © TOYOTA, LICENSE AGREEMENT TMS1002
      Fig 3: Vehicle Identification Number Reading Procedure Flow Chart (2 Of 3)
      G04017715Courtesy of © TOYOTA, LICENSE AGREEMENT TMS1002
      Fig 4: Vehicle Identification Number Reading Procedure Flow Chart (3 Of 3)
      G04017716Courtesy of © TOYOTA, LICENSE AGREEMENT TMS1002