LEMON Manuals: Even more car manuals for everyone
Home >> Lexus >> 2006 >> ES 330 >> Repair and Diagnosis >> General Information >> Identification >> Introduction >> Repair Instruction >> Precaution

Repair Instruction: Precaution

  1. BASIC REPAIR HINT 
    1. HINTS ON OPERATIONS
      Fig 1: Positioning Different Safety Components And Tools
      G02935979Courtesy of © TOYOTA, LICENSE AGREEMENT TMS1002
      Fig 2: Basic Repair Precautions Table
      G02935980Courtesy of © TOYOTA, LICENSE AGREEMENT TMS1002
    2. JACKING UP AND SUPPORTING VEHICLE
      1. Care must be taken when jacking up and supporting the vehicle. Be sure to lift and support the vehicle at the proper locations (See VEHICLE LIFT AND SUPPORT LOCATIONS  ).
    3. PRECOATED PARTS
      1. Precoated parts such as bolts, nuts, etc., are coated with a seal lock adhesive at the factory.
      2. If a precoated part is retightened, loosened or caused to move in any way, it must be recoated with the specified adhesive.
      3. When reusing precoated parts, clean off the old adhesive and dry the part with compressed air. Then apply the specified seal lock adhesive to the bolt, nut or threads.
        NOTE: Check the torque with the lower limit value of the torque tolerance.
      4. Depending on the seal lock agent to be applied, there may be cases where it is necessary to leave it for a specified time until it hardens.
      Fig 3: Reusing Component Protection
      G02935981Courtesy of © TOYOTA, LICENSE AGREEMENT TMS1002
    4. GASKETS
      1. When necessary, use a sealer on gaskets to prevent leaks.
    5. BOLTS, NUTS AND SCREWS
      1. Carefully observe all the specifications for tightening torques. Always use a torque wrench.
    6. FUSES
      1. When replacing fuses, be sure that a new fuse has the correct amperage rating. DO NOT exceed the rating, or use one with a lower rating.
      Fig 4: Checking Fuse
      G02935982Courtesy of © TOYOTA, LICENSE AGREEMENT TMS1002
      Fig 5: Different Fuses Symbol Chart
      G02935983Courtesy of © TOYOTA, LICENSE AGREEMENT TMS1002
    7. CLIPS
      1. The removal and installation methods of typical clips used in body parts are shown in the table below.

      HINT:

      If the clip is damaged during the operation, always replace it with a new clip.

      Fig 6: Removing And Installing Procedure For Different Clips (1 Of 2)
      G02935984Courtesy of © TOYOTA, LICENSE AGREEMENT TMS1002
      Fig 7: Removing And Installing Procedure For Different Clips (2 Of 2)
      G02935985Courtesy of © TOYOTA, LICENSE AGREEMENT TMS1002
    8. REMOVAL AND INSTALLATION OF VACUUM HOSES
      1. To disconnect vacuum hoses, pull them by holding the end, not the middle of the hose.
        Fig 8: Removing And Installing Vacuum Hoses
        G02935986Courtesy of © TOYOTA, LICENSE AGREEMENT TMS1002
      2. When disconnecting vacuum hoses, use tags to identify where they should be reconnected.
      3. After completing the job, double check whether the vacuum hoses are properly connected. The label under the hood shows the proper layout.
      4. When using a vacuum gauge, never force the hose onto a connector that is too large. Use a step-down adapter for adjustment. Once the hose has been stretched, it may leak air.
      Fig 9: Removing And Installing Vacuum Hoses
      G02935987Courtesy of © TOYOTA, LICENSE AGREEMENT TMS1002
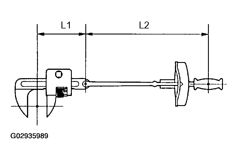
    9. TORQUE WHEN USING TORQUE WRENCH WITH EXTENSION TOOL
      1. When the torque wrench is combined with SST or an extension tool to extend the length, and you tighten until the torque wrench reads the specified torque value, the actual torque becomes excessive.
      2. In this information, only the specified torque is described. In case of using SST or extension tool, calculate the reading of the torque wrench by the following formula.
      3. Formula T' = T x L2/(L1 + L2)
      TORQUE REFERENCE

      T' Reading of torque wrench {N.m (kgf.cm, ft..lbf)}
      T Torque {N.m (kgf.cm, ft..lbf)}
      L1 Length of SST or extension tool (cm)
      L2 Length of torque wrench (cm)
      Fig 10: Measuring Torque With Extension Tool
      G02935988Courtesy of © TOYOTA, LICENSE AGREEMENT TMS1002
      Fig 11: Measuring Torque With Extension Tool
      G02935989Courtesy of © TOYOTA, LICENSE AGREEMENT TMS1002
  2. FOR VEHICLES EQUIPPED WITH SRS AIRBAG AND SEAT BELT PRETENSIONER 

    HINT:

    The LEXUS ES330 is equipped with an SRS (Supplemental Restraint System), which includes the driver airbag, front passenger airbag, side airbag, curtain shield airbag and seat belt pretensioner.

    Failure to carry out the service operations in the correct sequence could cause the supplemental restraint system to unexpectedly deploy while servicing. This could cause a serious accident.

    Furthermore, if a mistake is made when servicing the supplemental restraint system, it is possible that the SRS will fail to operate when required. Before servicing (including removal or installation of parts, inspection or replacement), be sure to read the following items carefully. Then follow the correct procedures described in this information.

    1. GENERAL NOTICE
      1. Malfunction symptoms of the supplemental restraint system are difficult to confirm so the diagnostic trouble codes become the most important source of information when troubleshooting. When troubleshooting the supplemental restraint system, always check the diagnostic trouble codes before disconnecting the battery (See PRECAUTION ).
      2. Work must be started after 90 seconds from the time that the ignition switch is turned to the LOCK position and the negative (-) terminal cable is disconnected from the battery.

        (The supplemental restraint system is equipped with a back-up power source. So, if work is started within 90 seconds after disconnecting the negative (-) terminal cable from the battery, the SRS may deploy).

        When the negative (-) terminal cable is disconnected from the battery, memory of the clock and audio systems is cancelled. So, before starting work, make a record of the contents recorded in each memory system. Then, when work is finished, reset the clock and audio systems as before.

      3. Even in the case of a minor collision where the SRS does not deploy, the horn button assembly (See DISPOSAL ), instrument panel passenger airbag assembly (See DISPOSAL ), front seat airbag assembly (See DISPOSAL ), curtain shield airbag assembly (See DISPOSAL ) and seat belt pretensioner (See DISPOSAL ) should be inspected.
      4. Never use the SRS related parts from another vehicle. When replacing the parts, replace them with new parts.
      5. Before repairs, remove the airbag sensor if there is a possibility during repairs.
      6. Never disassemble and repair the airbag sensor assembly, the horn button assembly, the instrument panel passenger airbag assembly, the front seat airbag assembly, the curtain shield airbag assembly or seat belt pretensioner.
      7. If the airbag sensor assembly, the side airbag assembly, the horn button assembly, the instrument panel passenger airbag assembly, the front seat airbag assembly, the curtain shield airbag assembly or seat belt pretensioner has been dropped, or if there are cracks, dents or other defects in the case, bracket or connector, replace them with new ones.
      8. Do not directly expose the airbag sensor assembly, the horn button assembly, the instrument panel passenger airbag assembly, the front seat airbag assembly, the curtain shield airbag assembly or seat belt pretensioner to hot air or flames.
      9. Use a volt/ohmmeter with high impedance (10 kΩ/V minimum) for troubleshooting of an electrical circuit.
      10. Information labels are attached to the SRS components. Follow the instructions on the notices.
      11. After work on the supplemental restraint system is completed, check the SRS warning light (See CHECK MODE PROCEDURE ).
    2. SPIRAL CABLE (in Combination Switch)
      1. The steering wheel must be fitted correctly to the steering column with the spiral cable at the neutral position, otherwise cable disconnection and other troubles may occur. Refer to SPIRAL CABLE SUB-ASSY on this information concerning the correct installation of the steering wheel.
      Fig 12: Positioning Spiral Cable
      G02935990Courtesy of © TOYOTA, LICENSE AGREEMENT TMS1002
    3. HORN BUTTON ASSEMBLY (with Airbag)
      1. When removing the horn button assembly or handling a new horn button, it should be placed with the top of pad surface facing upward. Placing it with the pad surface facing downward may lead to a serious accident if the airbag accidentally inflates. Also, do not place the horn button on top of one another.
      2. Never measure the resistance of the airbag squib (This may cause the airbag to inflate, which is very dangerous).
      3. Grease should not be applied to the horn button assembly, and the pad should not be cleaned with detergents of any kinds.
      4. Store the horn button assembly where the ambient temperature remains below 93°C (200°F), without high humidity and away from electrical noise.
      5. When using electric welding, disconnect the airbag connector (2 yellow pins) under the steering column near the combination switch connector before starting work.
      6. When disposing of the vehicle or the horn button assembly unit, the airbag should be deployed using SST before disposal (See DISPOSAL ).

      Activate in a safe place away from electrical noise.

      Fig 13: Placing Horn Button Assembly (With Airbag)
      G02935991Courtesy of © TOYOTA, LICENSE AGREEMENT TMS1002
      Fig 14: Precautions Of Restraint System
      G02935992Courtesy of © TOYOTA, LICENSE AGREEMENT TMS1002
    4. INSTRUMENT PANEL PASSENGER AIRBAG ASSEMBLY
      1. Always store a removed or new instrument panel passenger airbag assembly with the airbag inflation direction facing upward.

        Placing the airbag assembly with the airbag inflation direction facing downward could cause a serious accident if the airbag deploys.

      2. Never measure the resistance of the airbag squib (This may cause the airbag to inflate, which is very dangerous).
      3. Grease should not be applied to the instrument panel passenger airbag assembly, and the airbag door should not be cleaned with detergents of any kind.
      4. Store the airbag assembly where the ambient temperature remains below 93°C (200°F), without high humidity and away from electrical noise.
      5. When using electric welding, disconnect the airbag connector (2 yellow pins) installed on the assembly before starting work.
      6. When disposing of a vehicle or the airbag assembly unit, the airbag should be deployed using SST before disposal (See DISPOSAL ).

      Activate in a safe place away from electrical noise.

      Fig 15: Placing Passenger Airbag Assembly
      G02935993Courtesy of © TOYOTA, LICENSE AGREEMENT TMS1002
      Fig 16: Precautions Of Restraint System
      G02935994Courtesy of © TOYOTA, LICENSE AGREEMENT TMS1002
    5. FRONT SEAT AIRBAG ASSEMBLY
      1. Always place a removed or new front seat airbag assembly with the airbag inflation direction facing upward. Placing the airbag assembly with the airbag inflation direction facing downward could cause a serious accident if the airbag deploys.
      2. Never measure the resistance of the airbag squib (This may cause the airbag to inflate, which is very dangerous).
      3. Grease should not be applied to the front seat airbag assembly, and the airbag door should not be cleaned with detergents of any kind.
      4. Store the airbag assembly where the ambient temperature remains below 93°C (200°F), without high humidity and away from electrical noise.
      5. When using electric welding, disconnect the airbag connector (2 yellow pins) installed on the assembly before starting work.
      6. When disposing of a vehicle or the side airbag assembly unit, the airbag should be deployed using SST before disposal (See DISPOSAL ).

      Activate in a safe place away from electrical noise.

      Fig 17: Placing Seat Airbag Assembly
      G02935995Courtesy of © TOYOTA, LICENSE AGREEMENT TMS1002
      Fig 18: Precautions Of Restraint System
      G02935996Courtesy of © TOYOTA, LICENSE AGREEMENT TMS1002
    6. CURTAIN SHIELD AIRBAG ASSEMBLY
      1. Always store the removed or new curtain shield airbag assembly in a clear plastic bag, and keep it in a safe place.
        NOTE: Protection bag is not re-useable.
        CAUTION: Never disassemble the curtain shield airbag assembly.
      2. Never measure the resistance of the airbag squib (This may cause the airbag to inflate, which is very dangerous).
      3. Grease should not be attached to the curtain shield airbag assembly, and the surface should not be cleared with detergents of any kind.
      4. Store the airbag assembly where the ambient temperature remains below 93°C (200°F), without high humidity and away from electrical noise.
      5. When using electric welding, disconnect the airbag connector (2 yellow pins) into the instrument panel before starting work.
      6. When disposing of a vehicle or the curtain shield airbag assembly unit, the airbag should be deployed using SST before disposal (See DISPOSAL ).

        Activate in a safe place away from electrical noise.

        Fig 19: Placing Curtain Shield Airbag Assembly
        G02935997Courtesy of © TOYOTA, LICENSE AGREEMENT TMS1002
        Fig 20: Precautions Of Restraint System
        G02935998Courtesy of © TOYOTA, LICENSE AGREEMENT TMS1002
      7. SEAT BELT PRETENSIONER
        1. Never measure the resistance of the seat belt pretensioner (This may cause the seat belt pretensioner to activate, which is very dangerous).
        2. Never disassemble the seat belt pretensioner.
        3. Never install the seat belt pretensioner to another vehicle.
        4. Store the seat belt pretensioner where the ambient temperature remains below 80°C (176°F) without high humidity and away from electrical noise.
        5. When using electric welding, disconnect the connector (2 yellow pins) before starting work.
        6. When disposing of a vehicle or the seat belt pretensioner alone, the seat belt pretensioner should be activated before disposal (See DISPOSAL ). Perform the operation in a safe place away from electrical noise.
        7. The seat belt pretensioner is hot after activated so allow some time for it to cool down sufficiently before disposal. Never apply water to cool down the seat belt pretensioner.
        8. Oil or water should not be put on the front seat outer belt, and the front seat outer belt should not be cleaned with detergents of any kind.
          Fig 21: Precautions Of Restraint System
          G02935999Courtesy of © TOYOTA, LICENSE AGREEMENT TMS1002
        9. AIRBAG SENSOR ASSEMBLY
          1. Never reuse the airbag sensor assembly involved in a collision where the SRS has deployed.
          2. The connectors to the airbag sensor assembly should be connected or disconnected with the sensor mounted on the floor. If the connectors are connected or disconnected while the airbag sensor assembly is not mounted to the floor, it could cause the supplemental restraint system to deploy potentially resulting in injury.
          3. Work must be started after 90 seconds from the time the ignition switch is turned to the "LOCK" position and the negative (-) terminal cable is disconnected from the battery, even if only loosening the set bolts of the airbag sensor assembly.
        10. WIRE HARNESS AND CONNECTOR 
          1. The SRS wire harness is integrated with the instrument panel wire harness assembly. All the connectors in the system are in a standard yellow color. If the SRS wire harness becomes disconnected or the connector becomes broken due to an accident, etc., repair or replace it.
      8. ELECTRONIC CONTROL 
        1. REMOVAL AND INSTALLATION OF BATTERY TERMINAL
          1. Before performing electronic work, disconnect the battery negative (-) terminal cable beforehand in order to prevent it from shorting and burning out.
            Fig 22: Precaution Of Electronic Parts
            G02936000Courtesy of © TOYOTA, LICENSE AGREEMENT TMS1002
          2. When disconnecting and installing the terminal cable, turn the ignition switch and lighting switch OFF and loosen the terminal nut completely. Perform these operations without twisting or prying the terminal.
          3. When the battery terminal cable is removed, the memories of the clock, radio, DTCs, etc. are erased. So before removing it, check them and make a note.
          4. When disconnecting the negative (-) terminal cable of the battery, initialize the following systems after the completion of the operation.
          SLIDING ROOF SYSTEM REFERENCE

          System Name See
          Sliding Roof System RESET
        2. HANDLING OF ELECTRONIC PARTS
          1. Do not open the cover or case of the ECU unless absolutely necessary (If the IC terminals are touched, the IC may be rendered inoperative by static electricity).
          2. To disconnect electronic connectors, pull the connector itself, not the wires.
          3. Be careful not to drop electronic components, such as sensors or relays. If they are dropped on a hard floor, they should be replaced and not be reused.
            Fig 23: Precaution Of Electronic Parts
            G02936001Courtesy of © TOYOTA, LICENSE AGREEMENT TMS1002
          4. When cleaning the engine with steam, protect the electronic components, air filter and emission-related components from water.
          5. Never use an impact wrench to remove or install temperature switches or temperature sensors.
          6. When checking the continuity at the wire connector, insert the tester probe carefully to prevent terminals from bending.
      9. REMOVAL AND INSTALLATION OF FUEL CONTROL PARTS 
        1. PLACE FOR REMOVING AND INSTALLING OF FUEL SYSTEM PARTS
          1. Work in a place with good air ventilation and without anything that could cause combustion around you such as a welder, grinder, drill, electric motor or stove.
          2. Never work in a place such as a pit or nearby a pit, as there is a possibility that vaporized fuel will collect in those places.
        2. REMOVING AND INSTALLING OF FUEL SYSTEM PARTS
          1. Prepare a fire extinguisher before starting operation.
          2. To prevent static electricity, install a ground on the fuel changer, vehicle and fuel tank, and do not spray much water so as to prevent slipping.
          3. Never use any electric equipment like an electric motor or a working light, as they may create sparks or a high temperature.
          4. Never use an iron hammer, as it may create sparks.
          5. Dispose of shop rags containing fuel deposits separately.
      10. REMOVAL AND INSTALLATION OF ENGINE INTAKE PARTS 
        1. If any metal particle enters the inlet pass, it may have a bad effect on the engine and turbocharger.
        2. When removing and installing the inlet system parts, close the opening of the removed inlet system parts and the engine with a clean shop rag or gum tape.
        3. When installing the inlet system parts, check that no metal particles have entered.
        Fig 24: Covering Engine Intake Parts
        G02936002Courtesy of © TOYOTA, LICENSE AGREEMENT TMS1002
      11. HANDLING OF HOSE CLAMPS 
        1. Before removing the hose, check the clamp position to ensure that it can be restored securely.
        2. Replace a deformed or dented clamp with a new one.
        3. When reusing a hose, attach the clamp on the clamp track portion of the hose.
        4. For a spring type clamp, make an adjustment after installation by pushing in the direction of the arrow mark.
        Fig 25: Locating Clamp Positing
        G02936003Courtesy of © TOYOTA, LICENSE AGREEMENT TMS1002
      12. FOR VEHICLES EQUIPPED WITH MOBILE COMMUNICATION SYSTEMS 
        1. Install the antenna as far away from the ECU and sensors of the vehicle electronic systems as possible.
        2. Install an antenna feeder at least 20 cm (7.87 in.) away from the ECU and sensors of the vehicle electronic systems. For details of the ECU and sensors locations, refer to the article on applicable components.
        3. Prevent the antenna feeder from getting entangled with the other wiring, and keep the antenna feeder separate from other wiring as much as possible.
        4. Check that the antenna and feeder are correctly adjusted.
        5. Do not install any high-powered mobile communication systems.
        Fig 26: Positioning Of Mobile Communication System
        G02936004Courtesy of © TOYOTA, LICENSE AGREEMENT TMS1002
      13. FOR VEHICLES EQUIPPED WITH TRACTION CONTROL (TRAC) SYSTEM 

        When using a 2-wheel drum tester such as a speedometer tester or chassis dynamometer, etc., or jacking up the front wheels and driving the wheels, always push in the TRAC cut ("TRAC OFF") switch and turn the TRAC system OFF.

        1. Confirm TRAC system is OFF
          1. Press the TRAC cut ("TRAC OFF") switch.
          2. Check that the TRAC OFF indicator light comes on when the TRAC system is turned OFF by the TRAC cut switch.

            HINT:

            The SLIP indicator light should always operate right after the engine is restarted.

          3. Begin measurements.
          4. Press the TRAC cut switch to turn the TRAC to the operative mode and check that the TRAC OFF indicator light goes off.

          HINT:

          The SLIP indicator light blinks when the TRAC system is operating.

          Fig 27: Locating TRAC System Indicator Light And Cut Switch
          G02936005Courtesy of © TOYOTA, LICENSE AGREEMENT TMS1002
          Fig 28: Locating Slip Indicator Light
          G02936006Courtesy of © TOYOTA, LICENSE AGREEMENT TMS1002
    7. FOR VEHICLES EQUIPPED WITH VEHICLE STABILITY CONTROL (VSC) SYSTEM 
      1. Notices when using dram tester
        1. When using a drum tester, be sure to start the engine with the ignition switch OFF, and connect SST to the terminals TS and CG of the DLC3 before the measurement in order to cancel the VSC operation.

          SST 09843-18040

        NOTE:
        • Confirm that the VSC warning light blinks.
        • The VSC system is reset when the engine is restarted.
        • Fasten the vehicle with lock chains.
      2. Notice of related operations to VSC
        1. Do not carry out unnecessary installation and removal as it might disorder the adjustment of the parts related to the VSC.
        2. Be sure to carry out the preparation for operation and the confirmation of operation completion in accordance with the instructions of the text and when the operations related to the VSC are performed.
      Fig 29: Identifying DLC3 Connector Terminals
      G02936007Courtesy of © TOYOTA, LICENSE AGREEMENT TMS1002
    8. FOR VEHICLES EQUIPPED WITH CATALYTIC CONVERTER 
      CAUTION: If a large amount of unburned gasoline flows into the converter, it may cause overheating and is a fire hazard. To prevent this, observe the following precautions.
      1. Use only unleaded gasoline.
      2. Avoid prolonged idling.

        Avoid idling engine for more than 20 minutes.

      3. Avoid a spark jump test.
        1. Perform a spark jump test only when absolutely necessary. Perform this test as rapidly as possible.
        2. While testing, never race the engine.
      4. Avoid a prolonged engine compression measurement.

        Engine compression measurements must be performed as rapidly as possible.

      5. Do not run the engine when the fuel tank is nearly empty. This may cause the engine to misfire and create an extra load on the converter.