LEMON Manuals: Even more car manuals for everyone
Home >> Lexus >> 2005 >> RX 330 AWD >> Repair and Diagnosis >> Body & Frame >> Windows >> Windshield/WINDOWGLASS/Mirror >> Window Defogger System >> Inspection

Window Defogger System: Inspection

  1. W/Memory seat: INSPECT OUTER REAR VIEW MIRROR ASSY LH 
    1. Apply battery voltage and check operation of the mirror heater.

      Standard: 

      MEASUREMENT CONDITION SPECIFICATION

      Measurement Condition Specified Condition
      Battery positive (+) --> Terminal (4) Mirror becomes warm
      Battery negative (-) --> Terminal (12) Mirror becomes warm

      If the result is not as specified, replace the mirror assy.

      Fig 1: Identifying Outer Rear View Mirror Assy LH Connector Terminals (W/Memory Seat)
      G03013061Courtesy of © TOYOTA, LICENSE AGREEMENT TMS1002
  2. W/Memory seat: INSPECT OUTER REAR VIEW MIRROR ASSY RH 
    1. Apply battery voltage and check operation of the mirror heater.

      Standard: 

      MEASUREMENT CONDITION SPECIFICATION

      Measurement Condition Specified Condition
      Battery positive (+) --> Terminal (4) Mirror becomes warm
      Battery negative (-) --> Terminal (12) Mirror becomes warm

      If the result is not as specified, replace the mirror assy.

      Fig 2: Identifying Outer Rear View Mirror Assy RH Connector Terminals (W/Memory Seat)
      G03013062Courtesy of © TOYOTA, LICENSE AGREEMENT TMS1002
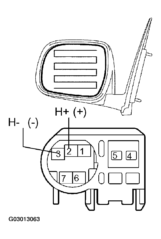
  3. W/o Memory seat: INSPECT OUTER REAR VIEW MIRROR ASSY LH 
    1. Apply battery voltage and check operation of the mirror heater.

      Standard: 

      MEASUREMENT CONDITION SPECIFICATION

      Measurement Condition Specified Condition
      Battery positive (+) --> Terminal (2) Mirror becomes warm
      Battery negative (-) --> Terminal (3) Mirror becomes warm

      If the result is not as specified, replace the mirror assy.

      Fig 3: Identifying Outer Rear View Mirror Assy LH Connector Terminals (W/O Memory seat)
      G03013063Courtesy of © TOYOTA, LICENSE AGREEMENT TMS1002
  4. W/o Memory seat: INSPECT OUTER REAR VIEW MIRROR ASSY RH 
    1. Apply battery voltage and check operation of the mirror heater.

      Standard: 

      MEASUREMENT CONDITION SPECIFICATION

      Measurement Condition Specified Condition
      Battery positive (+) --> Terminal (2) Mirror becomes warm
      Battery negative (-) --> Terminal (3) Mirror becomes warm

      If the result is not as specified, replace the mirror assy.

      Fig 4: Identifying Outer Rear View Mirror Assy RH Connector Terminals (W/O Memory seat)
      G03013064Courtesy of © TOYOTA, LICENSE AGREEMENT TMS1002
  5. W/Deicer: INSPECT FRONT WINDOW (DEICER WIRE) 
    1. Check the resistance of the deicer wire.

      Standard: 

      TESTER CONNECTION SPECIFICATION

      Tester Connection Specified Condition
      1 - 2 Below 1 Ω
      3 - 2 Below 1 Ω

      If the result is not as specified, replace the front window.

      Fig 5: Identifying Front Window Connector (Deicer Wire)
      G03013065Courtesy of © TOYOTA, LICENSE AGREEMENT TMS1002
  6. INSPECT BACK WINDOW (DEFOGGER WIRE) 
    NOTE:
    • When cleaning the glass, wipe the glass along the wire using a soft and dry cloth. Take care not to damage the wires.
    • Do not use detergents or glass cleaners including abrasive ingredients.
    • When measuring voltage, wrap a piece of tin foil around the tip of the negative tester probe and press the foil against the wire with your finger, as shown in the illustration.
    • Fig 6: Wrapping Piece Of Tin Foil Around Tip Of Negative Tester Probe And Pressing Foil Against Wire With Your Finger
      G03013066Courtesy of © TOYOTA, LICENSE AGREEMENT TMS1002
    1. Turn the ignition switch ON.
    2. Turn the defogger switch ON.
    3. Check the voltage at the center of each defogger wire, as shown in the illustration.

      Standard: 

      VOLTAGE SPECIFICATION

      Voltage Criteria
      Approx. 5 V Okay, wire is not broken
      Approx. 10 V or 0 V Wire is broken
      Fig 7: Checking Voltage At Center Of Defogger Wire
      G03013067Courtesy of © TOYOTA, LICENSE AGREEMENT TMS1002

      HINT:

      If there is approx 10 V, the wire may be broken between the center of the wire and the end on the battery side. If there is no voltage, the wire may be broken between the center of the wire and the end on the ground side.

    4. Place the voltmeter positive (+) lead against the defogger wire on the battery side.
    5. Place the voltmeter negative (-) lead with the foil strip against the wire on the ground side.
    6. Fig 8: Placing Voltmeter (+) Lead Defogger Wire On Battery Side And Place Voltmeter Negative (-) Lead With Foil Strip Against Wire On Ground Side
      G03013068Courtesy of © TOYOTA, LICENSE AGREEMENT TMS1002
    7. Slide the positive (+) lead from the battery side to the ground side.
    8. The point where the voltmeter deflects from approx 10 V to 0 V is the place where the defogger wire is broken.

      HINT:

      If the defogger wire is not broken, the voltmeter indicates 0 V at the positive (+) end of the defogger wire but gradually increases to approx 12 V as the meter probe moves to the other end.

    9. If necessary, repair the defogger wire.
      1. Clean the broken wire tips with grease, wax and silicone remover.
      2. Place the masking tape along both sides of the wire.
      3. Fig 9: Placing Masking Tape Both Sides Of Wire
        G03013069Courtesy of © TOYOTA, LICENSE AGREEMENT TMS1002
      4. Thoroughly mix the repair agent (Dupont paste No. 4817).
      5. Using a fine tip brush, apply a small amount of the agent to the wire.
      6. Fig 10: Using Fine Tip Brush To Apply Small Amount Of Agent To Wire
        G03013070Courtesy of © TOYOTA, LICENSE AGREEMENT TMS1002
      7. After a few minutes, remove the masking tape.
        NOTE: Do not repair the defogger wire again for at least 24 hours.
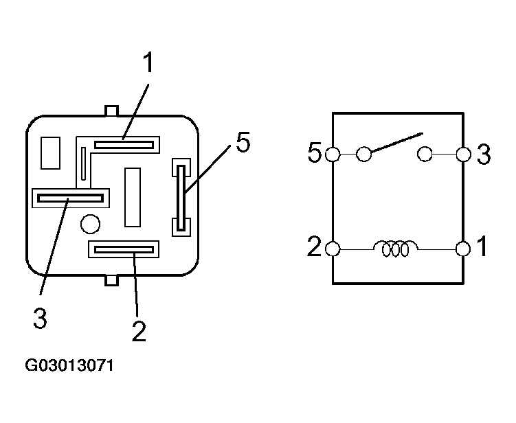
  7. INSPECT HEATER MIRROR RELAY 
    1. Check the resistance.

      Standard: 

      TESTER CONNECTION SPECIFICATION

      Tester Connection Specified Condition
      3 - 5 10 kΩ or higher
      3 - 5 Below 1 Ω(When battery voltage is applied to terminals 1 and 2)

      If the result is not as specified, replace the relay.

      Fig 11: Inspecting Heater Mirror Relay
      G03013071Courtesy of © TOYOTA, LICENSE AGREEMENT TMS1002