LEMON Manuals: Even more car manuals for everyone
Home >> Lexus >> 2005 >> IS 300 Base, Standard >> Repair and Diagnosis >> Body & Frame >> Windows >> Windshield >> Installation

Body & Frame: Windows: Windshield: Installation

  1. CLEAN AND SHAPE CONTACT SURFACE OF BODY 
    1. Using a knife, cut away any rough areas on the body.

      HINT:

      Leave as much of the adhesive on the body as possible.

    2. Clean the cutting surface of the adhesive with a piece of shop rag soaked with cleaner.

    HINT:

    Even if all the adhesive has been removed with knife, clean the body with the shop rag.

    Fig 1: Cleaning & Shaping Contact Surface Of Body
    G02946325Courtesy of © TOYOTA, LICENSE AGREEMENT TMS1002
  2. CLEAN REMOVED GLASS 
    1. Remove the damaged No. 2 stoppers and dams.
    2. Using a scraper, remove the adhesive sticking to the glass.
    3. Clean the glass with cleaner.
    NOTE:
    • Be careful not to damage the glass. 
    • Do not touch the glass face after cleaning it. 
    Fig 2: Cleaning Removed Glass
    G02946326Courtesy of © TOYOTA, LICENSE AGREEMENT TMS1002
  3. REPLACE NO. 1 STOPPERS 
    1. Remove the damaged stoppers.
    2. Cut off the old adhesive around the stoppers installation area.
      NOTE: Be careful not to damage the body. 
    3. Clean the installation area.
    4. Attach new stoppers to the body with the notches on the body aligned with the stoppers as shown in Fig 3 .

    HINT:

    Make sure that the stoppers are installed in the correct direction.

    Fig 3: Replacing No. 1 Stoppers
    G02946327Courtesy of © TOYOTA, LICENSE AGREEMENT TMS1002
  4. INSTALL NEW NO. 2 STOPPERS 

    Attach new stoppers to the glass with the ceramic notches on the glass aligned with the stoppers as shown in Fig 4 .

    HINT:

    Make sure that the stoppers are installed in the correct direction.

    Fig 4: Installing New No. 2 Stoppers
    G02946328Courtesy of © TOYOTA, LICENSE AGREEMENT TMS1002
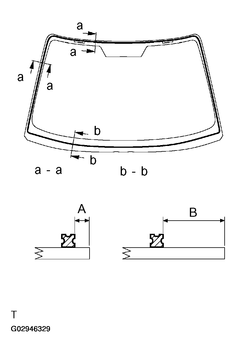
  5. INSTALL NEW DAMS 

    Install new dams with double-stick tape as shown in Fig 5 .

    1. 7.0 mm (0.276 in.) 
    2. 35.9 mm (1.413 in.) 
    Fig 5: Installing New Dams With Double-Stick Tape
    G02946329Courtesy of © TOYOTA, LICENSE AGREEMENT TMS1002
  6. POSITION GLASS 
    1. Place the glass in the correct position.
    2. Check that all contacting parts of the glass rim are perfectly even.
    3. Place reference marks between the glass and body.
    4. Remove the glass.
      Fig 6: Placing Glass Correct Position
      G02946330Courtesy of © TOYOTA, LICENSE AGREEMENT TMS1002
  7. CLEAN CONTACT SURFACE OF GLASS 

    Using a cleaner, clean the contact surface which is black-colored area around the entire glass rim.

    NOTE: Do not touch the glass face after cleaning it. 
    Fig 7: Cleaning Contact Surface Of Glass
    G02946331Courtesy of © TOYOTA, LICENSE AGREEMENT TMS1002
  8. COAT CONTACT SURFACE OF BODY WITH PRIMER "M" 

    Using a brush, coat Primer M to the exposed part of body on the vehicle side.

    NOTE:
    • Let the primer coating dry for 3 minutes or more. 
    • Do not coat Primer M to the adhesive. 
    • Do not keep any of the opened Primer M for later use. 
    Fig 8: Coating Primer M To Exposed Part Of Body On Vehicle Side
    G02946332Courtesy of © TOYOTA, LICENSE AGREEMENT TMS1002
  9. COAT CONTACT SURFACE OF GLASS WITH PRIMER "G" 
    1. Using a brush or sponge, coat the edge of the glass and the contact surface with Primer G as shown in Fig 9 .
    2. When the primer is coated wrongly to the area other than the specified by accident, wipe it off with a clean shop rag before the primer dries.
    NOTE:
    • Let the primer coating dry for 3 minutes or more. 
    • Do not keep any of the opened Primer G for later use. 
    Fig 9: Coating Contact Surface Of Glass With Primer G
    G02946333Courtesy of © TOYOTA, LICENSE AGREEMENT TMS1002
  10. APPLY ADHESIVE 
    1. Cut off the tip of the cartridge nozzle.
      1. Part No. 08850-00801 or equivalent 

      HINT:

      After cutting off the tip, finish off the adhesive within the time described in ADHESIVE TEMPERATURE SPECIFICATION  .

      ADHESIVE TEMPERATURE SPECIFICATION

      Temperature Tackfree time
      35°C (95°F) 15 minutes
      20°C (68°F) 100 minutes
      5°C (41°F) 8 hours
    2. Load the cartridge into the sealer gun.
    3. Coat the glass with adhesive as shown in Fig 10 .
      1. 12.5 mm (0.492 in.) 
      2. 8.0 mm (0.315 in.) 
      Fig 10: Coating Glass With Adhesive
      G02946334Courtesy of © TOYOTA, LICENSE AGREEMENT TMS1002
  11. INSTALL GLASS 
    1. Position the glass so that the reference marks are lined up, and press in gently along the rim.
    2. Using a spatula, apply adhesive on the glass rim.
      Fig 11: Positioning Glass
      G02946335Courtesy of © TOYOTA, LICENSE AGREEMENT TMS1002
    3. Use a scraper to remove any excess or protruding adhesive.
      Fig 12: Using A Scraper To Remove Any Excess Or Protruding Adhesive
      G02946336Courtesy of © TOYOTA, LICENSE AGREEMENT TMS1002

      HINT:

      Confirm that the dam is attached to the body panel as shown in Fig 13 .

      Fig 13: Attaching Dam To Body Panel
      G02946337Courtesy of © TOYOTA, LICENSE AGREEMENT TMS1002
    4. Hold the windshield glass in place securely with a protective tape or equivalent until the adhesive hardens.
    NOTE: Take care not to drive the vehicle during the time described in  TEMPERATURE/DRIVE SPECIFICATION   . 
    TEMPERATURE/DRIVE SPECIFICATION

    Temperature Minimum time prior to driving the vehicle
    35°C (95°F) 1.5 hours
    20°C (68°F) 5 hours
    5°C (41°F) 24 hours
  12. APPLY ADHESIVE TO MOLDING INSTALLATION AREA 

    Apply adhesive to the molding installation area between the glass and the body.

    1. Part No. 08833-00030 or equivalent 
    Fig 14: Applying Adhesive To Molding
    G02946338Courtesy of © TOYOTA, LICENSE AGREEMENT TMS1002
  13. INSTALL WINDSHIELD OUTSIDE MOLDING 

    Place new molding onto the body and tap it by hand.

    Fig 15: Placing New Molding Onto Body & Tap It By Hand
    G02946339Courtesy of © TOYOTA, LICENSE AGREEMENT TMS1002
  14. INSPECT FOR LEAK AND REPAIR 
    1. Conduct a leak test after the hardening time has elapsed.
    2. Seal any leak with sealant.
      1. Part No. 08833-00030 or equivalent 
  15. INSTALL FRONT PART OF ROOF HEADLINING 
  16. INSTALL COWL LOUVER 
    1. Install the cowl louver with the 2 clips.
    2. Install the hood to cowl top seal.
      Fig 16: Installing Cowl Louver
      G02946340Courtesy of © TOYOTA, LICENSE AGREEMENT TMS1002
  17. INSTALL WIPER ARMS 
    1. Operate the wipers once and turn the wiper switch OFF.
    2. Install the wiper arms and tighten the nuts by hand.
    3. Adjust the installation positions of the wiper arms to the positions as shown in Fig 17 .
      1. A: 20.0 mm (0.787 in.) 
      2. B (Europe models): 25.0 mm (0.984 in.) 
      3. B (Australia models): 28.0 mm (1.102 in.) 
    4. Install the 2 wiper arms with the 2 nuts.
      1. Torque: 26 N.m (265 kgf.cm, 19 ft.lbf) 
    5. Install the 2 wiper arm head covers.
      Fig 17: Installing Wiper Arms
      G02946341Courtesy of © TOYOTA, LICENSE AGREEMENT TMS1002
  18. REMOVE ELECTRO CHROMIC INNER MIRROR 
    1. Match the claw part of the mirror with a cut part of the base.
    2. Turn the stay part of the mirror clockwise so that the stay comes to the original position, and then install the mirror assembly.
    3. w/Electro chromic inner mirror:

      Connect the inner rear view mirror connector.

      Fig 18: Removing Electro Chromic Inner Mirror
      G02946342Courtesy of © TOYOTA, LICENSE AGREEMENT TMS1002
  19. INSTALL FRONT ASSIST GRIP 
    1. Install the assist grip with the 2 screws.
    2. Install the caps.
  20. INSTALL SUN VISOR HOLDERS 

    Install the sun visor holders with the 2 screws.

  21. INSTALL SUN VISORS 

    Connect the connectors, then install the sun visors with the 4 screws.

  22. INSTALL MAP LIGHT ASSEMBLY 
    1. Connect the connectors.
    2. Install the map light assembly with the 2 screws.
    3. w/o Sliding roof:

      Install the lens.

    4. w/Sliding roof:

      Install the cover.

  23. INSTALL FRONT PILLAR GARNISH 
    1. Remove the protection cover.
    2. Install the bolt.
      1. Torque: 9.8 N.m (100 kgf.cm, 87 in.lbf) 
    3. Install the front pillar garnish to the body.
    4. Install the bolt.
    5. Install the front pillar garnish cover.
    6. Employ the same manner described above to the other side.
    Fig 19: Installing Front Pillar Garnish
    G02946343Courtesy of © TOYOTA, LICENSE AGREEMENT TMS1002
  24. INSTALL FRONT PART OF FRONT DOOR OPENING TRIMS