LEMON Manuals: Even more car manuals for everyone
Home >> Lexus >> 2005 >> GX 470 >> Repair and Diagnosis >> General Information >> Identification >> Introduction >> Repair Instruction >> Precaution

Repair Instruction: Precaution

  1. BASIC REPAIR HINT 
    1. HINTS ON OPERATIONS
      Fig 1: Precaution Before Repairing Instruction
      G02968541Courtesy of © TOYOTA, LICENSE AGREEMENT TMS1002
      Fig 2: Repairing Instruction Table
      G02968542Courtesy of © TOYOTA, LICENSE AGREEMENT TMS1002
    2. JACKING UP AND SUPPORTING VEHICLE
      1. Care must be taken when jacking up and supporting the vehicle. Be sure to lift and support the vehicle at the proper locations (See VEHICLE LIFT AND SUPPORT LOCATIONS  ).
    3. PRECOATED PARTS
      1. Precoated parts such as bolts, nuts, etc., are coated with a seal lock adhesive at the factory.
      2. If a precoated part is retightened, loosened or caused to move in any way, it must be recoated with the specified adhesive.
      3. When reusing precoated parts, clean off the old adhesive and dry the part with compressed air. Then apply the specified seal lock adhesive to the bolt, nut or threads.
        Fig 3: Applying Seal Lock Adhesive
        G02968543Courtesy of © TOYOTA, LICENSE AGREEMENT TMS1002
        NOTE: Check the torque with the lower limit value of the torque tolerance.
      4. Depending on the seal lock agent to be applied, there may be cases where it is necessary to leave it for a specified time until it hardens.
    4. GASKETS
      1. When necessary, use a sealer on gaskets to prevent leaks.
    5. BOLTS, NUTS AND SCREWS
      1. Carefully observe all the specifications for tightening torques. Always use a torque wrench.
    6. FUSES
      1. When replacing fuses, be sure that a new fuse has the correct amperage rating. DO NOT exceed the rating, or use one with a lower rating.
        Fig 4: Identifying Fuses
        G02968544Courtesy of © TOYOTA, LICENSE AGREEMENT TMS1002
        Fig 5: Fuses Description Table
        G02968545Courtesy of © TOYOTA, LICENSE AGREEMENT TMS1002
    7. CLIPS
      1. The removal and installation methods of typical clips used in body parts are shown in Fig 6.

        HINT:

        If the clip is damaged during a procedure, always replace it with a new clip.

        Fig 6: Removing/Installing Description Table (1 Of 2)
        G02968546Courtesy of © TOYOTA, LICENSE AGREEMENT TMS1002
        Fig 7: Removing/Installing Description Table (2 Of 2)
        G02968547Courtesy of © TOYOTA, LICENSE AGREEMENT TMS1002
    8. REMOVAL AND INSTALLATION OF VACUUM HOSES
      1. To disconnect vacuum hoses, pull them by holding the end, not the middle of the hose.
        Fig 8: Correct Procedure For Disconnecting Vacuum Hoses
        G02968548Courtesy of © TOYOTA, LICENSE AGREEMENT TMS1002
      2. When disconnecting vacuum hoses, use tags to identify where they should be reconnected.
      3. After completing the job, double check that the vacuum hoses are properly connected. The label under the hood shows the proper layout.
      4. When using a vacuum gauge, never force the hose onto a connector that is too large. Use a step-down adapter for adjustment. Once the hose has been stretched, it may leak air.
        Fig 9: Tying Identification Tag
        G02968549Courtesy of © TOYOTA, LICENSE AGREEMENT TMS1002
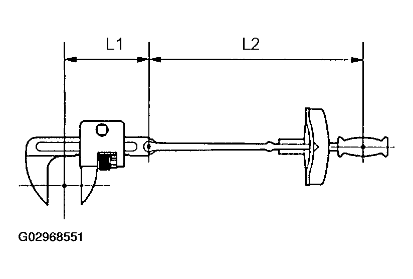
    9. TORQUE WHEN USING TORQUE WRENCH WITH EXTENSION TOOL
      1. When the torque wrench is combined with SST or an extension tool to extend the length, and you tighten until the torque wrench reads the specified torque value, the actual torque becomes excessive.
      2. In this article, only the specified torque is described. In case of using SST or extension tool, calculate the reading of the torque wrench by the following formula.
        Fig 10: Measuring Extension Tool Length (1 Of 2)
        G02968550Courtesy of © TOYOTA, LICENSE AGREEMENT TMS1002
        Fig 11: Measuring Extension Tool Length (2 Of 2)
        G02968551Courtesy of © TOYOTA, LICENSE AGREEMENT TMS1002
      3. Formula T'=T x L2/(L1 + L2)
        FORMULA DESCRIPTION TABLE

        T Reading of torque wrench {N.m (kgf.cm, ft.lbf)}
        T Torque {N.m (kgf.cm, ft.lbf)}
        L1 Length of SST or extension tool (cm)
        L2 Length of torque wrench (cm)
  2. FOR VEHICLES EQUIPPED WITH SRS AIRBAG AND SEAT BELT PRETENSIONER 

    HINT:

    The LEXUS GX 470 is equipped with an SRS (Supplemental Restraint System), which includes the driver airbag, front passenger airbag, side airbag, curtain shield airbag and seat belt pretensioner.

    Failure to carry out the service operations in the correct sequence could cause the supplemental restraint system to unexpectedly deploy while servicing. This can cause a serious accident.

    Furthermore, if a mistake is made when servicing the supplemental restraint system, it is possible that the SRS will fail to operate when required. Before servicing (including removal or installation of parts, inspection or replacement), be sure to read the following items carefully. Then follow the correct procedures described in this article.

    1. GENERAL NOTICE
      1. Malfunction symptoms of the supplemental restraint system are difficult to confirm, so the diagnostic trouble codes become the most important source of information when troubleshooting. When troubleshooting the supplemental restraint system, always check the diagnostic trouble codes before disconnecting the battery (See CHECK MODE PROCEDURE ).
      2. Work must be started after 90 seconds from the time that the ignition switch is turned to the LOCK position and the negative (-) terminal cable is disconnected from the battery.

        (The supplemental restraint system is equipped with a back-up power source. So, if work is started within 90 seconds after disconnecting the negative (-) terminal cable from the battery, the SRS may deploy).

        When the negative (-) terminal cable is disconnected from the battery, memory of the clock and audio systems is cancelled. So, before starting work, make a record of the contents recorded in each memory system. Then, when work is finished, reset the clock and audio systems as before.

      3. Even in the case of a minor collision where the SRS does not deploy, the horn button assembly, instrument panel passenger airbag assembly, front seat airbag assembly, curtain shield airbag assembly and seat belt pretensioner should be inspected (See DISPOSAL , DISPOSAL , DISPOSAL , FRONT SEAT AIRBAG ASSY RH and DISPOSAL ).
      4. Never use the SRS related parts from another vehicle. When replacing the parts, replace them with new parts.
      5. Before repairs, remove the airbag sensor if it may be shocked during repairs.
      6. Never disassemble and repair the center airbag sensor assembly, side airbag sensor assembly, horn button assembly, instrument panel passenger airbag assembly, front seat airbag assembly, curtain shield airbag assembly or seat belt pretensioner.
      7. If the center airbag sensor assembly, the side airbag sensor assembly, the horn button assembly, the instrument panel passenger airbag assembly, the front seat airbag assembly or the curtain shield airbag assembly have been dropped, or if there are cracks, dents or other defects in the case, bracket or connector, replace them with new ones.
      8. Do not directly expose the airbag sensor assembly, the side airbag sensor assembly, the horn button assembly, the instrument panel passenger airbag assembly, the front seat airbag assembly, the curtain shield airbag assembly or the seat belt pretensioner to hot air or flames.
      9. Use a volt/ohmmeter with high impedance (10 k Ω/V minimum) for troubleshooting an electrical circuit.
      10. Information labels are attached to the SRS components. Follow the instructions on the notices.
      11. After work on the supplemental restraint system is completed, check the SRS warning light (See CHECK MODE PROCEDURE ).
    2. SPIRAL CABLE (in Combination Switch)
      1. The steering wheel must be fitted correctly to the steering column with the spiral cable at the neutral position, otherwise cable disconnection and other troubles may occur. Refer to SPIRAL CABLE SUB-ASSY concerning the correct installation of the steering wheel.
        Fig 12: Locating Mark Spiral Cable (In Combination Switch)
        G02968552Courtesy of © TOYOTA, LICENSE AGREEMENT TMS1002
    3. HORN BUTTON ASSEMBLY (with Airbag)
      1. When removing the horn button assembly or handling a new horn button, it should be placed with the top of the pad surface facing upward. Placing it with the pad surface facing downward may lead to a serious accident if the airbag deploys for some reasons. Also, do not place anything on top of the horn button.
      2. Never measure the resistance of the airbag squib (This may cause the airbag to inflate, which is very dangerous).
      3. Grease should not be applied to the horn button assembly, and the pad should not be cleaned with detergents of any kinds.
      4. Store the horn button assembly where the ambient temperature remains below 93°C (200°F), without high humidity and away from electrical noise.
      5. When using electric welding, disconnect the airbag connector (2 yellow pins) under the steering column near the combination switch connector before starting work.
      6. When disposing of the vehicle or the horn button assembly unit, the airbag should be deployed using SST before disposal (See DISPOSAL ).

        Activate in a safe place away from electrical noise.

        Fig 13: Identifying Correct Handling Of Horn Button
        G02968553Courtesy of © TOYOTA, LICENSE AGREEMENT TMS1002
        Fig 14: Precautions For Supplement Restraint System
        G02968554Courtesy of © TOYOTA, LICENSE AGREEMENT TMS1002
    4. INSTRUMENT PANEL PASSENGER AIRBAG ASSEMBLY
      1. Always place a removed or new instrument panel passenger airbag assembly with the airbag inflation direction facing upward. Placing the airbag assembly with the airbag inflation direction facing downward could cause a serious accident if the airbag deploys.
      2. Never measure the resistance of the airbag squib (This may cause the airbag to inflate, which is very dangerous).
      3. Grease should not be applied to the instrument panel passenger airbag assembly, and the airbag door should not be cleaned with detergents of any kind.
      4. Store the airbag assembly where the ambient temperature remains below 93°C (200°F), without high humidity and away from electrical noise.
      5. When using electric welding, disconnect the airbag connector (4 yellow pins) installed on the assembly before starting work.
      6. When disposing of a vehicle or the airbag assembly unit, the airbag should be deployed using SST before disposal (See DISPOSAL ).

        Activate in a safe place away from electrical noise.

        Fig 15: Identifying Correct Handling Of Instrument Panel Passenger Airbag Assembly
        G02968555Courtesy of © TOYOTA, LICENSE AGREEMENT TMS1002
        Fig 16: Precautions For Supplement Restraint System
        G02968556Courtesy of © TOYOTA, LICENSE AGREEMENT TMS1002
    5. FRONT SEAT AIRBAG ASSEMBLY
      1. Always place a removed or new front seat airbag assembly with the airbag inflation direction facing upward. Placing the airbag assembly with the airbag inflation direction facing downward could cause a serious accident if the airbag deploys.
      2. Never measure the resistance of the airbag squib (This may cause the airbag to inflate, which is very dangerous).
      3. Grease should not be applied to the front seat airbag assembly, and the airbag door should not be cleaned with detergents of any kind.
      4. Store the airbag assembly where the ambient temperature remains below 93°C (200°F), without high humidity and away from electrical noise.
      5. When using electric welding, disconnect the airbag connector (2 yellow pins) installed on the assembly before starting work.
      6. When disposing of a vehicle or the airbag assembly unit, the airbag should be deployed using SST before disposal (See FRONT SEAT AIRBAG ASSY RH ).

        Activate in a safe place away from electrical noise.

        Fig 17: Identifying Correct Handling Of Front Seat Airbag Assembly
        G02968557Courtesy of © TOYOTA, LICENSE AGREEMENT TMS1002
        Fig 18: Precautions For Supplement Restraint System
        G02968558Courtesy of © TOYOTA, LICENSE AGREEMENT TMS1002
    6. CURTAIN SHIELD AIRBAG ASSEMBLY
      1. Always place the removed or new curtain shield airbag assembly in a clear plastic bag, and keep it in a safe place.
        NOTE: Protective bag is not reusable.
        CAUTION: Never disassemble the curtain shield airbag assembly.
      2. Never measure the resistance of the airbag squib (This may cause the airbag to inflate, which is very dangerous).
      3. Grease should not be attached to the curtain shield airbag assembly, and the surface should not be cleared with detergents of any kind.
      4. Store the airbag assembly where the ambient temperature remains below 93°C (200°F), without high humidity and away from electrical noise.
      5. When using electric welding, disconnect the airbag connector (2 yellow pins) from the instrument panel before starting work.
      6. When disposing of a vehicle or the curtain shield airbag assembly unit, the airbag should be deployed using SST before disposal (See DISPOSAL ). Activate in a safe place away from electrical noise.
        Fig 19: Identifying Correct Handling Of Curtain Shield Airbag Assembly
        G02968559Courtesy of © TOYOTA, LICENSE AGREEMENT TMS1002
        Fig 20: Precautions For Supplement Restraint System
        G02968560Courtesy of © TOYOTA, LICENSE AGREEMENT TMS1002
    7. SEAT BELT PRETENSIONER
      1. Never measure the resistance of the seat belt pretensioner (This may cause the seat belt pretensioner to activate, which is very dangerous).
      2. Never disassemble the seat belt pretensioner.
      3. Never install the seat belt pretensioner on another vehicle.
      4. Store the seat belt pretensioner where the ambient temperature remains below 80°C (176°F) without high humidity and away from electrical noise.
      5. When using electric welding, disconnect the connector (2 yellow pins) before starting work.
      6. When disposing of a vehicle or the seat belt pretensioner unit, the seat belt pretensioner should be activated before disposal (See DISPOSAL ). Perform operation in a safe place away from electrical noise.
      7. The seat belt pretensioner is hot after activated, so let it cool down sufficiently before disposal. Never apply water to cool down the seat belt pretensioner.
      8. Oil or water should not be put on the front seat outer belt, and the front seat outer belt should not be cleaned with detergents of any kind.
        Fig 21: Precautions For Supplement Restraint System
        G02968561Courtesy of © TOYOTA, LICENSE AGREEMENT TMS1002
    8. AIRBAG SENSOR ASSEMBLY
      1. Never reuse an airbag sensor assembly involved in a collision where the SRS has deployed.
      2. The connectors to the airbag sensor assembly should be connected or disconnected with the sensor mounted on the floor. If the connectors are connected or disconnected while the airbag sensor assembly is not mounted to the floor, it could cause the supplemental restraint system to deploy potentially resulting in injury.
      3. Work must be started after 90 seconds from the time that the ignition switch is turned to the LOCK position and the negative (-) terminal cable is disconnected from the battery, even if only loosening the set bolts of the airbag sensor assembly.
    9. WIRE HARNESS AND CONNECTOR
      1. The SRS wire harness is integrated with the instrument panel wire harness assembly. All the connectors in the system are a standard yellow color. If the SRS wire harness becomes disconnected or the connector becomes broken due to an accident, etc., repair or replace it.
  3. ELECTRONIC CONTROL 
    1. REMOVAL AND INSTALLATION OF BATTERY TERMINAL
      1. Before performing electronic work, disconnect the battery negative (-) terminal cable beforehand in order to prevent it from shorting and burning out.
      2. When disconnecting and installing the terminal cable, turn the ignition switch and lighting switch OFF, and loosen the terminal nut completely. Perform these operations without twisting or prying the terminal.
      3. When the battery terminal cable is removed, the memories of the clock, radio, DTCs, etc. are erased. So before removing it, check them and make a note of their settings.
      4. When the battery terminal is disconnected, the sliding roof position memory is erased.

        Make sure to reset the sliding roof to the zero point (See RESET ).

        Fig 22: Removing Battery Terminals
        G02968562Courtesy of © TOYOTA, LICENSE AGREEMENT TMS1002
    2. HANDLING OF ELECTRONIC PARTS
      1. Do not open the cover or case of the ECU unless absolutely necessary (If the IC terminals are touched, the IC may be rendered inoperative by static electricity).
      2. To disconnect electronic connectors, pull the connector itself, not the wires.
      3. Be careful not to drop electronic components, such as sensors or relays. If they are dropped on a hard floor, they should be replaced and not be reused.
        Fig 23: Identifying Wrong Handling Procedure
        G02968563Courtesy of © TOYOTA, LICENSE AGREEMENT TMS1002
      4. When cleaning the engine with steam, protect the electronic components, air filter and emission-related components from water.
      5. Never use an impact wrench to remove or install temperature switches or temperature sensors.
      6. When checking the continuity at the wire connector, insert the tester probe carefully to prevent terminals from bending.
  4. REMOVAL AND INSTALLATION OF FUEL CONTROL PARTS 
    1. PLACE FOR REMOVING AND INSTALLING OF FUEL SYSTEM PARTS
      1. Work in a place with good air ventilation and without anything that could cause combustion such as a welder, grinder, drill, electric motor or stove in the surroundings.
      2. Never work in a place such as a pit or nearby a pit, as there is a possibility that vaporized fuel will collect in those places.
    2. REMOVING AND INSTALLING OF FUEL SYSTEM PARTS
      1. Prepare a fire extinguisher before starting operations.
      2. To prevent static electricity, install a ground on the fuel changer, vehicle and fuel tank, and do not spray much water so as to prevent slipping.
      3. Never use any electric equipment like an electric motor or a working light, as they may create sparks or a high temperature.
      4. Never use an iron hammer, as it may cause sparks.
      5. Dispose separately of shop rags containing fuel deposits.
  5. REMOVAL AND INSTALLATION OF ENGINE INTAKE PARTS 
    1. If any metal particle enters the inlet pass, it may have a bad effect on the engine and turbocharger.
    2. When removing and installing the inlet system parts, close the opening of the removed inlet system parts and the engine with a clean shop rag or gummed tape.
    3. When installing the inlet system parts, check that no metal particles have entered.
      Fig 24: Removing/Installing Of Engine Intake Parts
      G02968564Courtesy of © TOYOTA, LICENSE AGREEMENT TMS1002
  6. HANDLING OF HOSE CLAMPS 
    1. Before removing the hose, check the clamp position to ensure that it can be restored securely.
    2. Replace a deformed or dented clamp with a new one.
    3. When reusing the hose, install the clamp on the hose where it has a clamp track.
    4. For a spring type clamp, make an adjustment after installation by pushing in the direction of the arrow mark.
      Fig 25: Handlings Of Hose Clamps
      G02968565Courtesy of © TOYOTA, LICENSE AGREEMENT TMS1002
  7. FOR VEHICLES EQUIPPED WITH MOBILE COMMUNICATION SYSTEM 
    1. Install the antenna as far away from the ECU and sensors of the vehicle electronic systems as possible.
    2. Install an antenna feeder at least 20 cm (7.87 in.) away from the ECU and sensors of the vehicle electronic systems. For details of the ECU and sensors locations, refer to the section on the applicable component.
    3. Prevent the antenna feeder from getting entangled with the other wiring, and keep the antenna feeder separate from other wiring as much as possible.
      Fig 26: Identifying Vehicles Equipped With Mobile Communication System
      G02968566Courtesy of © TOYOTA, LICENSE AGREEMENT TMS1002
    4. Check that the antenna and feeder are correctly adjusted.
    5. Do not install any high-powered mobile communication system.
  8. FOR VEHICLES EQUIPPED WITH VEHICLE STABILITY CONTROL (VSC) SYSTEM 
    1. NOTE WHEN USING DRUM TESTER
      1. When using a drum tester, be sure to start the engine with the ignition switch OFF, and connect SST to the terminals TS and CG of the DLC3 before the measurement in order to cancel the VSC operation.

        SST 09843-18040

        Fig 27: Identifying Connector Terminals DLC3
        G02968567Courtesy of © TOYOTA, LICENSE AGREEMENT TMS1002
        NOTE:
        • Confirm that the VSC/TRAC warning light blinks.
        • The VSC system is reset when the engine is restarted.
        • Fasten the vehicle with lock chains.
    2. OPERATIONS RELATED TO VSC
      1. Do not carry out unnecessary installation and removal, because it may interfere with the setting of the parts related to the VSC.
      2. Be sure to carry out the preparation for operation and the confirmation of operation completion, in accordance with the instructions of the text, when the operations related to the VSC are performed.
  9. WHEN SERVICING FULL-TIME 4WD VEHICLES 

    The Full-time 4WD LEXUS GX470 is equipped with the mechanical lock type center differential system.

    During tests that require the use of a brake tester or chassis dynamometer, such as braking force tests or speedometer tests, if only the front or rear wheels are to be rotated, it is necessary to set the position of the center differential to FREE or LOCK depending on the type of the test being performed.

    Fig 28: Identifying Indicator Light
    G02968568Courtesy of © TOYOTA, LICENSE AGREEMENT TMS1002

    Center differential FREE condition: 

    CENTER DIFFERENTIAL FREE CONDITION

    - Condition Wheel
    Center differential switch OFF A lifted wheel can be rotated if only one wheel is lifted up, as long as transmission is in N position.
    Indicator light OFF A lifted wheel can be rotated if only one wheel is lifted up, as long as transmission is in N position.
    Transfer select lever (H/L) Either A lifted wheel can be rotated if only one wheel is lifted up, as long as transmission is in N position.

    Center differential LOCK condition:

    CENTER DIFFERENTIAL LOCK CONDITION

    - Condition Wheel
    Center differential switch ON A lifted wheel cannot be rotated even if only one wheel is lifted up, as long as transmission is in N position.
    Indicator light ON A lifted wheel cannot be rotated even if only one wheel is lifted up, as long as transmission is in N position.
    Transfer select lever (H/L) Either A lifted wheel cannot be rotated even if only one wheel is lifted up, as long as transmission is in N position.
    Fig 29: Identifying Indicator Light
    G02968569Courtesy of © TOYOTA, LICENSE AGREEMENT TMS1002
    NOTE: Center differential LOCK <=> FREE selecting procedures:
    • Operate the switch only when all 4 wheels are stopped or driving in a straight line.
    • Never operate the switch when any wheel is slipping.
    • Never operate the switch when any wheel is spinning freely.
    • Never operate the switch when swerving or cornering.

    Transfer gear H < L gear shifting procedures: 

    When shifting, always put the shift lever of the transmission in N position. In other positions, the transfer gear cannot be changed. 

    Fig 30: Gear Shifting Procedure
    G02968570Courtesy of © TOYOTA, LICENSE AGREEMENT TMS1002

    HINT:

    Center differential LOCK < FREE selecting procedures:

    Move the vehicle forward or backward slightly if the indicator light does not operate correctly when the center differential lock switch is turned ON or OFF.

  10. WHEN TESTING BRAKES, SPEEDOMETER, ETC. 
    1. When carrying out any kind of servicing or testing on a Full-time 4WD with Active Traction Control System & Vehicle Stability Control (VSC) System in which the front or rear wheels are to be rotated (braking test, speedometer test), be sure to observe the precautions listed below. Incorrect preparations or test procedures may cause damage as well as unsuccessful test results.

      Before starting any such servicing or test, be sure to check the following items:

      • Center differential mode position (FREE or LOCK)
        Fig 31: Identifying Indicator Light
        G02968571Courtesy of © TOYOTA, LICENSE AGREEMENT TMS1002
      • w/ Vehicle Stability Control (VSC) system:

        Center differential switch and VSC OFF indicator light

      • Whether wheels should be touching the ground or jacked up
      • Transmission gear position (N position)
      • Transfer gear position (H or L position)
      • Maximum testing vehicle speed
      • Maximum testing time
        Fig 32: Identifying Vehicle Stability Control (VSC) System Indicator Light
        G02968572Courtesy of © TOYOTA, LICENSE AGREEMENT TMS1002
    2. Using Braking Tester:

      Measure by low-speed type (Vehicle Speed: Below 0.5 km/h (0.3 mph)) brake tester and observe the following instructions before performing the test.

      1. Position the wheels to be tested (front or rear) on the tester.
      2. Put the center differential in FREE position.
      3. Deactivate the Active Traction Control System & Vehicle Stability Control (VSC) System.
      4. Shift the transmission shift lever to N position.
        Fig 33: Positioning Wheels To On Tester
        G02968573Courtesy of © TOYOTA, LICENSE AGREEMENT TMS1002

      HINT:

      After completing the test with speedometer tester, do not forget to reactivate the Active Traction Control System & Vehicle Stability Control (VSC) System. Check that the VSC/TRAC warning light goes off when restarting the engine.

    3. Using Speedometer Tester:

      Observe the following instructions and then test with the rear wheels.

      1. Position the rear wheels on the tester roller.
      2. Position the front wheels on the free roller or jack them up.
      3. Put the center differential in FREE position.
      4. Deactivate the Active Traction Control System & Vehicle Stability Control (VSC) System.
      5. Ensure that the vehicle does not move using chains.
        Fig 34: Positioning Rear Wheels On Tester Roller
        G02968574Courtesy of © TOYOTA, LICENSE AGREEMENT TMS1002
        NOTE: The maximum speed should be less than 60 km/h (37 mph) and maximum driving time should be 1 minute.

        HINT:

        • Do not suddenly shift gears, brake, accelerate or decelerate.
        • After completing on-vehicle wheel balancing, do not forget to reactivate the Active Traction Control System & Vehicle Stability Control (VSC) System. Check that VSC/ TRAC warning indicator light goes off when restarting the engine.
    4. Using Chassis Dynamometer:

      Observe the following instructions, and then test with the rear wheels.

      1. Remove the front propeller shaft.
      2. Put the center differential in LOCK position.
      3. Deactivate the Active Traction Control System & Vehicle Stability Control (VSC) System.
      4. Make sure that the vehicle is secured in place.
        Fig 35: Removing Front Propeller Shaft
        G02968575Courtesy of © TOYOTA, LICENSE AGREEMENT TMS1002

      HINT:

      • Do not suddenly shift gears, brake, accelerate or decelerate.
      • Do not forget to reactivate the Active Traction Control System & Vehicle Stability Control (VSC) System. Check that the VSC/TRAC warning indicator light goes off when restarting the engine.
    5. On-Vehicle Wheel Balancing:

      When doing on-vehicle wheel balancing on a full-time 4WD vehicle, to prevent each wheel from being rotated at different speed in different directions (which could damage the center differential), always be sure to observe the following precautions.

      1. All 4 wheels should be jacked up, so they do not touch the ground at all.
      2. Put the center differential in LOCK position.
      3. Deactivate the Active Traction Control System & Vehicle Stability Control (VSC) System.
      4. Fully release the parking brake lever.
      5. None of the brakes should be applied.
      6. Drive the wheels driven on the wheel balancer with the engine running.
      7. Carry out the wheel balancing with the transmission range in D position.
        Fig 36: Wheel Balancing Procedure
        G02968576Courtesy of © TOYOTA, LICENSE AGREEMENT TMS1002

      HINT:

      • When balancing, pay attention to the other wheels rotating at the same time.
      • Do not suddenly shift gears, brake, accelerate or decelerate.
      • Do not forget to reactivate the Active Traction Control System & Vehicle Stability Control (VSC) System. Check that the VSC/TRAC warning indicator light goes off when restarting the engine.
  11. FOR VEHICLES EQUIPPED WITH CATALYTIC CONVERTER 
    CAUTION: If a large amount of unburned gasoline flows into the converter, it may cause overheating and is a fire hazard. To prevent this, observe the following precautions.
    1. Use only unleaded gasoline.
    2. Avoid prolonged idling.

      Avoid idling the engine for more than 20 minutes.

    3. Avoid a spark jump test.
      1. Perform a spark jump test only when absolutely necessary. Perform this test as rapidly as possible.
      2. While testing, never race the engine.
    4. Avoid a prolonged engine compression measurement.

      Engine compression measurements must be performed as rapidly as possible.

    5. Do not run the engine when the fuel tank is nearly empty. This may cause the engine to misfire and create an extra load on the converter.
  12. WHEN TOWING FULL-TIME 4WD VEHICLES 
    • Use one of the methods as shown in Fig 37 to tow the vehicle.
    • If the vehicle has trouble with the chassis or drive train, use method 1 (flat bed truck).
      Fig 37: Towing Description Table (1 Of 2)
      G02968577Courtesy of © TOYOTA, LICENSE AGREEMENT TMS1002
    NOTE: Do not use any towing method other than those shown above.
    • The towing methods as shown in Fig 38 are dangerous and can damage the vehicle, so do not use them.
      Fig 38: Towing Description Table (2 Of 2)
      G02968578Courtesy of © TOYOTA, LICENSE AGREEMENT TMS1002