LEMON Manuals: Even more car manuals for everyone
Home >> Lexus >> 2005 >> GS 300 >> Repair and Diagnosis >> Body & Frame >> Windows >> Power Window Control System >> Power Window Control System >> Inspection

Power Window Control System: Inspection

  1. INSPECT POWER WINDOW MASTER SWITCH CONTINUITY 

    Front driver's switch: 

    FRONT DRIVER'S SWITCH CONTINUITY CHECK

    Switch position Tester connection Specified condition
    AUTO 7 - 16 Continuity
    UP 6 - 16 Continuity
    OFF - No continuity
    DOWN 16 - 18 Continuity

    Front passenger's switch: 

    FRONT PASSENGER'S SWITCH CONTINUITY CHECK

    Switch position Tester connection Specified condition
    AUTO 3 - 13 Continuity
    UP 3 - 12 Continuity
    OFF - No continuity
    DOWN 3 - 4 Continuity

    Rear left switch: 

    REAR LEFT SWITCH CONTINUITY CHECK

    Switch position Tester connection Specified condition
    AUTO 13 - 14 Continuity
    UP 12 - 14 Continuity
    OFF - No continuity
    DOWN 4 - 14 Continuity

    Rear right switch: 

    REAR RIGHT SWITCH CONTINUITY CHECK

    Switch position Tester connection Specified condition
    UP AUTO 11 - 13 Continuity
    UP 11 - 12 Continuity
    OFF - No continuity
    DOWN 4 - 11 Continuity

    If continuity is not as specified, replace the master switch.

  2. INSPECT POWER WINDOW MASTER SWITCH CIRCUIT 

    (See  POWER WINDOW MASTER SWITCH CIRCUIT  ) 

    Fig 1: Identifying Power Window Master Switch & Connector Terminals
    G02940469Courtesy of © TOYOTA, LICENSE AGREEMENT TMS1002
  3. INSPECT POWER WINDOW MASTER SWITCH ILLUMINATION 
    1. Set the window lock switch to the unlock position.
    2. Connect the positive (+) lead from the battery to terminal 15 and the negative (-) lead to terminal 16, and check that all the illuminations light up.
    3. Connect the positive (+) lead from the voltmeter to terminal 15 and negative (-) lead to terminal 2, and check that the voltage meter needle indicates battery positive voltage.
      Fig 2: Setting Window Lock Switch To Unlock Position
      G02940470Courtesy of © TOYOTA, LICENSE AGREEMENT TMS1002
    4. Set the window lock switch to the lock position, check that all the passenger's power window switch illuminations go out.
    5. Then, check that the voltage meter needle indicates no voltage.

    If operation is not as specified, replace the master switch.

    Fig 3: Setting Window Lock Switch To Lock Position
    G02940471Courtesy of © TOYOTA, LICENSE AGREEMENT TMS1002
  4. INSPECT POWER WINDOW SWITCH CONTINUITY 
    POWER WINDOW SWITCH CONTINUITY CHECK

    Switch position Tester connection Specified condition
    AUTO 3 - 5 Continuity
    UP 3 - 6 Continuity
    OFF - No continuity
    DOWN 3 - 4 Continuity

    If continuity is not as specified, replace the switch.

  5. INSPECT POWER WINDOW SWITCH CIRCUIT 

    Passenger side: (See  POWER WINDOW SWITCH CIRCUIT  ) 

    Rear LH side: (See  POWER WINDOW SWITCH CIRCUIT  ) 

    Rear RH side: (See  POWER WINDOW SWITCH CIRCUIT  ) 

    Fig 4: Identifying Power Window Switch Connector Terminals
    G02940472Courtesy of © TOYOTA, LICENSE AGREEMENT TMS1002
  6. INSPECT POWER WINDOW SWITCH ILLUMINATION 

    Connect the positive (+) lead from the battery to terminal 3 and the negative (-) lead to terminal 2, and check that the indicator light lights up.

    If operation is not as specified, replace the switch.

    Fig 5: Inspecting Power Window Switch Illumination
    G02940473Courtesy of © TOYOTA, LICENSE AGREEMENT TMS1002
  7. INSPECT POWER MAIN RELAY CONTINUITY 
    POWER MAIN RELAY CONTINUITY CHECK

    Condition Tester connection Specified condition
    Constant 1 - 2 Continuity
    Apply B+ between terminals 1 and 2. 3 - 5 Continuity

    If continuity is not as specified, replace the relay.

  8. INSPECT POWER MAIN RELAY CIRCUIT 

    (See  INSPECTION  ) 

    Fig 6: Identifying Power Main Relay Terminals
    G02940474Courtesy of © TOYOTA, LICENSE AGREEMENT TMS1002
  9. Driver's door: INSPECT POWER WINDOW MOTOR OPERATION 
    1. Connect the positive (+) lead from the battery to terminal and the negative (-) lead to terminal 2, and check that the motor turns clockwise.
      Fig 7: Checking Motor Turns Clockwise (Driver's Door)
      G02940475Courtesy of © TOYOTA, LICENSE AGREEMENT TMS1002
    2. Reverse the polarity, check that the motor turns counterclockwise.

    If operation is not as specified, replace the motor.

  10. Driver's door: INSPECT POWER WINDOW MOTOR CIRCUIT 

    (See  POWER WINDOW MOTOR CIRCUIT  ) 

    Fig 8: Checking Motor Turns Counterclockwise (Driver's Door)
    G02940476Courtesy of © TOYOTA, LICENSE AGREEMENT TMS1002
  11. Front passenger's door: INSPECT POWER WINDOW MOTOR OPERATION 
    1. Connect the positive (+) lead from the battery to terminal 1 and the negative (-) lead to terminal 2, and check that the motor turns clockwise.
      Fig 9: Checking Motor Turns Clockwise (Front Passenger's Door)
      G02940477Courtesy of © TOYOTA, LICENSE AGREEMENT TMS1002
    2. Reverse the polarity, check that the motor turns counterclockwise.

    If operation is not as specified, replace the motor.

  12. Front passenger's door: INSPECT POWER WINDOW MOTOR CIRCUIT 

    (See  POWER WINDOW MOTOR CIRCUIT  ) 

    Fig 10: Checking Motor Turns Counter Clockwise (Front Passenger's Door)
    G02940478Courtesy of © TOYOTA, LICENSE AGREEMENT TMS1002
  13. Rear left side door: INSPECT POWER WINDOW MOTOR OPERATION 
    1. Connect the positive (+) lead from the battery to terminal 3 and the negative (-) lead to terminal 1, and check that the motor turns clockwise.
      Fig 11: Checking Motor Turns Clockwise (Rear Left Side Door)
      G02940479Courtesy of © TOYOTA, LICENSE AGREEMENT TMS1002
    2. Reverse the polarity, check that the motor turns counterclockwise.

    If operation is not as specified, replace the motor.

    Fig 12: Checking Motor Turns Counter Clockwise (Rear Left Side Door)
    G02940480Courtesy of © TOYOTA, LICENSE AGREEMENT TMS1002
  14. Rear right side door: INSPECT POWER WINDOW MOTOR OPERATION 
    1. Connect the positive (+) lead from the battery to terminal 1 and the negative (-) lead to terminal 3, and check that the motor turns clockwise.
      Fig 13: Checking Motor Turns Clockwise (Rear Right Side Door)
      G02940481Courtesy of © TOYOTA, LICENSE AGREEMENT TMS1002
    2. Reverse The polarity, check that the motor turns counterclockwise.

    If operation is not as specified, replace the motor.

    Fig 14: Checking Motor Turns Counter Clockwise (Rear Right Side Door)
    G02940482Courtesy of © TOYOTA, LICENSE AGREEMENT TMS1002
  15. Front door: INSPECT POWER WINDOW MOTOR PTC OPERATION 
    1. Disconnect the connector from the master switch.
    2. Connect the positive (+) lead from the battery to terminal 2 and the negative (-) lead to terminal 1 on the wire harness side connector and raise the window to full closed position.
    3. Continue to apply voltage, check that there is a PTC operation noise within approximately 4 to 90 seconds.
    4. Reverse the polarity, check that the window begins to descend within approximately 60 seconds.

    If operation is not as specified, replace the motor.

    Fig 15: Inspecting Front Door Power Window Motor PTC Operation (Raising Window To Full Close Position)
    G02940483Courtesy of © TOYOTA, LICENSE AGREEMENT TMS1002
    Fig 16: Inspecting Front Door Power Window Motor PTC Operation (Window Begins To Descend)
    G02940484Courtesy of © TOYOTA, LICENSE AGREEMENT TMS1002
  16. Rear door: INSPECT POWER WINDOW MOTOR PTC OPERATION 
    1. Disconnect the connector from the rear door ECU.
    2. Connect the positive (+) lead from the battery to terminal 3 and the negative (-) lead to terminal 1 on the wire harness side connector, and raise the window to full closed position.
    3. Continue to apply voltage, check that there is a PTC operation noise within approximately 4 to 90 seconds.
      Fig 17: Inspecting Rear Door Power Window Motor PTC Operation (Raising Window To Full Close Position)
      G02940485Courtesy of © TOYOTA, LICENSE AGREEMENT TMS1002
    4. Reverse the polarity, check that the window begins to descend within approximately 60 seconds.

    If operation is not as specified, replace the motor.

    Fig 18: Inspecting Rear Door Power Window Motor PTC Operation (Window Begins To Descend)
    G02940486Courtesy of © TOYOTA, LICENSE AGREEMENT TMS1002
  17. Driver's door (window up): INSPECT JAM PROTECTION LIMIT SWITCH OPERATION 
    1. Connect the positive (+) lead from the ohmmeter to terminal 4 and the negative (-) lead to terminal 5.
    2. Connect the positive (+) lead from the battery to terminal 1 and the negative (-) lead to terminal 2.
    3. Check that the continuity exists when the window goes up.
      Fig 19: Inspecting Driver's Door Jam Protection Limit Switch Operation (Window Moving Up)
      G02940487Courtesy of © TOYOTA, LICENSE AGREEMENT TMS1002
    4. Check that the no continuity exists when the window is in the fully closed position.
    Fig 20: Inspecting Driver's Door Jam Protection Limit Switch Operation (Window In Full Closed Position)
    G02940488Courtesy of © TOYOTA, LICENSE AGREEMENT TMS1002

    If operation is not as specified, replace the motor.

    NOTE: If connecting the wire harness wrongly, the sensor might be damaged so caution is necessary.
  18. Driver's door: INSPECT JAM PROTECTION LIMIT SWITCH CIRCUIT 

    (See  JAM PROTECTION LIMIT SWITCH CIRCUIT  ) 

  19. Front passenger's door (window up): INSPECT JAM PROTECTION LIMIT SWITCH OPERATION 
    1. Connect the positive (+) lead from the ohmmeter to terminal 4 and the negative (-) lead to terminal 5.
    2. Connect the positive (+) lead from the battery to terminal 2 and the negative (-) lead to terminal 1.
    3. Check that the continuity exists when the window goes up.
      Fig 21: Inspecting Front Passenger's Door Jam Protection Limit Switch Operation (Window Moving Up)
      G02940489Courtesy of © TOYOTA, LICENSE AGREEMENT TMS1002
    4. Check that the no continuity exists when the window is in the fully closed position.
    Fig 22: Inspecting Front Passenger's Door Jam Protection Limit Switch Operation (Window In Full Closed Position)
    G02940490Courtesy of © TOYOTA, LICENSE AGREEMENT TMS1002

    If operation is not as specified, replace the motor.

    NOTE: If connecting the wire harness wrongly, the sensor might be damaged so caution is necessary.
  20. Passenger's Door: INSPECT JAM PROTECTION LIMIT SWITCH CIRCUIT 

    (See  JAM PROTECTION LIMIT SWITCH CIRCUIT  ) 

  21. Rear LH Side Door (window up): INSPECT JAM PROTECTION LIMIT SWITCH OPERATION 
    1. Connect the positive (+) lead from the ohmmeter to terminal 2 and the negative (-) lead to terminal 6.
    2. Connect the positive (+) lead from the battery to terminal 3 and the negative (-) lead to terminal 1.
    3. Check that the continuity exists when the window goes up.
      Fig 23: Inspecting Rear LH Side Door Jam Protection Limit Switch Operation (Window Moving Up)
      G02940491Courtesy of © TOYOTA, LICENSE AGREEMENT TMS1002
    4. Check that the no continuity exists when the window is in the fully closed position.
    Fig 24: Inspecting Rear LH Side Door Jam Protection Limit Switch Operation (Windows In Full Closed Position)
    G02940492Courtesy of © TOYOTA, LICENSE AGREEMENT TMS1002

    If operation is not as specified, replace the motor.

    NOTE: If connecting the wire harness wrongly, the sensor might be damaged so caution is necessary.
  22. Rear RH Side Door (window up): INSPECT JAM PROTECTION LIMIT SWITCH OPERATION 
    1. Connect the positive (+) lead from the ohmmeter to terminal 2 and the negative (-) lead to terminal 6.
    2. Connect the positive (+) lead from the battery to terminal 3 and the negative (-) lead to terminal 1.
    3. Check that the continuity exists when the window goes up.
      Fig 25: Inspecting Rear RH Side Door Jam Protection Limit Switch Operation (Window Moving Up)
      G02940493Courtesy of © TOYOTA, LICENSE AGREEMENT TMS1002
    4. Check that the no continuity exists when the window is in the fully closed position.
    Fig 26: Inspecting Rear RH Side Door Jam Protection Limit Switch Operation (Window In Full Closed Position)
    G02940494Courtesy of © TOYOTA, LICENSE AGREEMENT TMS1002

    If operation is not as specified, replace the motor.

    NOTE: If connecting the wire harness wrongly, the sensor might be damaged so caution is necessary.
  23. Driver's door: INSPECT JAM PROTECTION PULSE SWITCH OPERATION 
    1. Connect the positive (+) lead from the TOYOTA electrical tester to terminal 3 and the negative (-) lead to terminal 5.
    2. Connect the positive (+) lead from the battery to terminal 1 and the negative (-) lead to terminal 2.
    3. Check that pulse is generated during the motor running.
      Fig 27: Inspecting Driver's Door Jam Protection Pulse Switch Operation (Window Moving Up)
      G02940495Courtesy of © TOYOTA, LICENSE AGREEMENT TMS1002
    4. Reverse the polarity and check that pulse is generated.
    Fig 28: Inspecting Driver's Door Jam Protection Pulse Switch Operation (Window Moving Down)
    G02940496Courtesy of © TOYOTA, LICENSE AGREEMENT TMS1002

    If pulse is not generated, replace the motor.

    NOTE: If connecting the wire harness wrongly, the sensor might be damaged so caution is necessary.
  24. Driver's door: INSPECT JAM PROTECTION PULSE SWITCH CIRCUIT 

    (See  JAM PROTECTION PULSE SWITCH CIRCUIT  ) 

  25. Front passenger's door: INSPECT JAM PROTECTION PULSE SWITCH OPERATION 
    1. Connect the positive (+) lead from the TOYOTA electrical tester to terminal 3 and the negative (-) lead to terminal 5.
    2. Connect the positive (+) lead from the battery to terminal 2 and the negative (-) lead to terminal 1.
    3. Check that pulse is generated during the motor running.
      Fig 29: Inspecting Passenger's Door Jam Protection Pulse Switch Operation (Window Moving Up)
      G02940497Courtesy of © TOYOTA, LICENSE AGREEMENT TMS1002
    4. Reverse the polarity and check that pulse is generated.
    Fig 30: Inspecting Passenger's Door Jam Protection Pulse Switch Operation (Window Moving Down)
    G02940498Courtesy of © TOYOTA, LICENSE AGREEMENT TMS1002

    If pulse is not generated, replace the motor.

    NOTE: If connecting the wire harness wrongly, the sensor might be damaged so caution is necessary.
  26. Front passenger's door: INSPECT JAM PROTECTION PULSE SWITCH CIRCUIT 

    (See  JAM PROTECTION PULSE SWITCH CIRCUIT  ) 

  27. Rear LH side door: INSPECT JAM PROTECTION PULSE SWITCH 
    1. Connect the positive (+) lead from the TOYOTA electrical tester to terminal 3 and the negative (-) lead to terminal 5.
    2. Connect the positive (+) lead from the battery to terminal 2 and the negative (-) lead to terminal 1.
    3. Check that pulse is generated during the motor running.
      Fig 31: Inspecting Rear LH Side Door Jam Protection Pulse Switch Operation (Window Moving Up)
      G02940499Courtesy of © TOYOTA, LICENSE AGREEMENT TMS1002
    4. Reverse the polarity and check that pulse is generated.
    Fig 32: Inspecting Rear LH Side Door Jam Protection Pulse Switch Operation (Window Moving Down)
    G02940500Courtesy of © TOYOTA, LICENSE AGREEMENT TMS1002

    If pulse is not generated, replace the motor.

    NOTE: If connecting the wire harness wrongly, the sensor might be damaged so caution is necessary.
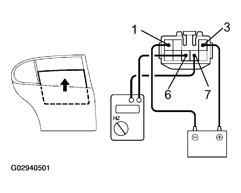
  28. Rear RH side door: INSPECT JAM PROTECTION PULSE SWITCH 
    1. Connect the positive (+) lead from the TOYOTA electrical tester to terminal 3 and the negative (-) lead to terminal 5.
    2. Connect the positive (+) lead from the battery to terminal 1 and the negative (-) lead to terminal 2.
    3. Check that pulse is generated during the motor running.
      Fig 33: Inspecting Rear RH Side Door Jam Protection Pulse Switch Operation (Window Moving Up)
      G02940501Courtesy of © TOYOTA, LICENSE AGREEMENT TMS1002
    4. Reverse the polarity and check that pulse is generated.
    Fig 34: Inspecting Rear RH Side Door Jam Protection Pulse Switch Operation (Window Moving Down)
    G02940502Courtesy of © TOYOTA, LICENSE AGREEMENT TMS1002

    If pulse is not generated, replace the motor.

    NOTE: If connecting the wire harness wrongly, the sensor might be damaged so caution is necessary.
  29. CHECKING OF THE JAM PROTECTION FUNCTION 
    NOTE: Never, ever be caught any part of your body when checking.

    HINT:

    In case of performing resetting of the limit switch, do checking after repeating up and down of the glass with automatic operation.

    1. Confirmation of AUTO up operation:

      Confirm that the window will be fully close with AUTO up operation.

    2. Checking of the operation of the jam protection function:
      1. Move up the window with AUTO up operation and check that the window will go down when it touches the handle of the hammer stetted.
      2. Confirm that the window will then stop going down about 200 mm.

    HINT:

    In case of removing the glass, glass guide, regulator and etc. be sure to perform checking of the jam protection function.

    If the jam protection is not function properly, adjust power window motor reset switch and pulse switch.