LEMON Manuals: Even more car manuals for everyone
Home >> Lexus >> 2004 >> LS 430 >> Repair and Diagnosis >> Transmission >> Automatic Trans >> Servicing >> Torque Specifications

Torque Specifications

TORQUE SPECIFICATIONS

Application Ft. Lbs. (N.m)
Drain Plug 15 (20)
Overflow Plug 15 (20)
Refill Plug 29 (39)
INCH Lbs. (N.m) 
Case Cover Bolts 48 (5.4)
Oil Pan Bolts 39 (4.4)
Oil Strainer Bolts 88 (10)
Park Neutral Position Switch Bolt 115 (13)
Shift Solenoid Valve Bolts (1)
S1 Bolt 88 (10)
S2 & S4 Bolt 88 (10)
S3 Bolt 88 (10)
SL1 & SLT Lock Plate Bolt 56 (6.4)
SL2 & SLU Lock Plate Bolt 56 (6.4)
SR Bolt 88 (10)
Transmission Case Cover Bolts 48 (5.4)
Transmission Revolution Sensor Bolt 48 (5.4)
Transmission Wire
Bolt 48 (5.4)
Clamp Bolts 88 (10)
ATF Temperature Sensor Bolt 88 (10)
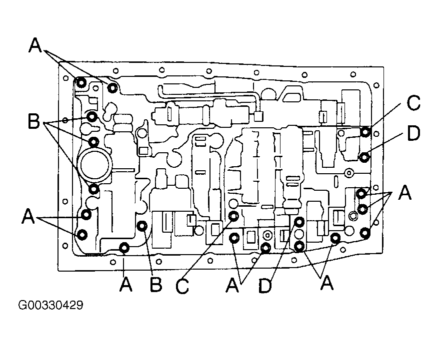
Valve Body (2)
Bolts "A"- 1.42 in. (36 mm) 97 (11)
Bolts "B"- 0.98 in. (25 mm) 97 (11)
Bolts "C"- 1.77 in. (45 mm) 97 (11)
Bolts "D"- 1.97 in. (50 mm) 97 (11)
(1) For Shift Solenoid Locations, see Figure.
(2) For Valve Body Bolt Locations, see Figure.