LEMON Manuals: Even more car manuals for everyone
Home >> Lexus >> 2004 >> LS 430 >> Repair and Diagnosis >> Engine Performance >> System >> Engine Control System >> ECM >> Replacement

Engine Control System: ECM: Replacement

NOTE:
  • Wipe water off of the ECM cover and edges.
  • Replacement of the ECM should be performed indoors, away from rain.
  • No water should come into contact with the inside of the ECM. Connectors and screws should also be kept away from water.
  1. DISCONNECT BATTERY NEGATIVE TERMINAL 
  2. REMOVE ENGINE ROOM SIDE COVER 
    1. Remove the 3 clips and engine room side cover.
  3. REMOVE ECM COVER 
    1. Remove the 3 bolts and ECM cover.
  4. REMOVE ECM 
    1. Remove the 2 nuts.
    2. Disconnect the connector and remove the ECM.
  5. REMOVE ECM GASKET 
    1. Peel off the sponge part of the gasket.
      Fig 1: Removing ECM GASKET
      G01049408Courtesy of © TOYOTA, LICENSE AGREEMENT TMS1002
    2. Spray gasket remover or equivalent on the remaining tape of the gasket.
      NOTE: When using gasket remover or equivalent, cover the ECM connector with a shop rag.
      Fig 2: Spraying Gasket Remover On Remaining Tape Of Gasket
      G01049409Courtesy of © TOYOTA, LICENSE AGREEMENT TMS1002
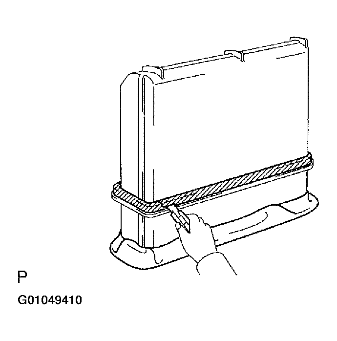
    3. Use a cutter knife. to remove the tape of the gasket.
      NOTE: Do not damage the ECM seal's surface with the knife.
      Fig 3: Removing Tape Of Gasket Using Cutter Knife
      G01049410Courtesy of © TOYOTA, LICENSE AGREEMENT TMS1002
  6. INSTALL ECM GASKET 
    1. Clean the ECM's seal surface to the gasket with non-residue solvent.
    2. Attach the gasket on the ECM.
  7. INSTALL ECM 
    NOTE:
    • After replacing the ECM, it is necessary to initialize the ECM.
    • Check that no foreign objects are stuck inside the ECM box.
    1. Connect the connector and install the ECM with the 2 nuts.

    Torque: 5.5 N.m (55 kgf.cm, 48 in.lbf) 

  8. INSTALL ECM COVER 
    1. Install the ECM cover with the 3 bolts.

    Torque: 5.0 N.m (51 kgf.cm, 44 in.lbf) 

  9. INSTALL ENGINE ROOM SIDE COVER 
    1. Install the engine room side cover with the 3 clips.
  10. CONNECT BATTERY NEGATIVE TERMINAL 
  11. ADJUST THE RADAR CRUISE CONTROL SYSTEM (See  CRUISE CONTROL SYSTEM  ) 
  12. POWER WINDOW CONTROL SYSTEM INITIALIZE (See  INITIALIZATION  ) 
  13. FRONT POWER SEAT CONTROL SYSTEM INITIALIZE (See  INITIALIZATION  )