LEMON Manuals: Even more car manuals for everyone
Home >> Lexus >> 2004 >> LS 430 >> Repair and Diagnosis >> Brakes >> Traction Control >> Front Skid Control Sensor >> Skid Control Sensor Front >> Replacement

Skid Control Sensor Front: Replacement

HINT:

  1. REMOVE FRONT WHEEL 
  2. DISCONNECT SKID CONTROL SENSOR WIRE 
    1. Disconnect the skid control sensor connector.
      Fig 1: Locating Skid Control Sensor Connector
      G01029091Courtesy of © TOYOTA, LICENSE AGREEMENT TMS1002
  3. SEPARATE FRONT DISC BRAKE CALIPER ASSY LH (SEE  FRONT BRAKE CALIPER  ) 
  4. REMOVE FRONT DISC (SEE  FRONT BRAKE DISC  ) 
  5. REMOVE FRONT AXLE HUB SUB-ASSY LH (see  YAWRATE SENSOR  ) 
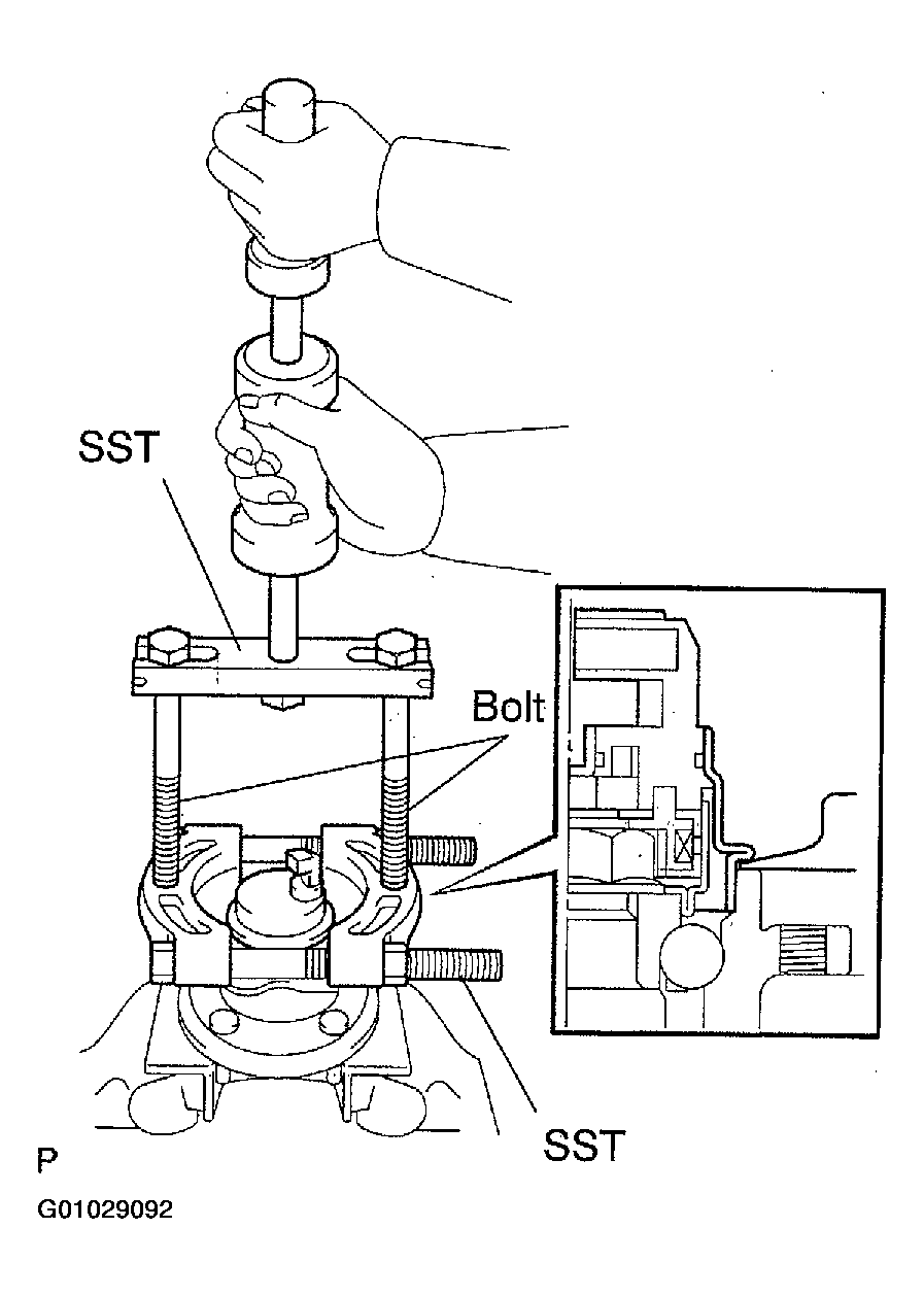
  6. REMOVE SKID CONTROL SENSOR FRONT 
    1. Mount the front axle hub sub-assy LH on a soft jaw vise.
      NOTE: Replace the hub & bearing assy if it is dropped or receives a strong shock.
    2. Using a pin punch and hammer, drive out the 2 pins and remove the 2 attachments from SST.
    3. Using SST and 2 bolts (Diameter: 12 mm, pitch: 1.5 mm), remove the skid control sensor from the hub & bearing assy.

      SST 09520-00031 (09520-00040), 09521-00020, 09950-00020

    NOTE:
    • If the sensor rotor is damaged, replace the axle hub sub-assy.
    • Do not scratch the contacting surface of the hub & bearing assy and the skid control sensor.
    Fig 2: Removing Skid Control Sensor From Hub & Bearing Assy
    G01029092Courtesy of © TOYOTA, LICENSE AGREEMENT TMS1002
  7. INSTALL SKID CONTROL SENSOR FRONT 
    1. Clean the contacting surface of the front axle hub and a new skid control sensor.
      NOTE: Make sure the sensor rotor is clean.
    2. Place the skid control sensor on the front axle hub so that the connector makes the lowest position under the on vehicle condition.
      Fig 3: Placing Skid Control Sensor On Front Axle Hub
      G01029093Courtesy of © TOYOTA, LICENSE AGREEMENT TMS1002
    3. Using SST and a press, install the skid control sensor onto the hub & bearing assy.

      SST 09214-76011

    NOTE:
    • Do not tap the skid control sensor directly with a hammer.
    • Check that the skid control sensor detection part is clean.
    • Press in the skid control sensor straight and slowly.
    Fig 4: Installing Skid Control Sensor Onto Hub & Bearing Assy
    G01029094Courtesy of © TOYOTA, LICENSE AGREEMENT TMS1002
  8. INSTALL FRONT AXLE HUB SUB-ASSY LH (see  YAWRATE SENSOR  ) 
  9. INSTALL FRONT DISC (SEE  FRONT BRAKE DISC  ) 
  10. INSTALL FRONT DISC BRAKE CALIPER ASSY LH (SEE  FRONT BRAKE CALIPER  ) 
  11. CONNECT SKID CONTROL SENSOR WIRE 
    1. Connect the skid control sensor connector.
      Fig 5: Connecting Skid Control Sensor Connector
      G01029095Courtesy of © TOYOTA, LICENSE AGREEMENT TMS1002
  12. INSTALL FRONT WHEEL 

    Torque: 103 N.m (1,050 kgf.cm, 76 ft.lbf) 

  13. INSPECT AND ADJUST FRONT WHEEL ALIGNMENT (SEE  FRONT WHEEL ALIGNMENT  ) 
  14. CHECK ABS SPEED SENSOR SIGNAL (SEE  TEST MODE PROCEDURE  )