LEMON Manuals: Even more car manuals for everyone
Home >> Lexus >> 2004 >> GX 470 >> Repair and Diagnosis >> Transmission >> Automatic Trans >> Servicing >> Torque Specifications

Torque Specifications

TORQUE SPECIFICATIONS

Application Ft. Lbs. (N.m)
Drain Plug 21 (28)
Overflow Plug 15 (20)
Refill Plug 29 (39)
INCH Lbs. (N.m) 
Oil Cooler Bolts 44 (5.0)
Oil Pan Bolts 39 (4.4)
Oil Strainer Bolts 88 (10)
Park Neutral Position Switch
Adjusting Bolt 115 (13)
Nut 62 (7)
Shift Cable Fastener 106 (12)
Shift Solenoid Valve Bolts (1)
Bolt S1 56 (6.4)
Bolts S2 88 (10)
SL1 & SLT Lock Plate Bolt 56 (6.4)
SL2 & SLU Lock Plate Bolt 56 (6.4)
SR Bolts 56 (6.4)
Speed Sensor Bolt 48 (5.4)
Transmission Wire
Bolt 48 (5.4)
Clamp Bolt "B" 97 (11)
Clamp Bolt "C" 88 (10)
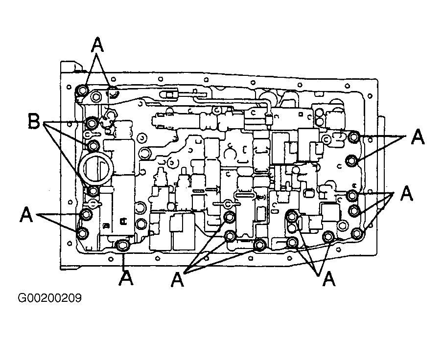
Valve Body (2)
Bolts "A"- 0.98 in. (25 mm) 97 (11)
Bolts "B"- 1.42 in. (36 mm) 97 (11)
(1) For Shift Solenoid Locations, see Figure.
(2) For Valve Body Bolt Locations, see Figure.