LEMON Manuals: Even more car manuals for everyone
Home >> Lexus >> 2004 >> ES 330 >> Repair and Diagnosis >> Engine Performance >> System >> Engine Control System - Diagnosis >> DTC P2118: Throttle Actuator Control Motor Current Range/Performance >> Circuit Description

Circuit Description

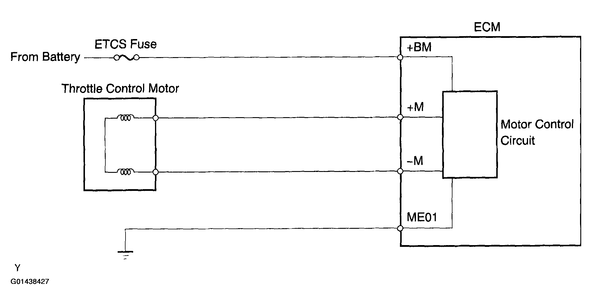
The Electronic Throttle Control System (ETCS) has a dedicated power supply circuit. The voltage (+BM) is monitored and when the voltage is low (less than 4V), the ECM concludes that the ETCS has a fault and current to the throttle control motor is cut.

When the voltage becomes unstable, the ETCS itself becomes unstable. For this reason, when the voltage is low, the current to the motor is cut. If repairs are made and the system has returned to normal, turn the ignition switch to OFF. The ECM then allows current to flow to the motor and the motor can be restarted.

HINT: This Electrical Throttle Control System (ETCS) does not use a throttle cable.

Fig 1: Throttle Actuator Control Motor Circuit Description Chart
G01438427Courtesy of © TOYOTA, LICENSE AGREEMENT TMS1002
Fig 2: DTC P2118 Diagnostic Chart
G01438428Courtesy of © TOYOTA, LICENSE AGREEMENT TMS1002