LEMON Manuals: Even more car manuals for everyone
Home >> Lexus >> 2003 >> SC 430 >> Repair and Diagnosis >> External Pages >> Different car >> Section 130 (Transfer Case System) >> Transfer Assembly >> Reassembly

Transfer Assembly: Reassembly

WARNING: This page is about a different car, the 2003 Lexus LX 470. However, it is still accessible from the selected car via links, so may be relevant.
  1. INSPECT SHIFT FORK No. 2 AND CLUTCH SLEEVE CLEARANCE 

    Using a feeler gauge, measure the clearance between the shift fork No. 2 and clutch sleeve.

    Standard clearance: 

    0.10 - 0.40 mm (0.0039 - 0.0157 in.) 

    Maximum clearance: 

    0.40 mm (0.0157 in.) 

    Fig 1: Measuring Clearance Between Shift Fork And Clutch Sleeve
    G01353676Courtesy of © TOYOTA, LICENSE AGREEMENT TMS1002
  2. INSTALL THE BEARING RACE (FOR THE OUTPUT SHAFT) 

    Using SST and a press, install the bearing race.

    SST 09316-60011 (09316-00011, 09316-00031), 09950-60020 (09951-00890)

    Fig 2: Installing Output Shaft Bearing Race
    G01353677Courtesy of © TOYOTA, LICENSE AGREEMENT TMS1002
  3. INSTALL THE BEARING RACE (FOR THE IDLER GEAR) 

    Using SST and a press, install the bearing race.

    SST 09316-60011 (09316-00011, 09316-00031), 09950-60020 (09951-00790)

    Fig 3: Installing Idler Gear Bearing Race
    G01353678Courtesy of © TOYOTA, LICENSE AGREEMENT TMS1002
  4. INSTALL OIL RECEIVER TO FRONT CASE 

    Install the oil receiver and bolt.

    Torque: 12 N.m (120 kgf.cm, 9 ft.lbf) 

    Fig 4: Installing Oil Receiver And Bolt
    G01353679Courtesy of © TOYOTA, LICENSE AGREEMENT TMS1002
  5. INSTALL SHIFT OUTER LEVER AND INNER LEVER 
    1. Install the shift inner lever, washer and outer lever to the front case.
    2. Using a pin punch, hammer and socket wrench, tap in the lever lock pin.
    3. Install the washer and nut to the shift outer lever.

    Torque: 12 N.m (120 kgf.cm, 9 ft.lbf) 

    Fig 5: Tapping In Lever Lock Pin
    G01353680Courtesy of © TOYOTA, LICENSE AGREEMENT TMS1002
  6. ASSEMBLE SHIFT FORK No. 1 AND SHIFT FORK No. 1 SHAFT 
    1. Assemble the shift fork No. 1 and shift fork No. 1 shaft.
    2. Using a pin punch and hammer, drive in the slotted spring pin.
      Fig 6: Driving In Slotted Spring Pin
      G01353681Courtesy of © TOYOTA, LICENSE AGREEMENT TMS1002
  7. INSTALL IDLER GEAR ASSEMBLY WITH CENTER DIFFERENTIAL ASSEMBLY, SHIFT FORK No. 1 AND SHIFT FORK No. 1 SHAFT TO FRONT CASE 
    NOTE: Set the shift inner lever into the fork head part of the shift fork No. 1 securely.
  8. INSTALL INPUT SHAFT ASSEMBLY 
  9. INSTALL 2 BEARING RACES TO REAR CASE 
    Fig 7: Installing Input Shaft Assembly
    G01353682Courtesy of © TOYOTA, LICENSE AGREEMENT TMS1002
  10. ASSEMBLY FRONT CASE AND REAR CASE 
    1. Apply FIPG to the front case.

      FIPG: 

      Part No. 08826-00090, THREE BOND 1281 or equivalent 

    2. Assemble the front case and rear case.
      Fig 8: Applying FIPG To Front Case
      G01353683Courtesy of © TOYOTA, LICENSE AGREEMENT TMS1002
    3. Apply liquid sealer to the "A" bolt threads.

      Sealant: 

      Part No. 08833-00080, THREE BOND 1344, LOCTITE 242 or equivalent 

    4. Install the 8 bolts.

      Torque: 37 N.m (380 kgf.cm, 27 ft.lbf) 

      Fig 9: Installing Bolts
      G01353684Courtesy of © TOYOTA, LICENSE AGREEMENT TMS1002
  11. ASSEMBLE FRONT CASE AND REAR CASE 

    Using a snap ring expander, install the snap ring to the rear case.

    Fig 10: Installing Snap Ring Using Snap Ring Expander
    G01353685Courtesy of © TOYOTA, LICENSE AGREEMENT TMS1002
  12. INSTALL CASE COVER 
    1. Apply FIPG to the rear case.

      FIPG: 

      Part No. 08826-00090, THREE BOND 1281 or equivalent 

    2. Install the case cover.
      Fig 11: Applying FIPG To Rear Case
      G01353686Courtesy of © TOYOTA, LICENSE AGREEMENT TMS1002
    3. Apply liquid sealer to the bolt threads.

      Sealant: 

      Part No. 08833-00080, THREE BOND 1344, LOCTITE 242 or equivalent 

    4. Install the 5 bolts.

      Torque: 37 N.m (380 kgf.cm, 27 ft.lbf) 

      Fig 12: Installing Bolts
      G01353687Courtesy of © TOYOTA, LICENSE AGREEMENT TMS1002
  13. INSTALL OIL STRAINER TO REAR CASE 

    Install the oil strainer and 2 bolts.

    Torque: 4.9 N.m (50 kgf.cm, 43 in.lbf) 

    Fig 13: Installing Oil Strainer To Rear Case
    G01353688Courtesy of © TOYOTA, LICENSE AGREEMENT TMS1002
  14. SELECT ADJUSTING SHIM FOR IDLER GEAR REAR TAPER ROLLER BEARING 
    1. Using vernier calipers, measure dimension "A".
    2. Lightly hole down the bearing outer race in the thrust direction to eliminate any looseness before making the measurement.
      Fig 14: Measuring Dimension A Using Vernier Calipers
      G01353689Courtesy of © TOYOTA, LICENSE AGREEMENT TMS1002
    3. Using a steel straight edge and feeler gauge, measure the clearance of dimension "B".
    4. Calculate the required thickness of the adjusting shim.

      Thickness: Dimension "A" + Dimension "B" + [0.022 - 0.049 mm, (0.0009 - 0.0019 In.)] 

      Fig 15: Measuring Clearance Of Dimension B Using Steel Straight Edge And Feeler Gauge
      G01353690Courtesy of © TOYOTA, LICENSE AGREEMENT TMS1002
    5. From the following table, select a shim so that its thickness is within the range of the calculation.
      Fig 16: Shim Specification Table
      G01353691Courtesy of © TOYOTA, LICENSE AGREEMENT TMS1002
  15. SELECT ADJUSTING SHIM FOR OUTPUT SHAFT TAPER ROLLER BEARING 
    1. Using a steel straight edge and feeler gauge, measure the clearance of dimension "C".
    2. Lightly hold down the bearing outer race in the thrust direction to eliminate any looseness before making the measurement.
      Fig 17: Measuring Clearance Of Dimension C
      G01353692Courtesy of © TOYOTA, LICENSE AGREEMENT TMS1002
    3. Using a steel straight edge and vernier calipers with depth gauge, measure dimension "D".
    4. Dimension "D" is the straight edge thickness (Dimension "F") subtracted from dimension "E" in the illustration to the left.

      Dimension "D": Dimension "E" - Dimension "F" 

      Fig 18: Measuring Clearance Of Dimension D, F And E Using Steel Straight Edge And Feeler Gauge
      G01353693Courtesy of © TOYOTA, LICENSE AGREEMENT TMS1002
    5. Using a steel straight edge and vernier calipers with depth gauge, measure dimension "G".
    6. Dimension "G" is the straight edge thickness (Dimension "F") subtracted from Dimension "H".

      Dimension "G": Dimension "H" - Dimension "F" 

    7. Calculate the required thickness of the adjusting shim.

      Thickness: Dimension "G" - (Dimension "D" - Dimension "C") + [0.014 ~ 0.039 mm, (0.0006 ~ 0.0015 in-)] 

      Fig 19: Measuring Clearance Of Dimension G Using Steel Straight Edge And Feeler Gauge
      G01353694Courtesy of © TOYOTA, LICENSE AGREEMENT TMS1002
    8. From the following table, select a shim so that its thickness is within the range of the calculation.
      Fig 20: Shim Specification Table
      G01353695Courtesy of © TOYOTA, LICENSE AGREEMENT TMS1002
  16. INSTALL REAR EXTENSION HOUSING 
    1. Apply FIPG to the rear extension housing.

      FIPG: 

      Part No. 08826-00090, THREE BOND 1281 or equivalent 

      Fig 21: Applying FIPG To Rear Extension Housing
      G01353696Courtesy of © TOYOTA, LICENSE AGREEMENT TMS1002
    2. Install the rear extension housing and 9 bolts.

      Torque: 37 N.m (380 kgf.cm, 27 ft.lbf) 

  17. ASSEMBLE SHIFT FORK No. 2 SHAFT AND SHIFT FORK No. 2 
    1. Install the shift fork No. 2 to the shift fork No. 2 shaft.
    2. Install the 3 snap rings to the shift fork No. 2 shaft.
      Fig 22: Installing Rear Extension Housing And 9 Bolts
      G01353697Courtesy of © TOYOTA, LICENSE AGREEMENT TMS1002
  18. INSTALL CLUTCH SLEEVE WITH SHIFT FORK No. 2 SHAFT AND SHIFT FORK No. 2 

    HINT:

    Make sure to install the clutch sleeve in the correct direction.

    Fig 23: Install Clutch Sleeve With Shift Fork No. 2 Shaft And Shift Fork No. 2
    G01353698Courtesy of © TOYOTA, LICENSE AGREEMENT TMS1002
  19. INSTALL FRONT EXTENSION HOUSING 
    1. Apply FIPG to the front extension housing.

      FIPG: 

      Part No. 08826-00090, THREE BOND 1281 or equivalent 

      Fig 24: Applying FIPG To Front Extension Housing
      G01353699Courtesy of © TOYOTA, LICENSE AGREEMENT TMS1002
    2. Install the front extension housing and 6 bolts.

      Torque: 37 N.m (380 kgf.cm, 27 ft.lbf) 

      HINT:

      Set the clutch sleeve in differential lock condition.

  20. INSTALL TRANSFER INDICATOR SWITCH 

    Install the 3 transfer indicator switches with 3 new gaskets.

    Torque: 37 N.m (380 kgf.cm, 27 ft.lbf) 

    Fig 25: Installing Front Extension Housing And Bolts
    G01353700Courtesy of © TOYOTA, LICENSE AGREEMENT TMS1002
  21. INSTALL BALL, SPRING AND SCREW 
    1. Install the ball and spring.
    2. Apply liquid sealer to the screw plug threads.

      Sealant: 

      Part No. 08833-00080, THREE BOND 1344, LOCTITE 242 or equivalent 

    3. Using a torx socket wrench (T40), install the screw plug.

      Torque: 19 N.m (190 kgf.cm, 14 ft.lbf) 

      Fig 26: Installing Ball, Spring & Screw
      G01353701Courtesy of © TOYOTA, LICENSE AGREEMENT TMS1002
  22. INSTALL OUTPUT GEAR TO FRONT CASE 

    HINT:

    Apply gear oil to the output gear.

    NOTE: Do not turn the output gear.
    Fig 27: Installing Output Gear To Front Case
    G01353702Courtesy of © TOYOTA, LICENSE AGREEMENT TMS1002
  23. INSTALL MOTOR ACTUATOR 
    1. Apply FIPG to the motor actuator.

      FIPG: 

      Part No. 08826-00090, THREE BOND 1281 or equivalent 

      Fig 28: Applying FIPG To Motor Actuator
      G01353703Courtesy of © TOYOTA, LICENSE AGREEMENT TMS1002

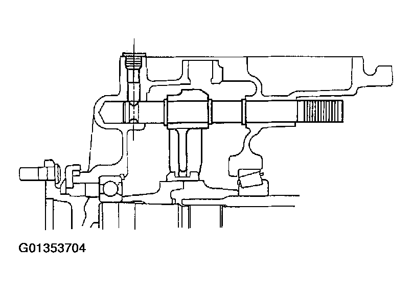
      HINT:

      Set the motor actuator in differential lock condition.

      Fig 29: Setting Motor Actuator In Differential Lock Condition
      G01353704Courtesy of © TOYOTA, LICENSE AGREEMENT TMS1002
    2. Install the motor actuator and 4 bolts.

      Torque: 18 N.m (185 kgf.cm, 13 ft.lbf) 

      Fig 30: Installing Motor Actuator And 4 Bolts.
      G01353705Courtesy of © TOYOTA, LICENSE AGREEMENT TMS1002
  24. INSTALL SPEED SENSOR DRIVE GEAR 

    Install the driven gear and bolt.

    Torque: 11 N.m (115 kgf.cm, 8 ft.lbf) 

  25. INSTALL BREATHER HOSE