LEMON Manuals: Even more car manuals for everyone
Home >> Lexus >> 2003 >> SC 430 >> Repair and Diagnosis >> Brakes >> Traction Control >> Anti-Lock Brake System >> System Testing >> Test K: VSC Sensor Signal Check >> Without Hand-Held Tester

Without Hand-Held Tester

  1. Turn the ignition switch OFF.
  2. Check that the shift lever is at "P" position and the steering wheel is straight ahead.
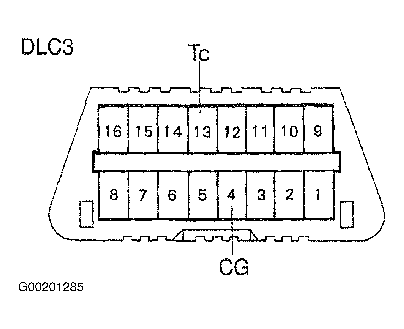
  3. Using Special Tool (09843-18040) connect terminals Ts and CG of DLC3. See Figure.
  4. Start the engine and the VSC warning light blinks. If the VSC warning light does not blink, check the VSC warning light circuit or Ts terminal circuit. See TEST I: TS TERMINAL CIRCUIT  and TEST L: VSC WARNING LIGHT CIRCUIT (DOES NOT LIGHT UP) .
  5. Keep the vehicle stationary on a level place for 1 second or more.
  6. Shift the shift lever to the "D" range and drive the vehicle at a speed of 3 mph (5 km/h). Turn the steering wheel either left or right for 90 degrees or more and turn 180 degrees. Do not spin the wheels. Stop the vehicle within 175-185 degrees of its start position.
  7. Shift the shift lever to "P" position. Check that the skid control buzzer sounds for 3 seconds. If the skid control buzzer sounds, the sensor is normal. If the sensor does not sound, check the skid control buzzer circuit, then do the sensor check again. See TEST G: SKID CONTROL BUZZER CIRCUIT .
  8. If the skid control buzzer still does not sound, there is a malfunction in the VSC sensor.
  9. Using Special Tool (09843-18040), connect terminals Tc and CG of DLC3. See Figure.
  10. Read the number of VSC warning light on combination meter. See DIAGNOSTIC TROUBLE CODE DEFINITIONS  under SELF-DIAGNOSTIC SYSTEM. If 2 or more malfunctions are detected at the same time, the lowest number will be displayed first.
  11. Disconnect the special tools and turn off the ignition switch.