LEMON Manuals: Even more car manuals for everyone
Home >> Lexus >> 2003 >> LS 430 >> Repair and Diagnosis >> Engine Performance >> System >> Engine Controls - Self-Diagnostics >> Diagnostic Tests >> DTC P0441: Incorrect EVAP Purge Flow Or DTC P0446: EVAP System Vent Control Fault >> Diagnosis & Repair (Using OBD-II Scan Tool)

Diagnosis & Repair (Using OBD-II Scan Tool)

  1. Check for cracks, deformations or loose connections in following:
    • Fuel tank.
    • Charcoal canister.
    • Fuel tank filler pipe.
    • Hose and tubes around fuel tank and charcoal canister.

    Repair as necessary. If components are okay, go to next step.

  2. Check if fuel tank cap is an original manufacturer's cap. If fuel tank cap is an original manufacturer's cap, go to next step. If fuel tank cap is not an original manufacturer cap, replace cap with a manufacturer's cap.
  3. Check if fuel cap is installed properly. Reinstall cap as necessary. If fuel cap is installed properly, go to next step.
  4. Check filler neck for damage. Replace as necessary. If okay, go to next step.
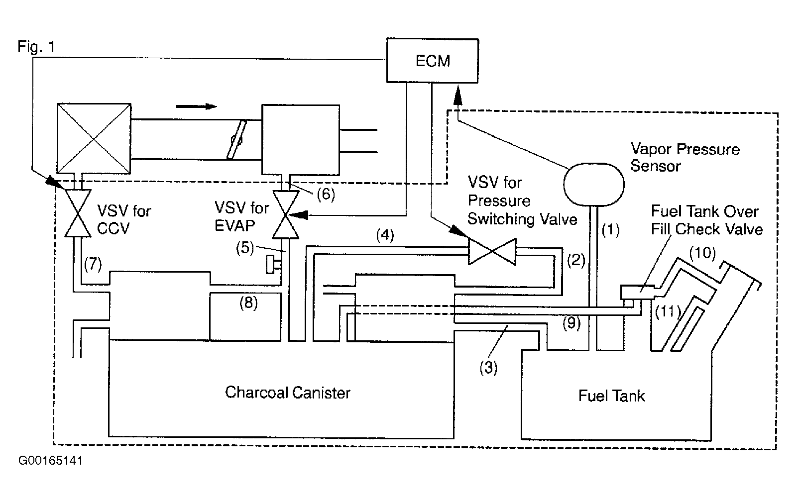
  5. Check whether hose close to fuel tank has been modified, and check whether there are signs of any accident near fuel tank or charcoal canister. See Figure. Repair as necessary. If okay, go to next step.
  6. Check vacuum hoses between vapor pressure sensor and fuel tank, and between pressure switching valve VSV and charcoal canister. Check hoses for correct installation, looseness and damage. Repair as necessary. If vacuum hoses are okay, go to next step.
  7. Check hose and tube between fuel tank and charcoal canister for correct installation and damage. Repair as necessary. If hose and tube are okay, go to next step.
  8. Check EVAP VSV, canister closed valve VSV, pressure switching valve VSV and vapor pressure sensor wiring harness connectors for damaged pins, corrosion and loose wires. Repair as necessary. If connectors are okay, go to next step. For component locations, see appropriate illustration in THEORY & OPERATION article.
  9. Check EVAP related vacuum hoses 8, 9, 10 and 11 between fuel tank and charcoal canister, and between fuel tank and fuel tank overfill check valve for damage, blockage, looseness and correct routing. See Figure. Repair as necessary. If vacuum hoses are okay, go to next step. For proper vacuum hose routing, see appropriate illustration in VACUUM DIAGRAMS article.
  10. Remove the engine room ECU cover. Turn ignition switch ON. Measure the voltage between terminals VPTK and EPTK of the ECM connector. See Figure. If voltage is 4.5-5.5 volts, go to next step. If voltage is not 4.5-5.5 volts, replace ECM and retest system.
    NOTE: DO NOT apply more than 19.7 in. Hg of vacuum to vapor pressure sensor.
  11. Backprobing ECM harness connector, measure the voltage between terminals PTNK and EPTK of ECM connectors. See Figure. Disconnect the vacuum hose from the vapor pressure sensor. Using the MITYVAC (hand-held vacuum pump), apply a vacuum of 1.18 in. Hg (30 mm Hg) to the vapor pressure sensor. If voltage is 2.9-3.7 volts without vacuum applied, and .5 volt or less with vacuum applied, go to step  13. If voltage is not as specified, go to next step.
  12. Check for an open or short circuit in wiring harness and connector between vapor pressure sensor and ECM. See ENGINE PERFORMANCE in SYSTEM WIRING DIAGRAMS article in ELECTRICAL. Repair as necessary. If wiring harness and connector are okay, replace vapor pressure sensor and retest.
  13. Remove the engine room ECU cover. Turn the ignition switch ON. Check the VSV function. Connect jumper wire between terminal PRG of the ECM connector and body ground (ON). Disconnect jumper wire between terminal PRG of the ECM connector and body ground (OFF). When VSV is ON, air from port "E" flows out through port "F", When VSV is OFF, air does not flow from port "E" to port "F". See Fig 1. If okay, go to step  16. If not okay, go to next step.
    Fig 1: Checking VSV For EVAP
    G00165149Courtesy of © TOYOTA, LICENSE AGREEMENT TMS1002
  14. Remove EVAP VSV. Using ohmmeter, measure resistance between VSV terminals. With VSV temperature at 68°F (20°C), resistance should be 30-34 ohms. Measure resistance between each terminal and body of valve. Resistance should be infinite. If resistance is as specified, using fused jumper wires, apply battery voltage and ground to EVAP VSV terminals. Apply compressed air to EVAP VSV port "E". Air should flow from port "F". See Fig 2. Disconnect fused jumper wires. Air should not flow from port "F". If EVAP VSV does not operate as specified, or if resistance was not as specified, replace EVAP VSV and charcoal canister. After replacing components, clean vacuum hoses between EVAP VSV and throttle body, and between EVAP VSV and charcoal canister. If EVAP VSV operates as specified, go to next step.
    Fig 2: Testing EVAP VSV
    G00024254Courtesy of © TOYOTA, LICENSE AGREEMENT TMS1002
  15. Check for open or short circuit in wiring harness and connector between EFI main relay, EVAP VSV and ECM. See ENGINE PERFORMANCE in SYSTEM WIRING DIAGRAMS article in ELECTRICAL. Repair as necessary. If wiring harness is okay, replace ECM and retest.
  16. Check VSV function by connecting a jumper wire between terminal CCV of the ECM connector and body ground (ON), then disconnect jumper wire between terminal CCV of the ECM connector and body ground (OFF). When VSV is ON, air does not flow from port "E" to port "F". When VSV is OFF, air from port "E" flows out through port "F". See Fig 3. If okay, go to step  19. IF not okay, go to next step.
    Fig 3: Checking VSV For CCV
    G00165150Courtesy of © TOYOTA, LICENSE AGREEMENT TMS1002
  17. Check canister closed valve VSV. Using ohmmeter, measure resistance between VSV terminals. With VSV temperature at 68°F (20°C), resistance should be 25-30 ohms. Measure resistance between each terminal and body of valve. Resistance should be infinite. If resistance is as specified, apply air to EVAP VSV port "A". Air should flow from port "B". See Fig 4. Using fused jumper wires, apply battery voltage and ground to VSV terminals. No air should flow from port "B". If VSV does not operate as specified, or if resistance was not as specified, replace VSV. If VSV is okay, go to next step.
    Fig 4: Checking Canister Closed Valve VSV
    G00131765Courtesy of © TOYOTA, LICENSE AGREEMENT TMS1002
  18. Check for an open or short circuit in wiring harness between EFI main relay, canister closed valve VSV and ECM. See ENGINE PERFORMANCE in SYSTEM WIRING DIAGRAMS article in ELECTRICAL. Repair as necessary. If wiring is okay, replace ECM and retest system.
  19. Remove engine room ECM cover. Turn ignition on. Backprobing connector, connect a fused jumper wire between ground and terminal TBP of the ECM connector and body ground (ON), then disconnect wire between terminal TBP of the ECM connector and body ground (OFF). When VSV is ON, air from port "E" flows out through port "F". When VSV is off, air does not flow from port "E" to port "F". See Fig 5. If VSV functions as specified, go to step  22. If not, go to next step.
    Fig 5: Checking VSV For Pressure Switching Valve
    G00165151Courtesy of © TOYOTA, LICENSE AGREEMENT TMS1002
  20. Check operation of VSV for pressure switching valve. Using ohmmeter, measure resistance between VSV terminals. With VSV temperature at 68°F (20°C), resistance should be 37-44 ohms. Measure resistance between each terminal and body of valve. Resistance should be infinite. If resistance is as specified, apply air to EVAP VSV port "E". Air should not flow from port "F". Using fused jumper wires, apply battery voltage and ground to VSV terminals. Air should flow from port "F". See Fig 6. If VSV does not operate as specified, or if resistance was not as specified, replace pressure switching valve VSV and charcoal canister. Also clean vacuum hose between charcoal canister and pressure switching valve VSV, and between pressure switching valve VSV and fuel tank. If pressure switching valve VSV is okay, go to next step.
    Fig 6: Checking Pressure Switching Valve VSV
    G00131766Courtesy of © TOYOTA, LICENSE AGREEMENT TMS1002
  21. Check for an open or short in wiring harness between EFI main relay, pressure switching valve VSV and ECM. See ENGINE PERFORMANCE in SYSTEM WIRING DIAGRAMS article in ELECTRICAL. Repair as necessary. If wiring is okay, replace ECM and retest system.
  22. Charcoal canister or fuel tank overfill check valve may be defective. See Fig 7 and Fig 8 . Repair as necessary.
    Fig 7: Checking Fuel Cutoff Valve & Overfill Check Valve
    G00248904Courtesy of © TOYOTA, LICENSE AGREEMENT TMS1002
    Fig 8: Checking Charcoal Canister
    G00248903Courtesy of © TOYOTA, LICENSE AGREEMENT TMS1002