LEMON Manuals: Even more car manuals for everyone
Home >> Lexus >> 2003 >> GS 430 >> Repair and Diagnosis >> Transmission >> Transmission Control Systems >> Shift Locking System >> Inspection

Shift Locking System: Inspection

  1. INSPECT SHIFT LOCK CONTROL ECU 

    Using a voltmeter, measure the voltage at each terminal

    HINT:

    Do not disconnect ECU connector.

    Fig 1: Identifying Shift Lock Control ECU Connector Terminals
    G01343075Courtesy of © TOYOTA, LICENSE AGREEMENT TMS1002
    Fig 2: Shift Lock Control ECU Terminal Voltage Specifications
    G01343076Courtesy of © TOYOTA, LICENSE AGREEMENT TMS1002
  2. INSPECT KEY INTERLOCK SOLENOID 
    1. Disconnect the solenoid connector.
    2. Using an ohmmeter, measure the resistance between terminals 3 and 4.

      Standard resistance: 12-17 Ω 

      Fig 3: Measuring Key Interlock Solenoid Resistance
      G01343077Courtesy of © TOYOTA, LICENSE AGREEMENT TMS1002

      If the resistance value is not as specified, replace the solenoid.

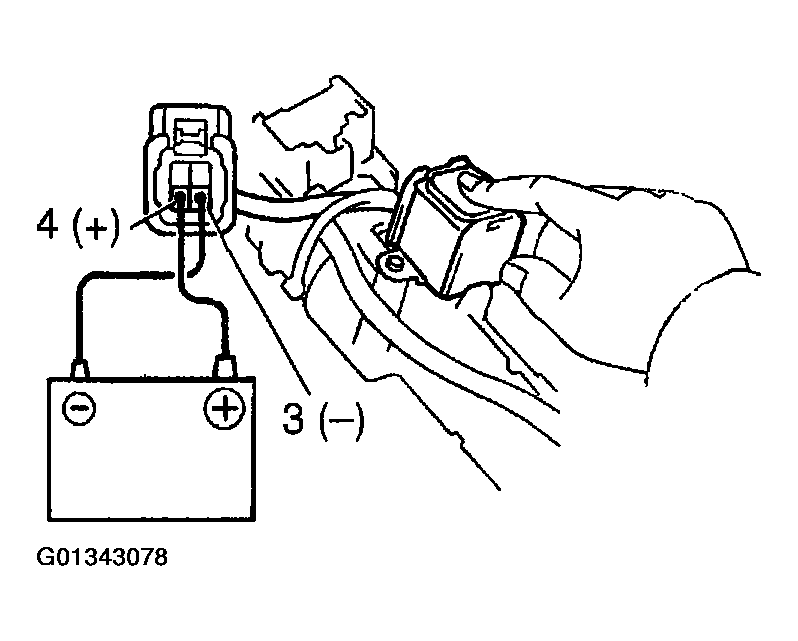
    3. Touch the solenoid with your finger and check that the solenoid operation can be felt when battery voltage is applied intermittently to terminals 3 and 4.

      If the operation is not as specified, replace the solenoid.

      Fig 4: Checking Key Interlock Solenoid Operation
      G01343078Courtesy of © TOYOTA, LICENSE AGREEMENT TMS1002