LEMON Manuals: Even more car manuals for everyone
Home >> Lexus >> 2003 >> GS 430 >> Repair and Diagnosis >> Body & Frame >> Windows >> Power Window Control System >> Inspection >> Inspect Power Main Relay Circuit

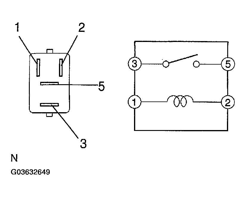
Inspect Power Main Relay Circuit

(See POWER SOURCE ).

Fig 1: Inspecting Power Main Relay Continuity
G03632649Courtesy of © TOYOTA, LICENSE AGREEMENT TMS1002