LEMON Manuals: Even more car manuals for everyone
Home >> Lexus >> 2002 >> ES 300 >> Repair and Diagnosis (Single Page) >> Brakes >> Traction Control >> Anti-Lock >> Diagnostic Trouble Code Definitions >> DTC C0279: Short Circuit In Abs Solenoid Relay Circuit & DTC C0278: Open Circuit In Abs Solenoid Relay Circuit >> Testing Procedure

Testing Procedure

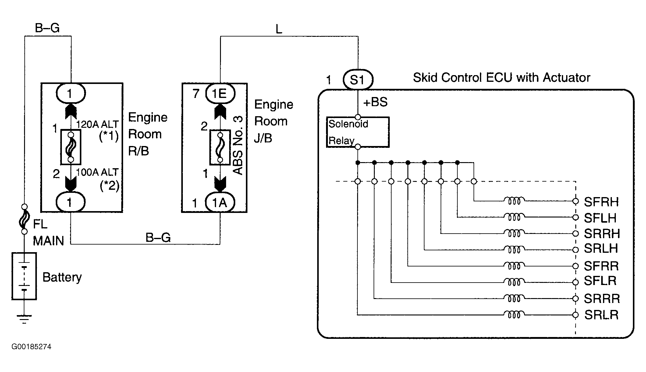
For wiring diagram, see Fig 1. For testing procedure, see Fig 2.

Fig 1: Wiring Diagram (ABS Solenoid Relay Circuit)
G00185274Courtesy of © TOYOTA, LICENSE AGREEMENT TMS1002
Fig 2: Testing Procedure (ABS Solenoid Relay Circuit)
G00185275Courtesy of © TOYOTA, LICENSE AGREEMENT TMS1002