LEMON Manuals: Even more car manuals for everyone
Home >> Lexus >> 2000 >> LX 470 >> Repair and Diagnosis >> Body & Frame >> Power Windows >> Circuit Tests >> Power Main Relay Circuit Test

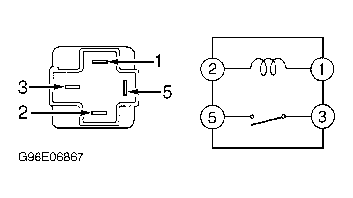
Power Main Relay Circuit Test

Remove power main relay. See COMPONENT LOCATIONS . Using an ohmmeter, check continuity between terminals No. 1 and 2. Continuity should exist. See Figure. Apply battery voltage to terminal No. 1 and ground terminal No. 2. Continuity should exist between terminals No. 3 and 5. If continuity is not as specified, replace power main relay.