LEMON Manuals: Even more car manuals for everyone
Home >> Lexus >> 1998 >> LS 400 >> Repair and Diagnosis >> Body & Frame >> Body, Cab Control Systems >> Body Control System >> Component Tests >> Headlight Relay

Headlight Relay

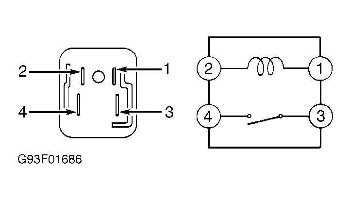
Remove headlight relay (located in junction block, on left side of engine compartment in front of shock tower). Using an ohmmeter, check continuity between relay terminals. Continuity should exist between terminals No. 1 and 2. See Fig 1. Continuity should not exist between terminals No. 3 and 4. Apply battery voltage and ground between terminals No. 1 and 2. Continuity should exist between terminals No. 3 and 4.

Fig 1: Identifying Headlight Relay Terminals
G93F01686Courtesy of © TOYOTA, LICENSE AGREEMENT TMS1002