LEMON Manuals: Even more car manuals for everyone
Home >> Lexus >> 1996 >> LS 400 >> Repair and Diagnosis (Single Page) >> Body & Frame >> Body, Cab Control Systems >> Multiplex Control System >> Testing >> Test No. 7, Front Passenger Door Lock Control Switch & Door Key Lock & Unlock Switch

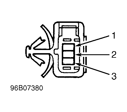
Test No. 7, Front Passenger Door Lock Control Switch & Door Key Lock & Unlock Switch

  1. Remove front passenger door lock control switch. Check for continuity between terminals No. 2 and 3. See Fig 1. Continuity should exist with switch in LOCK position. Check for continuity between terminals No. 1 and 2. Continuity should exist with switch in UNLOCK position. If continuity is as specified, go to next step. If continuity is not as specified, replace front passenger door lock control switch.
  2. Remove right front door panel to access front passenger door key lock and unlock switch 3-pin connector. Disconnect 3-pin connector. Check for continuity between terminals No. 1 and 2. See Figure. Continuity should exist with door key lock and unlock switch in LOCK position. Check for continuity between terminals No. 2 and 3. Continuity should exist with door key lock and unlock switch in LOCK position. If continuity is not as specified, replace door lock assembly. If continuity is as specified, repair or replace wiring and connectors between door key lock and unlock switch and front passenger's door ECU.
Fig 1: Front Passenger Door Lock Control Switch Terminal ID
G96H07383Courtesy of © TOYOTA, LICENSE AGREEMENT TMS1002