LEMON Manuals: Even more car manuals for everyone
Home >> Lexus >> 1992 >> SC 400 >> Repair and Diagnosis >> Body & Frame >> Power Windows >> Component Tests >> One Touch Power Window System/Current Of Circuit >> Using An Ammeter With A Current-Measuring Probe

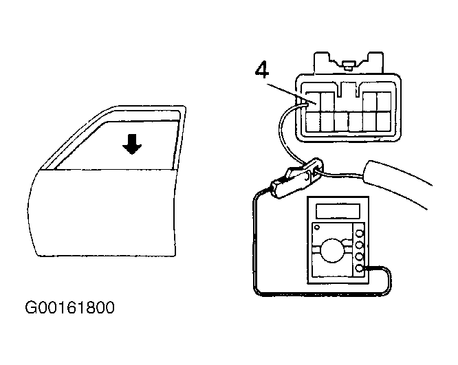
Using An Ammeter With A Current-Measuring Probe

  1. Remove the master switch with connector connected.
  2. Attach a current measuring probe to terminal 4 of the wire harness. See Fig 1.
  3. Turn the ignition switch ON and set the power window switch in the down position.
  4. As the window goes down, check that the current flow is approximately 7 amperes. See Fig 2.
    Fig 1: Testing Power Window System Using A Current Measuring Probe (1 Of 2)
    G00161800Courtesy of © TOYOTA, LICENSE AGREEMENT TMS1002
    Fig 2: Testing Power Window System Using A Current Measuring Probe (2 Of 2)
    G00161801Courtesy of © TOYOTA, LICENSE AGREEMENT TMS1002
  5. NOTE: The circuit breaker opens some 4-40 seconds after the window stops going down, so that a check must be made before the circuit breaker operates.
  6. Check that the current increases up to approximately 14.5 amperes or more when the window stops going down. If operation is not as specified, replace the master switch.