LEMON Manuals: Even more car manuals for everyone
Home >> Kia >> 2023 >> Forte GT, Standard Trans >> Repair and Diagnosis >> Engine Performance >> Engine Control Systems >> Engine Control/Fuel System - General Information - 1.6L >> Troubleshooting >> Basic Troubleshooting >> Connector Inspection Procedure

Connector Inspection Procedure

  1. Handling of Connector
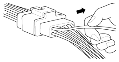
    1. Never pull on the wiring harness when disconnecting connectors.
      G14560784Courtesy of KIA MOTORS AMERICA, INC.
    2. When removing the connector with a lock, press or pull locking lever.
      G14560785Courtesy of KIA MOTORS AMERICA, INC.
    3. Listen for a click when locking connectors. This sound indicates that they are securely locked.
      G14560786Courtesy of KIA MOTORS AMERICA, INC.
    4. When a tester is used to check for continuity, or to measure voltage, always insert tester probe from wire harness side.
      G14560787Courtesy of KIA MOTORS AMERICA, INC.
    5. Check waterproof connector terminals from the connector side. Waterproof connectors cannot be accessed from harness side.
    G14560788Courtesy of KIA MOTORS AMERICA, INC.
    NOTE:
    • Use a fine wire to prevent damage to the terminal.
    • Do not damage the terminal when inserting the tester lead.
  2. Checking Point for Connector
    1. While the connector is connected:

      Hold the connector, check connecting condition and locking efficiency.

    2. When the connector is disconnected:

      Check missed terminal, crimped terminal or broken core wire by slightly pulling the wire harness. Visually check for rust, contamination, deformation and bend.

    3. Check terminal tightening condition:

      Insert a spare male terminal into a female terminal, and then check terminal tightening conditions.

    4. Pull lightly on individual wires to ensure that each wire is secured in the terminal.
    G14560789Courtesy of KIA MOTORS AMERICA, INC.
  3. Repair Method of Connector Terminal
    1. Clean the contact points using air gun and/or shop rag.
      NOTE: Never use sand paper when polishing the contact points, otherwise the contact point may be damaged.
    2. In case of abnormal contact pressure, replace the female terminal.