LEMON Manuals: Even more car manuals for everyone
Home >> Kia >> 2021 >> Forte GT, Standard Trans >> Repair and Diagnosis >> Engine Performance >> Engine Control Systems >> Engine Control System - 1.6L >> Knock Sensor (KS) >> Schematic Diagrams >> Circuit Diagram

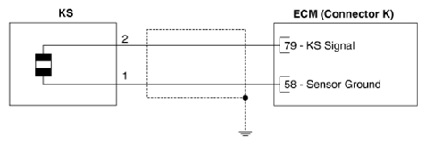
Circuit Diagram

G13303819Courtesy of KIA MOTORS AMERICA, INC.

Harness Connector 

G13303820Courtesy of KIA MOTORS AMERICA, INC.