LEMON Manuals: Even more car manuals for everyone
Home >> Kia >> 2021 >> Forte GT, Standard Trans >> Repair and Diagnosis >> Engine Performance >> Engine Control Systems >> Engine Control System - 1.6L >> Injector >> Repair Procedures >> Removal

Repair Procedures: Removal

WARNING: In case of removing the high pressure fuel pump, high pressure fuel pipe, delivery pipe, and injector, there may be injury caused by leakage of the high pressure fuel. So don't do any repair work right after engine stops.
  1. Turn the ignition switch OFF and disconnect the battery negative (-) terminal.
  2. Release the residual pressure in fuel line.

    (Refer to Fuel Delivery System - "RELEASE RESIDUAL PRESSURE IN FUEL LINE ")

  3. Remove the delivery pipe & injector assembly.

    (Refer to Fuel Delivery System - "DELIVERY PIPE ").

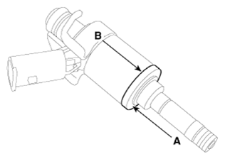
  4. Remove the connector (A) and the fixing clip (B), and then separate the injector from the delivery pipe.
    G13303849Courtesy of KIA MOTORS AMERICA, INC.

Installation 

G13303850Courtesy of KIA MOTORS AMERICA, INC.
CAUTION:
  • Do not reuse the used injector fixing clip.
  • Install the component with the specified torques.
  • Note that internal damage may occur when the component is dropped. If the component has been dropped, inspect before installing.
  • Apply engine oil to the injector O-ring.
  • Do not reuse the used injector O-ring.
  • Do not reuse the used bolt.
  • When inserting the injector, be careful not to damage the injector tip.
  • Do not reuse the high pressure fuel pipe.
CAUTION:
  • Do not reuse the support disc.
  • Do not reuse the injector rubber washer.
  • When replacing the rubber washer, the steal plate (A) part should be faced the cylinder installation part and the rubber plate (B) part should be faced the injector body part.
G13303851Courtesy of KIA MOTORS AMERICA, INC.
CAUTION:
  • Do not reuse the combustion seal.
  1. Installation is reverse of removal.