LEMON Manuals: Even more car manuals for everyone
Home >> Kia >> 2017 >> Soul Base, Standard Trans >> Repair and Diagnosis >> Transmission >> Transmission Control Systems >> Manual Transaxle Control System - 1.6L (M6CF1) >> Control Cable >> Repair Procedures >> Removal

Repair Procedures: Removal

  1. Shift lever to "4rd" gear position.
  2. Rotating counter-clockwise shift lever knob (A).
    Fig 1: Rotating Shift Lever Knob Counter-Clockwise
    G12227463Courtesy of KIA MOTORS AMERICA, INC.
  3. Remove the floor console assembly.

    (Refer to Body - "FLOOR CONSOLE ")

  4. Remove the rear heating joint duct (A).
    Fig 2: Locating Rear Heating Joint Duct
    G12227464Courtesy of KIA MOTORS AMERICA, INC.
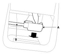
  5. Remove the bracket (A).
    Fig 3: Locating Bracket
    G12227465Courtesy of KIA MOTORS AMERICA, INC.
  6. Remove the select cable (B) after removing the snap pin (A).
  7. Remove the cable socket (C) from lever assembly after pulling in the direction of the arrow.
    Fig 4: Removing Cable Socket From Lever Assembly
    G12227466Courtesy of KIA MOTORS AMERICA, INC.
  8. Remove the shift cable (B) after removing the clip (A).
    Fig 5: Removing Shift Cable Clip
    G12227467Courtesy of KIA MOTORS AMERICA, INC.
  9. Remove the cable socket (A) from lever assembly after pulling in the direction of the arrow.
    Fig 6: Removing Cable Socket From Lever Assembly
    G12227468Courtesy of KIA MOTORS AMERICA, INC.
  10. Remove the retainer (A) after loosen the nut (B).
    Fig 7: Locating Retainer And Nut
    G12227469Courtesy of KIA MOTORS AMERICA, INC.
  11. Remove the air cleaner assembly.

    (Refer to Engine Mechanical System - "AIR CLEANER ")

  12. Remove the battery and battery tray.

    (Refer to Engine Electrical System - "BATTERY ")

  13. Remove the shift & select cable.
    1. Remove the pin (A) and washer (B).
    2. Make unlock clip (C) and then remove the shift & select cable and the clip (C) from the bracket.
      Fig 8: Locating Pin, Washer And Clip
      G12227470Courtesy of KIA MOTORS AMERICA, INC.