LEMON Manuals: Even more car manuals for everyone
Home >> Kia >> 2017 >> Soul Base, Standard Trans >> Repair and Diagnosis >> Transmission >> Transmission Control Systems >> Manual Transaxle Control System - 1.6L (M6CF1) >> Control Cable >> Repair Procedures >> Installation

Repair Procedures: Installation

NOTE: When installing, set room side shift lever and T/M side lever to "4rd" gear position.
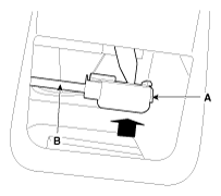
  1. Tighten the nut (B) after install the retainer (A).

    Tightening torque  :

    11.8 ~ 14.7 N.m (1.2 ~ 1.5 kgf.m, 8.7 ~ 10.8 lb-ft)

    Fig 1: Locating Retainer And Nut
    G12227471Courtesy of KIA MOTORS AMERICA, INC.
  2. Check the Shift lever is in "4rd" gear position.
  3. Install the cable socket (A) on the shift lever assembly.
    Fig 2: Installing Cable Socket On Shift Lever Assembly
    G12227472Courtesy of KIA MOTORS AMERICA, INC.
  4. Install the shift cable (B) after installing the clip (A).
    Fig 3: Installing Shift Cable
    G12227473Courtesy of KIA MOTORS AMERICA, INC.
  5. Install the select cable socket (C) on the shift lever assembly.
  6. Install the clip (A) after installing the select cable (B).
    Fig 4: Installing Select Cable Socket On Shift Lever Assembly
    G12227474Courtesy of KIA MOTORS AMERICA, INC.
  7. Install the bracket (A).
    Fig 5: Locating Bracket
    G12227475Courtesy of KIA MOTORS AMERICA, INC.
  8. Install the rear heating joint duct (A).
  9. Install the floor console assembly.

    (Refer to Body - "FLOOR CONSOLE ")

  10. Rotating clockwise shift lever knob (A).
    Fig 6: Rotating Shift Lever Knob Clockwise
    G12227476Courtesy of KIA MOTORS AMERICA, INC.
  11. Install the control cable (B) and clip (A) on the bracket.
    NOTE: Do not reuse the clip (A).
    Fig 7: Locating Control Cable And Clip
    G12227477Courtesy of KIA MOTORS AMERICA, INC.
  12. Install the control cable
    1. Install the control cable (A) in transaxle lever pin.
      Fig 8: Locating Control Cable
      G12227478Courtesy of KIA MOTORS AMERICA, INC.
    2. Ensure to press adjust locking button in direction of "C".
      Fig 9: Pressing Adjust Locking Button
      G12227479Courtesy of KIA MOTORS AMERICA, INC.
    3. Install the washer (A) and pin (B).
      Fig 10: Locating Washer And Pin
      G12227480Courtesy of KIA MOTORS AMERICA, INC.
  13. Install the battery and battery tray.

    (Refer to Engine Electrical System - "BATTERY ")

  14. Install the air cleaner assembly.

    (Refer to Engine Mechanical System - "AIR CLEANER ")