LEMON Manuals: Even more car manuals for everyone
Home >> Kia >> 2017 >> Soul ! >> Repair and Diagnosis (Single Page) >> Transmission >> Automatic Trans >> Dual Clutch Transmission Control System - 1.6L T >> DCT Control Module (TCM) >> Schematic Diagrams >> Circuit Diagram

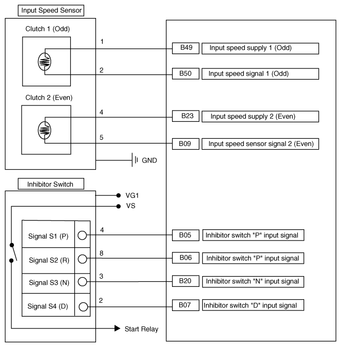
Circuit Diagram

Fig 1: DCT Control Module Circuit Diagram (1 Of 2)
G12238780Courtesy of KIA MOTORS AMERICA, INC.
Fig 2: DCT Control Module Circuit Diagram (2 Of 2)
G12238781Courtesy of KIA MOTORS AMERICA, INC.