LEMON Manuals: Even more car manuals for everyone
Home >> Kia >> 2017 >> Rio SX >> Repair and Diagnosis >> Engine Performance >> Engine Control Systems >> Engine Control/Fuel System - General Information >> Troubleshooting >> Basic Troubleshooting >> Connector Inspection Procedure

Connector Inspection Procedure

  1. Handling of Connector
    1. Never pull on the wiring harness when disconnecting connectors.
      Fig 1: Caution For Handling Of Connector
      G11845064Courtesy of KIA MOTORS AMERICA, INC.
    2. When removing the connector with a lock, press or pull locking lever.
      Fig 2: Pressing Connector Locking Lever
      G11845065Courtesy of KIA MOTORS AMERICA, INC.
    3. Listen for a click when locking connectors. This sound indicates that they are securely locked.
      Fig 3: Locking Connectors
      G11845066Courtesy of KIA MOTORS AMERICA, INC.
    4. When a tester is used to check for continuity, or to measure voltage, always insert tester probe from wire harness side.
      Fig 4: Caution For Using Tester For Continuity
      G11845067Courtesy of KIA MOTORS AMERICA, INC.
    5. Check waterproof connector terminals from the connector side. Waterproof connectors cannot be accessed from harness side.
    Fig 5: Caution For Checking Waterproof Connector Terminals
    G11845068Courtesy of KIA MOTORS AMERICA, INC.
    NOTE:
    • Use a fine wire to prevent damage to the terminal.
    • Do not damage the terminal when inserting the tester lead.
  2. Checking Point for Connector
    1. While the connector is connected:

      Hold the connector, check connecting condition and locking efficiency.

    2. When the connector is disconnected:

      Check missed terminal, crimped terminal or broken core wire by slightly pulling the wire harness.

      Visually check for rust, contamination, deformation and bend.

    3. Check terminal tightening condition:

      Insert a spare male terminal into a female terminal, and then check terminal tightening conditions.

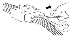
    4. Pull lightly on individual wires to ensure that each wire is secured in the terminal.
    Fig 6: Pulling Lightly On Individual Wires
    G11845069Courtesy of KIA MOTORS AMERICA, INC.
  3. Repair Method of Connector Terminal
    1. Clean the contact points using air gun and/or shop rag.
      NOTE: Never use sand paper when polishing the contact points, otherwise the contact point may be damaged.
    2. In case of abnormal contact pressure, replace the female terminal.