LEMON Manuals: Even more car manuals for everyone
Home >> Kia >> 2017 >> Forte5 SX, Standard Trans >> Repair and Diagnosis >> External Pages >> Different car >> Section 150 (Body Control Module Diagnosis) >> DTC B1609-00: CAN Time-Out SJB, FSJB >> General Description >> General Description

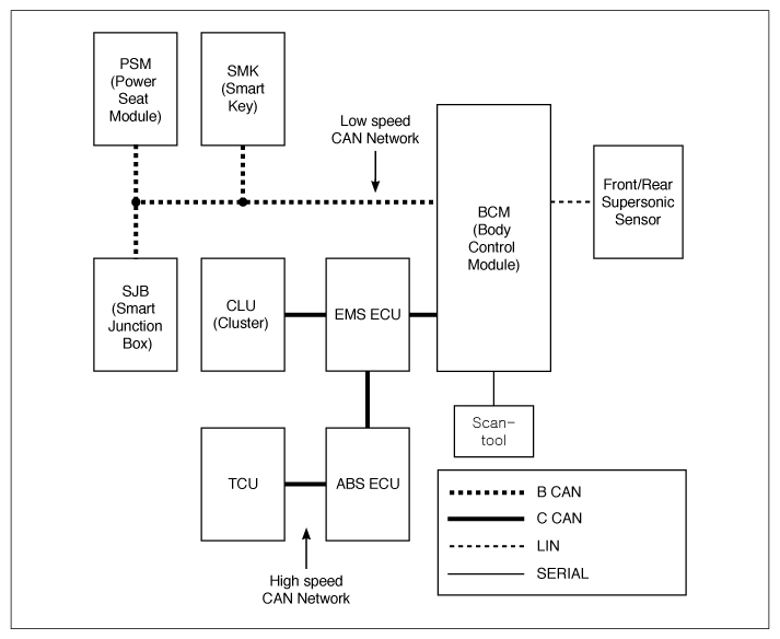
DTC B1609-00: CAN Time-Out SJB, FSJB: General Description: General Description

WARNING: This page is about a different car, the 2018 Kia Forte5 and 2018 Kia Forte. However, it is still accessible from the selected car via links, so may be relevant.

This is DTC which is related with communication error between BCM and other units.

* Body CAN Communication Control Units: BCM (Body Control Module), CLU (Cluster), PDM (Power Distribution Module), SMK (Smart Key), SJB (Smart Junction Box).

*1 CAN (Controller Area Network): CAN is serial bus communication type which links not only communication system but also control units each other.

Fig 1: BCM And SJB CAN Communication Diagram
G12160143Courtesy of KIA MOTORS AMERICA, INC.