LEMON Manuals: Even more car manuals for everyone
Home >> Kia >> 2017 >> Cadenza Technology >> Repair and Diagnosis (Single Page) >> Engine Performance >> System >> Engine Control System Diagnosis (5 Of 6) >> DTC P0610-00: Control Module Vehicle Option Error >> Wiring Inspection >> Terminal and Connector Inspection

Terminal and Connector Inspection

  1. Many malfunctions in the electrical system are caused by poor connection. Faults can also be caused by interference from other electrical systems, and mechanical or chemical damage.
  2. Thoroughly check connectors for looseness, poor connection, bending, corrosion, contamination, deterioration, or damage.
  3. Has a problem been found?
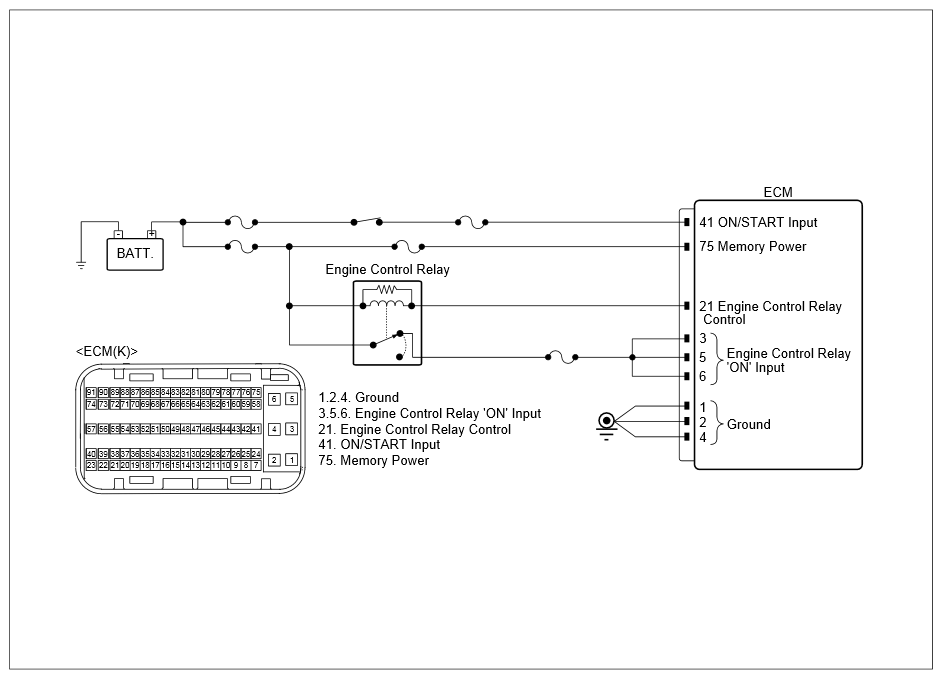
    Fig 1: Engine Control Module Circuit Diagram
    G12283681Courtesy of KIA MOTORS AMERICA, INC.

    YES 

    NO 

    • Carefully re-do this troubleshooting guide steps.
    • If no problems were found with the circuits or connectors, replace the ECM and go to "VERIFICATION OF REPAIR " procedure.